凌阳8202RQ方案(SPHE8202RQ)DVD电路原理图

分类:电子电工 日期: 点击:0
凌阳8202RQ方案(SPHE8202RQ)DVD电路原理图-0 凌阳8202RQ方案(SPHE8202RQ)DVD电路原理图-1 凌阳8202RQ方案(SPHE8202RQ)DVD电路原理图-2 凌阳8202RQ方案(SPHE8202RQ)DVD电路原理图-3 凌阳8202RQ方案(SPHE8202RQ)DVD电路原理图-4 凌阳8202RQ方案(SPHE8202RQ)DVD电路原理图-5 凌阳8202RQ方案(SPHE8202RQ)DVD电路原理图-6 凌阳8202RQ方案(SPHE8202RQ)DVD电路原理图-7 凌阳8202RQ方案(SPHE8202RQ)DVD电路原理图-8 凌阳8202RQ方案(SPHE8202RQ)DVD电路原理图-9

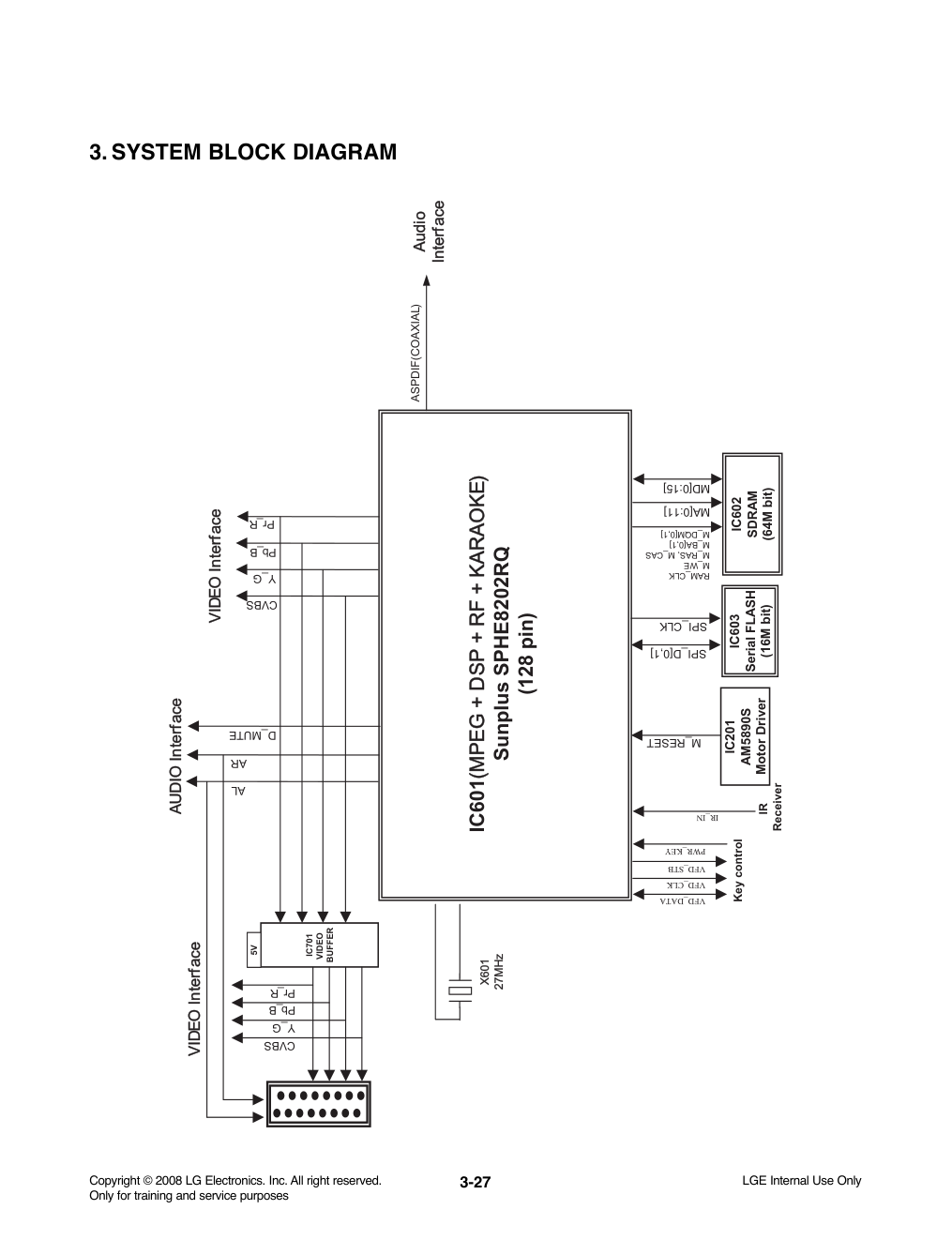
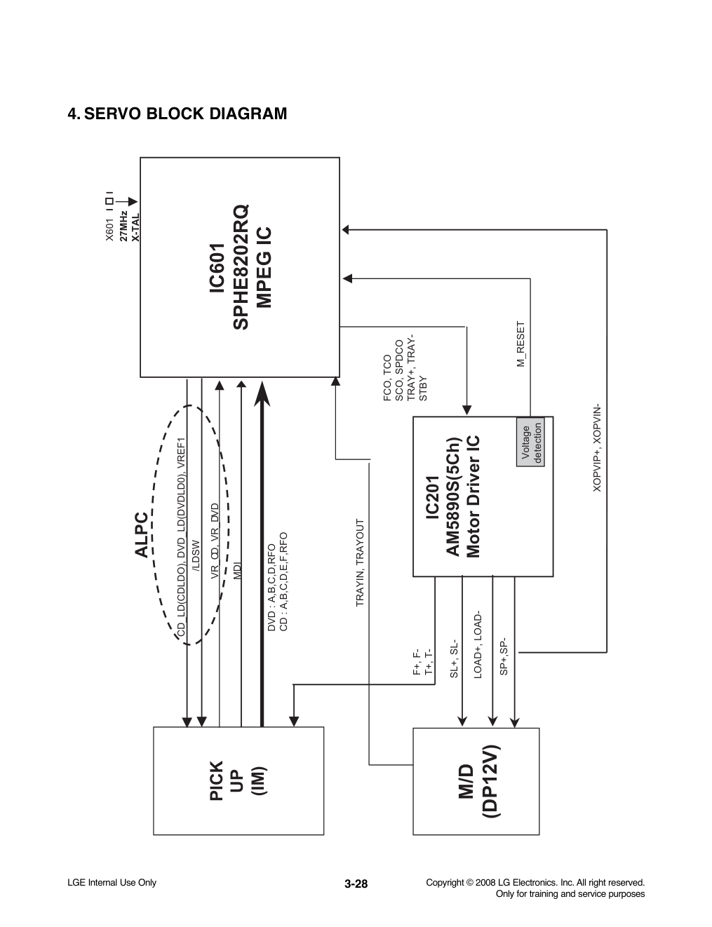
3-25 Copyright © 2008 LG Electronics. Inc. All right reserved. Only for training and service purposes LGE Internal Use Only BLOCK DIAGRAMS 1. OVERALL BLOCK DIAGRAM SP[+,-] IC601 Sunplus SPHE8202RQ M M DISC SPINDLE MOTOR LOADING MOTOR DECK MECHANISM DVD : A,B,C,D,RFO CD : A,B,C,D,E,F,RFO PICK UP IC603 Serial FLASH Dual I/O (16Mbit) MD[0:15] CVBS LOAD[+,-] F[+,-] T[+,-] SLED (FEEDING) MOTOR SL[+,-] M 3.3VA 3.3VA ASPDIF COAXIAL CDLDO,DVDLDO,VREF1 5VA(M) TRAYOUT, TRAYIN IC602 64Mbit SDRAM 3.3VA FCO, TCO, SCO, SPDCO XOPVIP, XOPVIN IC201 AM5890S Motor Drive STBY, TRAY+, TRAY-, VREF2 Pick-up 5VA(M) 3.3VA POWER BOARD PWR_CTL 5V 12V AC 90V~240V 50HZ/60Hz M_RESET 1.8VA IR Receiver 27MHz 12V IC702 OP-AMP 1.8VA RF + DSP + Karaoke + MPEG IC MDI AL IC201 IC201 AR DP12V DP12V 3.3V Voltage detection KARAOKE JACK CN603 Key control PWR_KEY S-VIDEO OPTION 12V IC701 VIDEO BUFFER 5V Y_G Pb_B Pr_R SCART OPTION VFD_CLK VFD_STB VFD_DATA RGB_SEL SCART_SW(16:9) MIC_DET AKIN SPI_D1 SPI_CE, SPI_CLK SPI_D0 MA[0:11] RAM_CLK, M_WE M_RAS, M_CAS M_BA[0,1] M_DQM[0,1] DOWNLOAD CN605 UART_TXD UART_RXD OPTION IR_IN • D_MUTE • 3-26 Copyright © 2008 LG Electronics. Inc. All right reserved. Only for training and service purposes LGE Internal Use Only 2. POWER (SMPS) BLOCK DIAGRAM 3.3V SWITCHING IC TRANS FEED B. 3.3VA RECTIFIER(5.6V) LPF RECTIFIER(14V) LPF 12V PWR CTL 5V 5.6VA(M) RECTIFIER(3.3V) LPF AC100~240V RECTIFIER MPEG, SDRAM Remocon Receiver Flash Memory Motor Drive IC 1.8V Video Buffer IC LED Clock Driver Servo block OP AMP Servo block KARAOKE 3-27 Copyright © 2008 LG Electronics. Inc. All right reserved. Only for training and service purposes LGE Internal Use Only 3. SYSTEM BLOCK DIAGRAM IC603 Serial FLASH (16M bit) IC601(M (MPEG + D PEG + DSP + RF + KARAO SP + RF + KARAOKE KE) ) Sunplus SPHE8202RQ (128 pin) ASPDIF(COAXIAL) VID VIDEO In O Interf terface ace Audi Audio In Interf terface ace X601 X601 27M 27MHz Hz IC602 SDRAM (64M bit) IC201 AM5890S Motor Driver M_RESET AL AR D_MUTE AUDIO In O Interf terface ace CVBS Y_G Pb_B Pr_R SPI_CLK IC701 VIDEO BUFFER 5V VID VIDEO In O Interf terface ace CVBS Pb_B Pr_R Y_G SPI_D[0,1] MD[0:15] MA[0:11] RAM_CLK M_WE M_RAS, M_CAS M_BA[0,1] M_DQM[0,1] IR Receiver Key control PWR_KEY VFD_CLK VFD_STB VFD_DATA IR_IN 3-28 Copyright © 2008 LG Electronics. Inc. All right reserved. Only for training and service purposes LGE Internal Use Only 4. SERVO BLOCK DIAGRAM IC201 AM5890S(5Ch) Motor Driver IC DVD : A,B,C,D,RFO CD : A,B,C,D,E,F,RFO SP+,SP- M/D (DP12V) PICK UP (IM) X601 IC601 SPHE8202RQ MPEG IC FCO, TCO SCO, SPDCO TRAY+, TRAY- STBY F+, F- T+, T- LOAD+, LOAD- 27MHz X-TAL CD_LD(CDLDO), DVD_LD(DVDLD0), VREF1 /LDSW TRAYIN, TRAYOUT ALPC SL+, SL- MDI XOPVIP+, XOPVIN- M_RESET Voltage detection VR_CD, VR_DVD 3-29 Copyright © 2008 LG Electronics. Inc. All right reserved. Only for training and service purposes LGE Internal Use Only 5. VIDEO BLOCK DIAGRAM Mpeg IC Sunplus SPHE8202RQ IC601 V.OUT Pr Y_G Pb_B Y_G Pb_B Pr_R CVBS SCART_SW(16:9) CVBS Pb Pb Y RGB_SEL Pr _R IC701 MM1692 Option 1uH 1uH 1uH RGB_SEL SCART_SW(16:9) 1uH 75 75 75 75 3-30 Copyright © 2008 LG Electronics. Inc. All right reserved. Only for training and service purposes LGE Internal Use Only 6. AUDIO BLOCK DIAGRAM AL AR MPEG Sunplus SPHE8202RQ IC601 MUTEC S/W D_MUTE Serial Stereo Digital Out ASPDIF Coax Coaxial ial AMP AMP NJ NJM4580 M4580 IC IC702 A out "R" A Out "L" JACK JACK 3-31 3-32 CIRCUIT DIAGRAMS 1. POWER (SMPS) CIRCUIT DIAGRAM A B C D E F G H I J K L M N O P Q R S T No Power D105~D108 is Defective 14VA No Power D125 is Defective 5.6VA No Power D123 is Defective 3.3VA No Power D121 or D122 are Defective Switching Error IC101is Defective Switching Error IC102,IC103 are Defective No Power FR101 is Defective 12V No Power Q123 is Defective 5.0V No Power Q126 is Defective 3.3V No Power Q121 is Defective Copyright © 2008 LG Electronics. Inc. All right reserved. Only for training and service purposes LGE Internal Use Only WHEN SERVICING THIS CHASSIS, UNDER NO CIR- CUMSTANCES SHOULD THE ORIGINAL DESIGN BE MODIFIED OR ALTERED WITHOUT PERMISSION FROM THE LG CORPORATION. ALL COMPONENTS SHOULD BE REPLACED ONLY WITH TYPES IDENTI- CAL TO THOSE IN THE ORIGINAL CIRCUIT. SPECIAL COMPONENTS ARE SHADED ON THE SCHEMATIC FOR EASY IDENTIFICATION. THIS CIRCUIT DIAGRAM MAY OCCASIONALLY DIFFER FROM THE ACTUAL CIRCUIT USED. THIS WAY, IMPLEMENTATION OF THE LATEST SAFETY AND PERFORMANCE IMPROVE- MENT CHANGES INTO THE SET IS NOT DELAYED UNTIL THE NEW SERVICE LITERATURE IS PRINTED. 1. Shaded( ) parts are critical for safety. Replace only with specified part number. 2. Voltages are DC-measured with a digital voltmeter dur- ing Play mode. IMPORTANT SAFETY NOTE : 3-33 3-34 2. SYSTEM (MPEG) CIRCUIT DIAGRAM Copyright © 2008 LG Electronics. Inc. All right reserved. Only for training and service purposes LGE Internal Use Only 3-35 3-36 3. SERVO CIRCUIT DIAGRAM Copyright © 2008 LG Electronics. Inc. All right reserved. Only for training and service purposes LGE Internal Use Only 3-37 3-38 4. AV (JACK) CIRCUIT DIAGRAM Copyright © 2008 LG Electronics. Inc. All right reserved. Only for training and service purposes LGE Internal Use Only 3-39 3-40 5. 5.1CH CIRCUIT DIAGRAM (OPTION) Copyright © 2008 LG Electronics. Inc. All right reserved. Only for training and service purposes LGE Internal Use Only 3-41 3-42 6. KARAOKE & USB CIRCUIT DIAGRAM (OPTION) Copyright © 2008 LG Electronics. Inc. All right reserved. Only for training and service purposes LGE Internal Use Only 3-43 3-44 7. KEY CIRCUIT DIAGRAM Copyright © 2008 LG Electronics. Inc. All right reserved. Only for training and service purposes LGE Internal Use Only 3-45 3-46 8. TIMER CIRCUIT DIAGRAM 8-1. 4 TOOL Copyright © 2008 LG Electronics. Inc. All right reserved. Only for training and service purposes LGE Internal Use Only 3-47 3-48 Copyright © 2008 LG Electronics. Inc. All right reserved. Only for training and service purposes LGE Internal Use Only 8-2. 5 TOOL 3-49 3-50 Copyright © 2008 LG Electronics. Inc. All right reserved. Only for training and service purposes LGE Internal Use Only 8-3. 8 TOOL 3-51 3-52 Copyright © 2008 LG Electronics. Inc. All right reserved. Only for training and service purposes LGE Internal Use Only 8-4. 9 TOOL 3-53 3-54 Copyright © 2008 LG Electronics. Inc. All right reserved. Only for training and service purposes LGE Internal Use Only • CIRCUIT VOLTAGE CHART 1. IC_Standby 2. IC_Play Mode Pin No. Pin Name PIN Description Voltage Spec Range IC201 (AM5890S) 8 VCC1 Power supply voltage 6.21 4.3 ~ 13.2V 19 VCC2 Power supply voltage 6.21 4.3 ~ 13.2V 20 VCCD Power supply voltage 3.285 0 ~ 12V IC601 (Sunplus SPHE8202RQ) 4 VDD33 I/O Power supply 3.295 3.15~3.45V 10 VDD18 Kernel logic power supply 1.814 1.7~1.9V 32 VDD33 I/O Power supply 3.293 3.15~3.45V 54 AVDD33_AD 3.3V power for Audio DAC 3.188 3.15~3.45V 61 VREF Reference voltage for audio DAC 1.382 62 ADD_ADAC 3.3V power for Audio DAC #0 3.185 3.15~3.45V 63 ADD_ADAC 3.3V power for Audio DAC #1 3.185 3.15~3.45V 70 VDD_TVA0 (2B) 3.3V power for Video DAC channel 0 3.237 3.15~3.45V 72 VDD_TVA0 (3B) 3.3V power for Video DAC channel 1~3 3.237 3.15~3.45V 77 VDD18 Kernel logic power supply 1.825 1.7~1.9V 78 AVDD_USB(3B) 3.3V power for USB PLL and USB tranceiver 3.294 3.15~3.45 83 VDD_PLL(4B) 3.3V power for PLLTV, PLLA, PLLAFE, SSPLL, and Crystal PAD 3.294 3.15~3.45V 86 VDD18 1.8V power for flash ADC 1.817 1.7~1.9V 90 AD_AVDD(4B) 3.3V power for servo ADC 3.147 3.15~3.45V 106 SRV_AVDD(3B) 3.3V power for servo 3.145 3.15~3.45V 107 V21 Reference DC bias voltage 2.046 108 V165 Reference DC bias voltage 1.576 112 DA_AVDD(2B) 3.3V power for DAC 3.145 3.15~3.45V IC602 (M12L32162A) 1 VDD Power supply for internal circuits and input buffers 3.296 3.0V ~ 3.6V 3 VDDQ Power supply for outpur buffers 3.297 3.0V ~ 3.6V 9 VDDQ Power supply for outpur buffers 3.296 3.0V ~ 3.6V 14 VDD Power supply for internal circuits and input buffers 3.296 3.0V ~ 3.6V 27 VDD Power supply for internal circuits and input buffers 3.295 3.0V ~ 3.6V 43 VDDQ Power supply for outpur buffers 3.296 3.0V ~ 3.6V 49 VDDQ Power supply for outpur buffers 3.296 3.0V ~ 3.6V IC701 (MM1692XVBE) 1 VCC 5V Power Supply 4.5~5.5V 5 MUTE 5V Power Supply 4.5~5.5V IC702 (NJM4580M) 8 VCC 12V Power Supply 12.21 ±2V ~ ±18V 3. DC voltmeter Measurement methods Condenser Capacitor WV PLAY Standby (Withstanding Voltage) +/A -/K +/A -/K C202 220µF 6.3V 3.129 0.000 3.183 0.000 C205 47µF 6.3V 3.124 0.000 3.181 3.145 C206 47µF 6.3V 3.124 2.100 3.181 3.145 C217 100µF 6.3V 5.040 0.000 5.060 0.000 C220 220µF 16V 5.670 0.000 6.010 0.000 C240 220µF 6.3V 1.890 0.000 1.889 0.000 C242 10µF 16V 3.277 0.000 3.279 0.000 C601 220µF 6.3V 1.844 0.000 1.846 0.000 C602 220µF 6.3V 3.288 0.000 3.288 0.000 C608 10µF 16V 3.181 0.000 3.181 0.000 C611 10µF 16V 1.379 0.000 1.381 0.000 C613 100µF 6.3V 3.179 0.000 3.181 0.000 C614 100µF 6.3V 3.229 0.000 3.231 0.000 C616 10µF 16V 3.228 1.332 3.231 1.339 Condenser Capacitor WV PLAY Standby (Withstanding Voltage) +/A -/K +/A -/K C626 100µF 6.3V 3.100 0.000 3.155 0.000 C636 100µF 6.3V 3.289 0.000 3.291 0.000 C669 47µF 6.3V 2.068 0.000 2.068 0.000 C671 47µF 6.3V 1.552 0.000 1.579 0.000 C709 47µF 6.3V 0.084 0.000 0.089 0.000 C710 22µF 16V 0.114 0.000 0.124 0.000 C716 220µF 16V 5.670 0.000 5.690 0.000 C717 220µF 16V 12.390 0.000 12.440 0.000 C727 22µF 16V 5.660 1.381 5.680 1.383 C728 22µF 16V 5.660 1.383 5.680 1.383 C731 22µF 16V 5.660 0.002 5.680 0.004 C734 22µF 16V 5.660 0.002 5.680 0.004 C738 220µF 6.3V 1.845 0.000 1.928 0.000 Mode Pin No. Pin Name PIN Description Voltage Spec Range IC201 (AM5890S) 8 VCC1 Power supply voltage 5.75 4.3 ~ 13.2V 19 VCC2 Power supply voltage 5.75 4.3 ~ 13.2V 20 VCCD Power supply voltage 3.284 0 ~ 12V IC601 (Sunplus SPHE8202RQ) 4 VDD33 I/O Power supply 3.294 3.15~3.45V 10 VDD18 Kernel logic power supply 1.811 1.7~1.9V 32 VDD33 I/O Power supply 3.292 3.15~3.45V 54 AVDD33_AD 3.3V power for Audio DAC 3.186 3.15~3.45V 61 VREF Reference voltage for audio DAC 1.381 62 ADD_ADAC 3.3V power for Audio DAC #0 3.184 3.15~3.45V 63 ADD_ADAC 3.3V power for Audio DAC #1 3.184 3.15~3.45V 70 VDD_TVA0 (2B) 3.3V power for Video DAC channel 0 3.236 3.15~3.45V 72 VDD_TVA0 (3B) 3.3V power for Video DAC channel 1~3 3.236 3.15~3.45V 77 VDD18 Kernel logic power supply 1.822 1.7~1.9V 78 AVDD_USB(3B) 3.3V power for USB PLL and USB tranceiver 3.293 3.15~3.45 83 VDD_PLL(4B) 3.3V power for PLLTV, PLLA, PLLAFE, SSPLL, and Crystal PAD 3.293 3.15~3.45V 86 VDD18 1.8V power for flash ADC 1.815 1.7~1.9V 90 AD_AVDD(4B) 3.3V power for servo ADC 3.089 3.15~3.45V 106 SRV_AVDD(3B) 3.3V power for servo 3.087 3.15~3.45V 107 V21 Reference DC bias voltage 2.046 108 V165 Reference DC bias voltage 1.546 112 DA_AVDD(2B) 3.3V power for DAC 3.088 3.15~3.45V IC602 (M12L32162A) 1 VDD Power supply for internal circuits and input buffers 3.294 3.0V ~ 3.6V 3 VDDQ Power supply for outpur buffers 3.294 3.0V ~ 3.6V 9 VDDQ Power supply for outpur buffers 3.293 3.0V ~ 3.6V 14 VDD Power supply for internal circuits and input buffers 3.293 3.0V ~ 3.6V 27 VDD Power supply for internal circuits and input buffers 3.292 3.0V ~ 3.6V 43 VDDQ Power supply for outpur buffers 3.293 3.0V ~ 3.6V 49 VDDQ Power supply for outpur buffers 3.293 3.0V ~ 3.6V IC701 (MM1692XVBE) 1 VCC 5V Power Supply 4.5~5.5V 5 MUTE 5V Power Supply 4.5~5.5V IC702 (NJM4580M) 8 VCC 12V Power Supply 12.18 ±2V ~ ±18V 3-55 3-56 Copyright © 2008 LG Electronics. Inc. All right reserved. Only for training and service purposes LGE Internal Use Only PRINTED CIRCUIT BOARD DIAGRAMS 1. MAIN P.C.BOARD (TOP VIEW) (BOTTOM VIEW) 3-57 3-58 Copyright © 2008 LG Electronics. Inc. All right reserved. Only for training and service purposes LGE Internal Use Only 2. POWER (SMPS) P.C.BOARD (TOP VIEW) (BOTTOM VIEW) 3. 5.1CH & SCART P.C.BOARD (OPTIONAL PART) (TOP VIEW) (BOTTOM VIEW) 3-59 3-60 Copyright © 2008 LG Electronics. Inc. All right reserved. Only for training and service purposes LGE Internal Use Only 4. KARAOKE & USB P.C.BOARD (OPTIONAL PART) 4-1. 4 TOOL (TOP VIEW) (BOTTOM VIEW) 4-2. 5 TOOL (TOP VIEW) (BOTTOM VIEW) 3-61 3-62 Copyright © 2008 LG Electronics. Inc. All right reserved. Only for training and service purposes LGE Internal Use Only 4-3. 8 TOOL (TOP VIEW) (BOTTOM VIEW) 4-4. 9 TOOL (TOP VIEW) (BOTTOM VIEW) 3-63 3-64 Copyright © 2008 LG Electronics. Inc. All right reserved. Only for training and service purposes LGE Internal Use Only 5. KEY P.C.BOARD 5-1. 4 TOOL (TOP VIEW) (BOTTOM VIEW) 6. TIMER P.C.BOARD 6-1. 4 TOOL (TOP VIEW) (BOTTOM VIEW) 5-2. 5 TOOL (TOP VIEW) (BOTTOM VIEW) 6-2. 5 TOOL (TOP VIEW) (BOTTOM VIEW) 3-65 3-66 Copyright © 2008 LG Electronics. Inc. All right reserved. Only for training and service purposes LGE Internal Use Only 5-3. 8 TOOL (TOP VIEW) (BOTTOM VIEW) 6-3. 8 TOOL (TOP VIEW) (BOTTOM VIEW) 5-4. 9 TOOL (TOP VIEW) (BOTTOM VIEW) 6-4. 9 TOOL (TOP VIEW) (BOTTOM VIEW)

标签:

版权声明

1. 本站所有素材,仅限学习交流,仅展示部分内容,如需查看完整内容,请下载原文件。
2. 会员在本站下载的所有素材,只拥有使用权,著作权归原作者所有。
3. 所有素材,未经合法授权,请勿用于商业用途,会员不得以任何形式发布、传播、复制、转售该素材,否则一律封号处理。
4. 如果素材损害你的权益请联系客服QQ:77594475 处理。