LG L1950H液晶显示器维修手册和图纸

分类:电子电工 日期: 点击:0
LG L1950H液晶显示器维修手册和图纸-0 LG L1950H液晶显示器维修手册和图纸-1 LG L1950H液晶显示器维修手册和图纸-2 LG L1950H液晶显示器维修手册和图纸-3 LG L1950H液晶显示器维修手册和图纸-4 LG L1950H液晶显示器维修手册和图纸-5 LG L1950H液晶显示器维修手册和图纸-6 LG L1950H液晶显示器维修手册和图纸-7 LG L1950H液晶显示器维修手册和图纸-8 LG L1950H液晶显示器维修手册和图纸-9

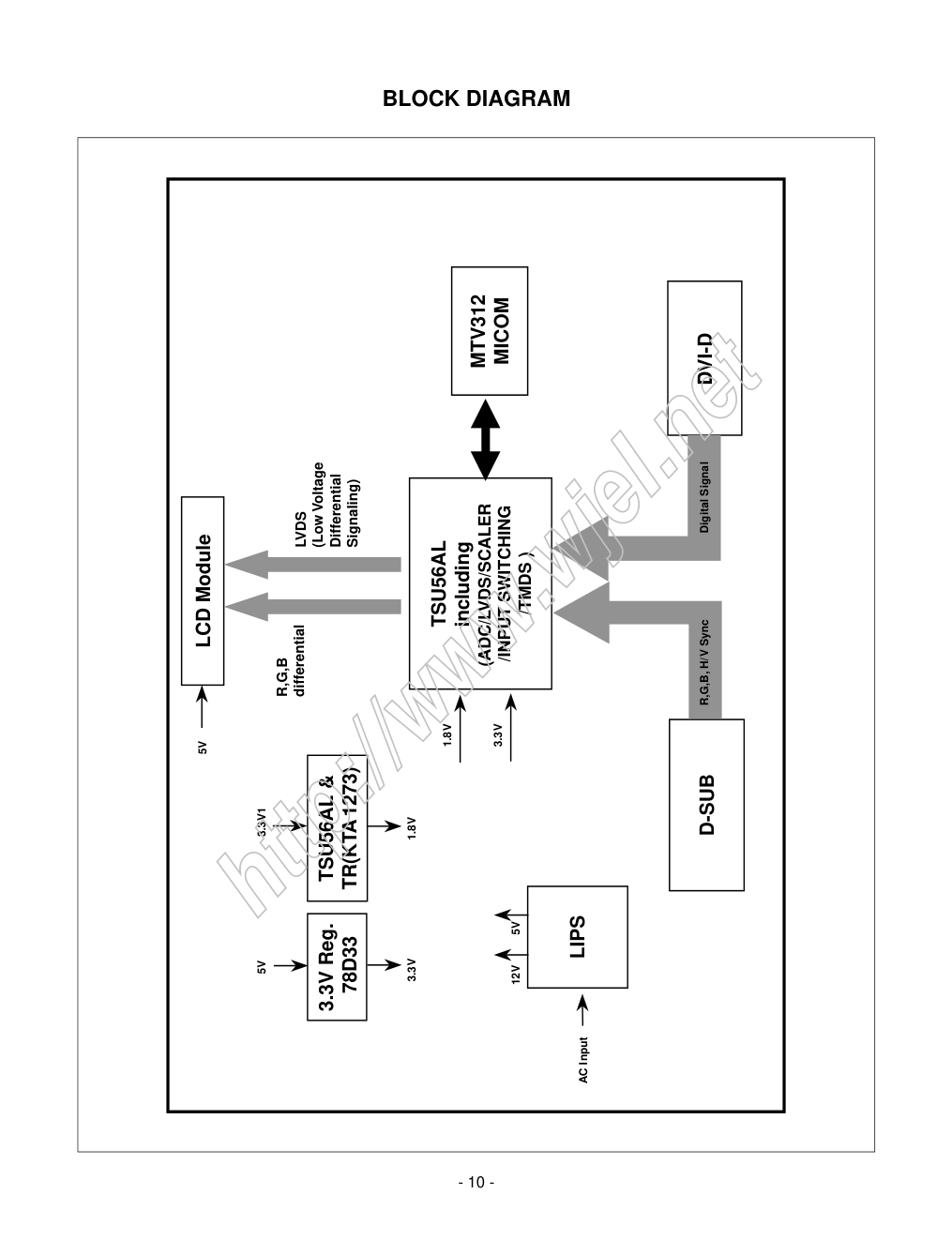
COLOR MONITOR SERVICE MANUAL Website:http://biz.LGservice.com E-mail:http://www.LGEservice.com/techsup.html CAUTION BEFORE SERVICING THE UNIT, READ THE SAFETY PRECAUTIONS IN THIS MANUAL. CHASSIS NO. : CL-83 MODEL: L1750H (L1750H-SNN.AN**QP) L1750H (L1750H-GNN.AN**QP) L1950H (L1950H-SNN.AN**QP) L1950H (L1950H-GNN.AN**QP) ( ) **Same model for Service *To apply the MSTAR Chip. http://www.wjel.net - 2 - CONTENTS SPECIFICATIONS ................................................... 2 PRECAUTIONS ....................................................... 4 TIMING CHART ....................................................... 8 DISASSEMBLY ....................................................... 9 BLOCK DIAGRAM ................................................. 10 DESCRIPTION OF BLOCK DIAGRAM....................11 ADJUSTMENT ...................................................... 13 SERVICE OSD ...................................................... 14 TROUBLESHOOTING GUIDE .............................. 15 WIRING DIAGRAM ................................................19 EXPLODED VIEW...................................................20 REPLACEMENT PARTS LIST ...............................22 SCHEMATIC DIAGRAM......................................... 24 SPECIFICATIONS 1. LCD CHARACTERISTICS Type : TFT Color LCD Module Active Display Area : 17inch diagonal - L1750H : 19inch diagonal - L1950H Pixel Pitch : 0.264(H) x 0.264(V) - L1750H : 0.294(H) x 0.294(V) - L1950H Size : 358.5(W) x 296.5(H) x 17.0(D) - L1750H : 404.2(W) x 330(H) x 22.0(D) - L1950H Color Depth :16.2M colors Electrical Interface : LVDS Surface Treatment : Anti-Glare, Hard Coating(3H) Operating Mode : Normally White, Transmissive mode Backlight Unit : 4-CCFL (Cold Cathode Fluorescent Lamp) 2. OPTICAL CHARACTERISTICS 2-1. Viewing Angle by Contrast Ratio ≥ 10 L1750H Left : -60° min., -70 Typ Right : +60° min., +70 Typ Top :+45° min., +60 Typ Bottom : -50° min., -60 Typ L1950H Left : -70° min., -80 Typ Right : +70° min., +80 Typ Top :+75° min., +85 Typ Bottom : -75° min., -85 Typ 2-2. Luminance : 185(min), 250(Typ) 2-3. Contrast Ratio : 300(min), 450(Typ) - L1750H : 300(min), 500(Typ) - L1950H 3. SIGNAL (Refer to the Timing Chart) 3-1. Sync Signal • Type : Separate Sync, Digital, SOG (Sync On Green) 3-2. Video Input Signal 1) Type : R, G, B Analog 2) Voltage Level : 0~0.7 V a) Color 0, 0 : 0 Vp-p b) Color 7, 0 : 0.35 Vp-p c) Color 15, 0 : 0.7 Vp-p 3) Input Impedance : 75 Ω 3-3. Operating Frequency Horizontal(Analog) : 30 ~ 83kHz Horizontal(Digital) : 30 ~ 71kHz Vertical : 56 ~ 75Hz 4. MAX. RESOLUTION D-sub Analog : 1280 x 1024@75Hz DVI Digital : 1280 x 1024@60Hz 5. POWER SUPPLY 5-1. Power Adaptor(Built-in Power) Input : AC 100~240V, 50/60Hz , 1.0A 5-2. Power Consumption 6. ENVIRONMENT 6-1. Operating Temperature : 10°C~35°C 6-2. Relative Humidity : 10%~80% 6-3. MTBF : 50,000 HRS with 90% Confidence level Lamp Life : 50,000 Hours(Min) - L1750H : 40,000 Hours(Min) - L1950H 7. DIMENSIONS (with TILT/SWIVEL) L1750H Width : 368 mm (14.49'') Depth : 242.6 mm (9.55'') Height : 421.8 mm (16.61'') L1950H Width : 413 mm (16.26'') Depth : 242.6 mm (9.55'') Height : 437.2 mm (17.21'') 8. WEIGHT (with TILT/SWIVEL) L1750H Net. Weight : 6.0kg (13.23 lbs) Gross Weight : 7.9kg (17.42 lbs) L1950H Net. Weight : 6.7kg (14.77 lbs) Gross Weight : 9.4kg (20.73 lbs) MODE POWER ON (NORMAL) STAND-BY SUSPEND DPMS OFF POWER S/W OFF H/V SYNC ON/ON OFF/ON ON/OFF OFF/OFF - POWER CONSUMPTION less than 43 W-L1750H less than 45 W-L1950H less than 1 W less than 1 W less than 1 W less than 1W LED COLOR GREEN AMBER AMBER AMBER OFF VIDEO ACTIVE OFF OFF OFF - http://www.wjel.net - 3 - Signal Connector Pin Assignment Pin Signal (DVI-D) 1 2 3 4 5 6 7 8 9 10 11 12 13 14 15 T. M. D. S. Data2- T. M. D. S. Data2+ T. M. D. S. Data2/4 Shield T. M. D. S. Data4- T. M. D. S. Data4+ DDC Clock DDC Data Analog Vertical Sync. T. M. D. S. Data1- T. M. D. S. Data1+ T. M. D. S. Data1/3 Shield T. M. D. S. Data3- T. M. D. S. Data3+ +5V Power Ground (return for +5V, H. Sync. and V. Sync.) Pin Signal (DVI-D) 1 8 9 17 24 16 16 17 18 19 20 21 22 23 24 Hot Plug Detect T. M. D. S. Data0- T. M. D. S. Data0+ T. M. D. S. Data0/5 Shield T. M. D. S. Data5- T. M. D. S. Data5+ T. M. D. S. Clock Shield T. M. D. S. Clock+ T. M. D. S. Clock- T. M. D. S. (Transition Minimized Differential Signaling) • DVI-D Connector http://www.wjel.net - 4 - WARNING FOR THE SAFETY-RELATED COMPONENT. • There are some special components used in LCD monitor that are important for safety. These parts are marked on the schematic diagram and the replacement parts list. It is essential that these critical parts should be replaced with the manufacturer’s specified parts to prevent electric shock, fire or other hazard. • Do not modify original design without obtaining written permission from manufacturer or you will void the original parts and labor guarantee. TAKE CARE DURING HANDLING THE LCD MODULE WITH BACKLIGHT UNIT. • Must mount the module using mounting holes arranged in four corners. • Do not press on the panel, edge of the frame strongly or electric shock as this will result in damage to the screen. • Do not scratch or press on the panel with any sharp objects, such as pencil or pen as this may result in damage to the panel. • Protect the module from the ESD as it may damage the electronic circuit (C-MOS). • Make certain that treatment person’s body are grounded through wrist band. • Do not leave the module in high temperature and in areas of high humidity for a long time. • The module not be exposed to the direct sunlight. • Avoid contact with water as it may a short circuit within the module. • If the surface of panel become dirty, please wipe it off with a softmaterial. (Cleaning with a dirty or rough cloth may damage the panel.) WARNING BE CAREFUL ELECTRIC SHOCK ! • If you want to replace with the new backlight (CCFL) or inverter circuit, must disconnect the AC adapter because high voltage appears at inverter circuit about 650Vrms. • Handle with care wires or connectors of the inverter circuit. If the wires are pressed cause short and may burn or take fire. Leakage Current Hot Check Circuit PRECAUTION CAUTION Please use only a plastic screwdriver to protect yourself from shock hazard during service operation. 1.5 Kohm/10W To Instrument's exposed METALLIC PARTS Good Earth Ground such as WATER PIPE, CONDUIT etc. AC Volt-meter http://www.wjel.net - 5 - SERVICING PRECAUTIONS CAUTION: Before servicing receivers covered by this service manual and its supplements and addenda, read and follow the SAFETY PRECAUTIONS on page 3 of this publication. NOTE: If unforeseen circumstances create conflict between the following servicing precautions and any of the safety precautions on page 3 of this publication, always follow the safety precautions. Remember: Safety First. General Servicing Precautions 1. Always unplug the receiver AC power cord from the AC power source before; a. Removing or reinstalling any component, circuit board module or any other receiver assembly. b. Disconnecting or reconnecting any receiver electrical plug or other electrical connection. c. Connecting a test substitute in parallel with an electrolytic capacitor in the receiver. CAUTION: A wrong part substitution or incorrect polarity installation of electrolytic capacitors may result in an explosion hazard. d. Discharging the picture tube anode. 2. Test high voltage only by measuring it with an appropriate high voltage meter or other voltage measuring device (DVM, FETVOM, etc) equipped with a suitable high voltage probe. Do not test high voltage by "drawing an arc". 3. Discharge the picture tube anode only by (a) first connecting one end of an insulated clip lead to the degaussing or kine aquadag grounding system shield at the point where the picture tube socket ground lead is connected, and then (b) touch the other end of the insulated clip lead to the picture tube anode button, using an insulating handle to avoid personal contact with high voltage. 4. Do not spray chemicals on or near this receiver or any of its assemblies. 5. Unless specified otherwise in this service manual, clean electrical contacts only by applying the following mixture to the contacts with a pipe cleaner, cotton- tipped stick or comparable non-abrasive applicator; 10% (by volume) Acetone and 90% (by volume) isopropyl alcohol (90%-99% strength) CAUTION: This is a flammable mixture. Unless specified otherwise in this service manual, lubrication of contacts in not required. 6. Do not defeat any plug/socket B+ voltage interlocks with which receivers covered by this service manual might be equipped. 7. Do not apply AC power to this instrument and/or any of its electrical assemblies unless all solid-state device heat sinks are correctly installed. 8. Always connect the test receiver ground lead to the receiver chassis ground before connecting the test receiver positive lead. Always remove the test receiver ground lead last. 9. Use with this receiver only the test fixtures specified in this service manual. CAUTION: Do not connect the test fixture ground strap to any heat sink in this receiver. Electrostatically Sensitive (ES) Devices Some semiconductor (solid-state) devices can be damaged easily by static electricity. Such components commonly are called Electrostatically Sensitive (ES) Devices. Examples of typical ES devices are integrated circuits and some field-effect transistors and semiconductor "chip" components. The following techniques should be used to help reduce the incidence of component damage caused by static by static electricity. 1. Immediately before handling any semiconductor component or semiconductor-equipped assembly, drain off any electrostatic charge on your body by touching a known earth ground. Alternatively, obtain and wear a commercially available discharging wrist strap device, which should be removed to prevent potential shock reasons prior to applying power to the unit under test. 2. After removing an electrical assembly equipped with ES devices, place the assembly on a conductive surface such as aluminum foil, to prevent electrostatic charge buildup or exposure of the assembly. 3. Use only a grounded-tip soldering iron to solder or unsolder ES devices. 4. Use only an anti-static type solder removal device. Some solder removal devices not classified as "anti- static" can generate electrical charges sufficient to damage ES devices. 5. Do not use freon-propelled chemicals. These can generate electrical charges sufficient to damage ES devices. 6. Do not remove a replacement ES device from its protective package until immediately before you are ready to install it. (Most replacement ES devices are packaged with leads electrically shorted together by conductive foam, aluminum foil or comparable conductive material). 7. Immediately before removing the protective material from the leads of a replacement ES device, touch the protective material to the chassis or circuit assembly into which the device will be installed. CAUTION: Be sure no power is applied to the chassis or circuit, and observe all other safety precautions. 8. Minimize bodily motions when handling unpackaged replacement ES devices. (Otherwise harmless motion such as the brushing together of your clothes fabric or the lifting of your foot from a carpeted floor can generate static electricity sufficient to damage an ES device.) http://www.wjel.net - 6 - General Soldering Guidelines 1. Use a grounded-tip, low-wattage soldering iron and appropriate tip size and shape that will maintain tip temperature within the range or 500。F to 600。F. 2. Use an appropriate gauge of RMA resin-core solder composed of 60 parts tin/40 parts lead. 3. Keep the soldering iron tip clean and well tinned. 4. Thoroughly clean the surfaces to be soldered. Use a mall wire-bristle (0.5 inch, or 1.25cm) brush with a metal handle. Do not use freon-propelled spray-on cleaners. 5. Use the following unsoldering technique a. Allow the soldering iron tip to reach normal temperature. (500。F to 600。F) b. Heat the component lead until the solder melts. c. Quickly draw the melted solder with an anti-static, suction-type solder removal device or with solder braid. CAUTION: Work quickly to avoid overheating the circuitboard printed foil. 6. Use the following soldering technique. a. Allow the soldering iron tip to reach a normal temperature (500。F to 600。F) b. First, hold the soldering iron tip and solder the strand against the component lead until the solder melts. c. Quickly move the soldering iron tip to the junction of the component lead and the printed circuit foil, and hold it there only until the solder flows onto and around both the component lead and the foil. CAUTION: Work quickly to avoid overheating the circuit board printed foil. d. Closely inspect the solder area and remove any excess or splashed solder with a small wire-bristle brush. IC Remove/Replacement Some chassis circuit boards have slotted holes (oblong) through which the IC leads are inserted and then bent flat against the circuit foil. When holes are the slotted type, the following technique should be used to remove and replace the IC. When working with boards using the familiar round hole, use the standard technique as outlined in paragraphs 5 and 6 above. Removal 1. Desolder and straighten each IC lead in one operation by gently prying up on the lead with the soldering iron tip as the solder melts. 2. Draw away the melted solder with an anti-static suction-type solder removal device (or with solder braid) before removing the IC. Replacement 1. Carefully insert the replacement IC in the circuit board. 2. Carefully bend each IC lead against the circuit foil pad and solder it. 3. Clean the soldered areas with a small wire-bristle brush. (It is not necessary to reapply acrylic coating to the areas). "Small-Signal" Discrete Transistor Removal/Replacement 1. Remove the defective transistor by clipping its leads as close as possible to the component body. 2. Bend into a "U" shape the end of each of three leads remaining on the circuit board. 3. Bend into a "U" shape the replacement transistor leads. 4. Connect the replacement transistor leads to the corresponding leads extending from the circuit board and crimp the "U" with long nose pliers to insure metal to metal contact then solder each connection. Power Output, Transistor Device Removal/Replacement 1. Heat and remove all solder from around the transistor leads. 2. Remove the heat sink mounting screw (if so equipped). 3. Carefully remove the transistor from the heat sink of the circuit board. 4. Insert new transistor in the circuit board. 5. Solder each transistor lead, and clip off excess lead. 6. Replace heat sink. Diode Removal/Replacement 1. Remove defective diode by clipping its leads as close as possible to diode body. 2. Bend the two remaining leads perpendicular y to the circuit board. 3. Observing diode polarity, wrap each lead of the new diode around the corresponding lead on the circuit board. 4. Securely crimp each connection and solder it. 5. Inspect (on the circuit board copper side) the solder joints of the two "original" leads. If they are not shiny, reheat them and if necessary, apply additional solder. Fuse and Conventional Resistor Removal/Replacement 1. Clip each fuse or resistor lead at top of the circuit board hollow stake. 2. Securely crimp the leads of replacement component around notch at stake top. 3. Solder the connections. CAUTION: Maintain original spacing between the replaced component and adjacent components and the circuit board to prevent excessive component temperatures. http://www.wjel.net - 7 - Circuit Board Foil Repair Excessive heat applied to the copper foil of any printed circuit board will weaken the adhesive that bonds the foil to the circuit board causing the foil to separate from or "lift-off" the board. The following guidelines and procedures should be followed whenever this condition is encountered. At IC Connections To repair a defective copper pattern at IC connections use the following procedure to install a jumper wire on the copper pattern side of the circuit board. (Use this technique only on IC connections). 1. Carefully remove the damaged copper pattern with a sharp knife. (Remove only as much copper as absolutely necessary). 2. carefully scratch away the solder resist and acrylic coating (if used) from the end of the remaining copper pattern. 3. Bend a small "U" in one end of a small gauge jumper wire and carefully crimp it around the IC pin. Solder the IC connection. 4. Route the jumper wire along the path of the out-away copper pattern and let it overlap the previously scraped end of the good copper pattern. Solder the overlapped area and clip off any excess jumper wire. At Other Connections Use the following technique to repair the defective copper pattern at connections other than IC Pins. This technique involves the installation of a jumper wire on the component side of the circuit board. 1. Remove the defective copper pattern with a sharp knife. Remove at least 1/4 inch of copper, to ensure that a hazardous condition will not exist if the jumper wire opens. 2. Trace along the copper pattern from both sides of the pattern break and locate the nearest component that is directly connected to the affected copper pattern. 3. Connect insulated 20-gauge jumper wire from the lead of the nearest component on one side of the pattern break to the lead of the nearest component on the other side. Carefully crimp and solder the connections. CAUTION: Be sure the insulated jumper wire is dressed so the it does not touch components or sharp edges. http://www.wjel.net TIMING CHART - 8 - << Dot Clock (MHz), Horizontal Frequency (kHz), Vertical Frequency (Hz), Horizontal etc... (µs), Vertical etc... (ms) >> H + 31.469 800 640 16 96 48 V – 70.09 449 350 37 2 60 H + 37.879 1056 800 40 128 88 V + 60.317 628 600 1 4 23 H – 31.469 800 640 16 96 48 V – 59.94 525 480 10 2 33 H – 37.5 840 640 16 64 120 V – 75 500 480 1 3 16 H – 31.468 900 720 18 108 54 V + 70.08 449 400 12 2 35 H + 46.875 1056 800 16 80 160 V + 75.0 625 600 1 3 21 H +/– 49.725 1152 832 32 64 224 V +/– 74.55 667 624 1 3 39 H – 48.363 1344 1024 24 136 160 V – 60.0 806 768 3 6 29 H – 60.123 1312 1024 16 96 176 V – 75.029 800 768 1 3 28 H +/– 68.681 1456 1152 32 128 144 V +/– 75.062 915 870 3 3 39 H +/– 61.805 1504 1152 18 134 200 V +/– 65.96 937 900 2 4 31 H + 63.981 1688 1280 48 112 248 V + 60.02 1066 1024 1 3 38 H + 79.976 1688 1280 16 144 248 V + 75.035 1066 1024 1 3 38 Mode H/V Sort 1 2 3 4 5 6 7 8 9 10 11 12 13 25.175 28.321 25.175 31.5 40.0 49.5 57.283 65.0 78.75 100.0 92.978 108.0 135.0 640x350 800x600 640x480 640x480 720x400 800x600 832x624 1024x768 1024x768 1152x870 1152x900 1280x1024 1280x1024 Sync Polarity Frequency Dot Clock Total Period (E) Video Active Time (A) Sync Duration (C) Back Porch (B) Front Porch (D) Resolution VIDEO SYNC B C E A D http://www.wjel.net - 9 - DISASSEMBLY Remove the screws. Disassemble back cover # 1 Disassembly Hinge Cover. Pell off Al-tape from panel. Remove the 6 screws from each up of metal frame. # 2 # 3 # 4 # 5 # 6 Remove Al-tape from control pcb fix. Remove the 4 screws from each side of metal frame. 1. Pull the front cover upward. 2. Then, let the all latches are separated. 3. Put the front face down. # 7 # 8 http://www.wjel.net - 10 - D-SUB TSU56AL including (ADC/LVDS/SCALER /INPUT SWITCHING /TMDS ) MTV312 MICOM LCD Module R,G,B differential LIPS 5V 5V AC Input TSU56AL & TR(KTA1273) 12V DVI-D R,G,B, H/V Sync Digital Signal 1.8V 3.3V 1.8V 3.3V1 3.3V Reg. 78D33 5V 3.3V LVDS (Low Voltage Differential Signaling) BLOCK DIAGRAM http://www.wjel.net - 11 - DESCRIPTION OF BLOCK DIAGRAM 1. Video Controller Part. This part amplifies the level of video signal for the digital conversion and converts from the analog video signal to the digital video signal using a pixel clock. The pixel clock for each mode is generated by the PLL. The range of the pixel clock is from 25MHz to 135MHz. This part consists of the Scaler, ADC and TMDS receiver . The Scaler gets the video signal converted analog to digital, interpolates input to 1280 X 1024 resolution signal and outputs 8-bit R, G, B signal to transmitter. 2. Power Part. This part consists of the 3.3V regulator to convert power which is provided 12V, 5V in Power board. 5V is provided for MICOM and LCD panel 5V is converted 3.3V by regulator and 3.3V is converted 1.8V by scaler & KTA1273. Converted power is provided for IC in the main board. 3. MICOM Part. This part consists of EEPROM IC which stores control data and the Micom. The Micom distinguishes polarity and frequency of the H/V sync are supplied from signal cable. The controlled data of each modes is stored in EEPROM. http://www.wjel.net - 12 - EMI COMPONENTS LINE 100 ~ 240V INPUT RECTIFIER AND FILTER ENERGY TRANSFER OUTPUT RECTIFIER AND FILTER 12V 5V GND SIGNAL COLLENT- ION PHOTO- COUPLER ISOLATION HVDC 100KHz PRIMARY SECONDARY 50 ~ 60Hz PWM COMTROL CIRCUIT Operation description_LIPS LIPS Board Block Diagram 1. EMI components. This part contains of EMI components to comply with global marketing EMI standards like FCC, VCCI CISPR, the circuit included a line-filter, across line capacitor and of course the primary protection fuse. 2. Input rectifier and filter. This part function is for transfer the input AC voltage to a DC voltage through a bridge rectifier and a bulk capacitor. 3. Energy Transfer. This part function is transfer the primary energy to secondary through a power transformer. 4. Output rectifier and filter. This part function is to make a pulse width modulation control and to provide the driver signal to power switch, to adjust the duty cycle during different AC input and output loading condition to achive the dc output stablize, and also the over power protection is also monitor by this part. 5. Photo-Coupler isolation. This part function is to feed back the dc output changing status through a photo transistor to primary controller to achieve the stabilized dc output voltage. 6. Signal collection. This part function is to collect the any change from the dc output and feed back to the primary through photo transistor. http://www.wjel.net - 13 - ADJUSTMENT Windows EDID V1.0 User Manual Operating System: MS Windows 98, 2000, XP Port Setup: Windows 98 => Don’t need setup Windows 2000, XP => Need to Port Setup. This program is available to LCD Monitor only. 1. Port Setup a) Copy “UserPort.sys” file to “c:\WINNT\system32\drivers” folder b) Run Userport.exe c) Remove all default number d) Add 300-3FF e) Click Start button. f) Click Exit button. 2. EDID Read & Write 1) Run WinEDID.exe 2) Edit Week of Manufacture, Year of Manufacture, Serial Number a) Input User Info Data b) Click “Update” button c) Click “ Write” button http://www.wjel.net - 14 - - 15 - TROUBLESHOOTING GUIDE 1. NO POWER NO POWER (POWER INDICATOR OFF) CHECK KEY CONTROL CONNECTOR ROUTINE CHECK U201 NO NO NO CHECK POWER BOARD, AND FIND OUT A SHORT POINT AS OPENING EACH POWER LINE CHECK 5VS LINE (OPEN CHECK) CHECK 3.3V LINE NO CHECK X-TAL YES YES YES YES CHECK J705 VOLTAGE PIN5, PIN6 (5V)? CHECK U501 PIN 8 VOLTAGE (5V) ? IS U201 PIN90 (3.3V) VOLTAGE ? CHECK U201 PIN 96 PULSE 1 NO PROBLEM 1 Waveforms U201-#96 http://www.wjel.net - 16 - 2. NO RASTER (OSD IS NOT DISPLAYED) – LIPS NO RASTER (OSD IS NOT DISPLAYED) NO NO NO NO REPLACE CCFL LAMP IN THE LCD MODULE CHECK POWER BOARD, AND FIND OUT A SHORT POINT AS OPENING EACH POWER LINE CHECK MICOM INV ON/OFF PORT. 1. CONFIRM BRIGHTNESS OSD CONTRL STATE. 2. CHECK MICOM DIM-ADJ PORT LIPS YES YES YES YES J705 PIN5, PIN6 5V? J705 PIN9 2.5V? J705 PIN10 5V? CHECK PULSE AS CONTACTING SCOPE PROBE TO CAUTION LABEL. (CONTACT PROBE TO CAUTION LABEL. CAN YOU SEE PULSE AT YOUR SCOPE? http://www.wjel.net - 17 - 3. NO RASTER (OSD IS NOT DISPLAYED) – MSTAR NO RASTER (OSD IS NOT DISPLAYED) NO NO NO TROUBLE IN CABLE OR LCD MODULE CHECK U801 (17", 19") CHECK U803 (15") 1. CHECK PIN122, 123 SOLDERING CONDITION 2. CHECK X501 3. TROUBLE IN U201 CHECK CONNECTION LINE FROM D-SUB TO U501 YES YES YES U201 PIN 18, 90 3.3V? U201 PIN96, 97 OSCILLATE AS 12MHZ? U501 PIN43 IS 48KHz H-SYNC? PIN44 IS 60Hz V-SYNC? IS PULSE APPEARED AT SIGNAL PINS? AT MODE 12? 1 2 1 2 Waveforms U201-#96, 97 U501-#43 H-SYNC 2 U501-#44 V-SYNC http://www.wjel.net - 18 - 4. TROUBLE IN DPM TROUBLE IN DPM NO NO TROUBLE IN U501 CHECK PC PC IS NOT GOING INTO DPM OFF MODE CHECK H/V SYNC LINE YES YES CHECK R216, R217 R778, R781 CHECK U501 PIN 43.44 SYNC PULSE ? 3 3 Waveforms R216, R778 H-Sync 3 R217, R781 V-Sync http://www.wjel.net - 19 - WIRING DIAGRAM Connector Ass’y P/N 6631T11012W or 6631T11020W Connector Ass’y P/N: 6631T11017X-L1750H 6631T11017Y-L1950H Connector Ass’y P/N: 6631T20023A or 6631T20034M http://www.wjel.net - 20 - 010 020 060 040 050 070 080 090 030 100 110 EXPLODED VIEW http://www.wjel.net - 21 - EXPLODED VIEW PARTS LIST 010 020 030 040 050 060 070 080 090 100 110 3091TKL143U CABINET ASSEMBLY, L1750H BRAND L122 SILVER ABS TCO03+12MS LIFE GOOD AU 3091TKL143K CABINET ASSEMBLY, L1750H BRAND L122 SILVER ABS350,89483 TCO03 D-C/SKD 3091TKL143H CABINET ASSEMBLY, L1750H BRAND L122 GRAY ABS350,89483 TCO03 B-C/SKD 3091TKL144T CABINET ASSEMBLY, L1950H BRAND L123 SILVER ABS350 12MS+TCO03+LIFE,AU-VER 3091TKL144K CABINET ASSEMBLY, L1950H BRAND L123 SILVER ABS350,89483 TCO03 D-C/SKD 3091TKL144H CABINET ASSEMBLY, L1950H BRAND L123 GRAY ABS350,89483 TCO03 B-C/SKD 6304FLP110B LCD(LIQUID CRYSTAL DISPLAY), LM170E01-A5N5 LG PHILPS TFT COLOR PART NUMBER CHANGE FOR COST COMPENSATION or 6304FLP180B LCD(LIQUID CRYSTAL DISPLAY), LM170E01-A6K1 LG PHILPS TFT COLOR LPL NJ,PB FREE,EGI,TI S D-IC,SXGA,LVDS COST COMPENSATION or 6304FLP179B LCD(LIQUID CRYSTAL DISPLAY), LM170E01-A6 LG PHILPS TFT COLOR LPL NJ,PB FREE,NEC S D-IC,EGI,250NITS,SXGA,LVDS COST COMPENSATION or 6304FLP086A LCD(LIQUID CRYSTAL DISPLAY), LM170E01-A5K6 LG PHILPS TFT COLOR LVDS SXGA OKI GATE D-IC or 6304FLP110A LCD(LIQUID CRYSTAL DISPLAY ), LM170E01-A5N5 LG PHILPS TFT COLOR LPL NJ,250NITS,SXGA,LVDS or 6304FLP160A LCD(LIQUID CRYSTAL DISPLAY), LM170E01-A5KS LG PHILPS TFT COLOR NEC D-IC,250NITS,SXGA,LVDS or 6304FLP194A LCD(LIQUID CRYSTAL DISPLAY), LM170E01-A5K2 LG PHILPS TFT COLOR TI D-IC,250NITS,SXGA,LVDS or 6304FLP228A LCD(LIQUID CRYSTAL DISPLAY), LM170E01-A5KT LG PHILPS TFT COLOR PB FREE OF A5KS,NEC D-IC,250NITS,SXGA,LVDS 6304FLP142A LCD(LIQUID CRYSTAL DISPLAY), LM190E03-B4K1 LG PHILPS TFT COLOR 20T,TN,250NITS,SXGA,LVDS or 6304FLP206A LCD(LIQUID CRYSTAL DISPLAY), LM190E03-B4N2 LG PHILPS TFT COLOR LPL NJ,20T,TN,250NITS,SXGA,LVDS 3809TKL100B BACK COVER ASSEMBLY, L1750B L100 ABS350 9930(BK) 3809TKL100D BACK COVER ASSEMBLY, L1750H L100 ABS350 9930(BK) B-C/SKD 3809TKL101B BACK COVER ASSEMBLY, L1950B L101 BRAND ABS350 9930(BK) 3809TKL101D BACK COVER ASSEMBLY, L1950H L101 BRAND ABS350 9930(BK) B-C/SKD 3043TKK190E TILT SWIVEL ASSEMBLY, L1750B . STAND BODY HF350 9930 HEIGHT 3043TKK190H TILT SWIVEL ASSEMBLY, L1750H . STAND BODY ABS350 9930 HEIGHT E-C/SKD 3043TKK190F TILT SWIVEL ASSEMBLY, L1950B . STAND BODY HF350 9930 HEIGHT 3043TKK190J TILT SWIVEL ASSEMBLY, L1950H . STAND BODY ABS350 9930 HEIGHT F-C/SKD 3043TKK191C TILT SWIVEL ASSEMBLY, L1750B , L1950B STAND BASE HF350 9930 3043TKK191D TILT SWIVEL ASSEMBLY, L1750B , L1950B STAND BASE HF350 9930 C-C/SKD 4951TKS199A METAL ASSEMBLY, FRAME MAIN L1750 LPL-A5 KUMI 4951TKS199B METAL ASSEMBLY, FRAME MAIN L1750 A-C/SKD 4951TKS200A METAL ASSEMBLY, FRAME MAIN L1950 LPL-E03 TN/AUO-EN04-V2 KUMI 4951TKS200C METAL ASSEMBLY, FRAME MAIN L1950 LPL-E03 TN/AUO-EN04-V2 A-C/SKD 6871TPT282C PWB(PCB) ASSEMBLY,POWER, M-CHASSIS 1720 DOCKING,2PIN,450V POWER TOTAL LIEN CHANG PB FREE-L1750H 6871TPT282Q PWB(PCB) ASSEMBLY,POWER, M-CHASSIS 19INCH TN & 1720 DOCKING,2PIN,450V POWER TOTAL LIEN CHANG PB FREE & ANALOG-L1950H 3313TL7101A MAIN TOTAL ASSEMBLY, L1750HN MST LPL 10-LANGUAGE BRAND CL-83 LF 3313TL7101C MAIN TOTAL ASSEMBLY, L1750HN MST LPL 10-LANGUAGE NT C/SKD BRAND CL-83 LF 3313TL9081A MAIN TOTAL ASSEMBLY, L1950BN AUO MSTAR BRAND CL-67 4951TKS203A METAL ASSEMBLY, REAR SHIELD LX50 KUMI 4951TKS203B METAL ASSEMBLY, REAR SHIELD LX50 KUMI A-C/SKD 3550TKK740A COVER, L1750 BACK DOOR BRAND 3550TKK740B COVER, L1750 BACK DOOR BRAND A-C/SKD 3550TKK741A COVER, L1950 BACK DOOR BRAND 3550TKK741B COVER, L1950 BACK DOOR BRAND A-C/SKD 6871TST798A PWB(PCB) ASSEMBLY,SUB, L1750 CONTROL TOTAL BRAND KEY 6871TST798B PWB(PCB) ASSEMBLY,SUB, L1750 CONTROL TOTAL BRAND NT C/SKD 6871TST911A PWB(PCB) ASSEMBLY,SUB, L1950 CONTROL TOTAL BRAND KEY Description Part No. Ref. No. http://www.wjel.net - 22 - DATE: 2005. 01. 26. *S *AL LOC. NO. PART NO. DESCRIPTION / SPECIFICATION C204 0CK104CK56A 0.1UF 1608 50V 10% R/TP X7R C205 0CK104CK56A 0.1UF 1608 50V 10% R/TP X7R C206 0CK104CK56A 0.1UF 1608 50V 10% R/TP X7R C207 0CK104CK56A 0.1UF 1608 50V 10% R/TP X7R C211 0CK103CK51A 0.01UF 1608 50V 10% R/TP B(Y C213 0CK103CK51A 0.01UF 1608 50V 10% R/TP B(Y C214 0CK103CK51A 0.01UF 1608 50V 10% R/TP B(Y C215 0CK103CK51A 0.01UF 1608 50V 10% R/TP B(Y C216 0CK103CK51A 0.01UF 1608 50V 10% R/TP B(Y C217 0CK103CK51A 0.01UF 1608 50V 10% R/TP B(Y C218 0CK103CK51A 0.01UF 1608 50V 10% R/TP B(Y C219 0CK103CK51A 0.01UF 1608 50V 10% R/TP B(Y C220 0CK103CK51A 0.01UF 1608 50V 10% R/TP B(Y C221 0CK103CK51A 0.01UF 1608 50V 10% R/TP B(Y C222 0CK103CK51A 0.01UF 1608 50V 10% R/TP B(Y C223 0CK103CK51A 0.01UF 1608 50V 10% R/TP B(Y C224 0CK103CK51A 0.01UF 1608 50V 10% R/TP B(Y C225 0CK103CK51A 0.01UF 1608 50V 10% R/TP B(Y C226 0CK103CK51A 0.01UF 1608 50V 10% R/TP B(Y C230 0CK104CK56A 0.1UF 1608 50V 10% R/TP X7R C231 0CK104CK56A 0.1UF 1608 50V 10% R/TP X7R C232 0CK104CK56A 0.1UF 1608 50V 10% R/TP X7R C233 0CK104CK56A 0.1UF 1608 50V 10% R/TP X7R C240 0CK104CK56A 0.1UF 1608 50V 10% R/TP X7R C251 0CK103CK51A 0.01UF 1608 50V 10% R/TP B(Y C503 0CK103CK51A 0.01UF 1608 50V 10% R/TP B(Y C504 0CH8106F611 10UF 16V M 85STD(CYL) R/TP C506 0CC030CK01A 3PF 1608 50V 0.25 PF R/TP NP C507 0CC180CK41A 18PF 1608 50V 5% R/TP NP0 C508 0CK103CK51A 0.01UF 1608 50V 10% R/TP B(Y C701 0CK105CD56A 1UF 1608 10V 10% R/TP X7R C707 0CC680CK41A 68PF 1608 50V 5% R/TP NP0 C708 0CK103CK51A 0.01UF 1608 50V 10% R/TP B(Y C709 0CK103CK51A 0.01UF 1608 50V 10% R/TP B(Y C712 0CK103CK51A 0.01UF 1608 50V 10% R/TP B(Y C713 0CC101CK41A 100PF 1608 50V 5% R/TP NP0 C714 0CC101CK41A 100PF 1608 50V 5% R/TP NP0 C717 0CC101CK41A 100PF 1608 50V 5% R/TP NP0 C718 0CC101CK41A 100PF 1608 50V 5% R/TP NP0 C722 0CK104CK56A 0.1UF 1608 50V 10% R/TP X7R C723 0CK104CK56A 0.1UF 1608 50V 10% R/TP X7R C724 0CK104CK56A 0.1UF 1608 50V 10% R/TP X7R C725 0CK104CK56A 0.1UF 1608 50V 10% R/TP X7R C726 0CK104CK56A 0.1UF 1608 50V 10% R/TP X7R C727 0CK105CD56A 1UF 1608 10V 10% R/TP X7R C728 0CK104CK56A 0.1UF 1608 50V 10% R/TP X7R C732 0CK103CK51A 0.01UF 1608 50V 10% R/TP B(Y C733 0CK104CK56A 0.1UF 1608 50V 10% R/TP X7R C734 0CK104CK56A 0.1UF 1608 50V 10% R/TP X7R C735 0CK104CK56A 0.1UF 1608 50V 10% R/TP X7R C738 0CK104CK56A 0.1UF 1608 50V 10% R/TP X7R C743 0CK104CK56A 0.1UF 1608 50V 10% R/TP X7R DATE: 2005. 01. 26. *S *AL LOC. NO. PART NO. DESCRIPTION / SPECIFICATION C744 0CC680CK41A 68PF 1608 50V 5% R/TP NP0 C803 0CE107EF610 "100UF KMG,RD 16V 20% FL BULK" C805 0CK104CK56A 0.1UF 1608 50V 10% R/TP X7R-L1750H C809 0CK103CK51A 0.01UF 1608 50V 10% R/TP B(Y C812 0CE107EF610 "100UF KMG,RD 16V 20% FL BULK" C814 0CE107EF610 "100UF KMG,RD 16V 20% FL BULK" C817 0CK105CD56A 1UF 1608 10V 10% R/TP X7R-L1950H C818 0CC102CK41A 1000PF 1608 50V 5% R/TP NP0-L1950H C819 0CK105CD56A 1UF 1608 10V 10% R/TP X7R D701 0DS226009AA KDS226 TP KEC SOT-23 80V 30 D702 0DS226009AA KDS226 TP KEC SOT-23 80V 30 D706 0DS226009AA KDS226 TP KEC SOT-23 80V 30 D708 0DS226009AA KDS226 TP KEC SOT-23 80V 30 D709 0DS226009AA KDS226 TP KEC SOT-23 80V 30 D710 0DS226009AA KDS226 TP KEC SOT-23 80V 30 D711 0DS226009AA KDS226 TP KEC SOT-23 80V 30 D712 0DS226009AA KDS226 TP KEC SOT-23 80V 30 D713 0DS226009AA KDS226 TP KEC SOT-23 80V 30 D714 0DS226009AA KDS226 TP KEC SOT-23 80V 30 D715 0DS226009AA KDS226 TP KEC SOT-23 80V 30 D719 0DD184009AA KDS184 TP KEC - 85V - - - 30 ZD701 0DZ560009GB "BZT52C5V6S-(F),LF DIODES R/T" ZD702 0DZ560009GB "BZT52C5V6S-(F),LF DIODES R/T" ZD703 0DZ560009GB "BZT52C5V6S-(F),LF DIODES R/T" ZD704 0DZ560009GB "BZT52C5V6S-(F),LF DIODES R/T" ZD705 0DZ560009GB "BZT52C5V6S-(F),LF DIODES R/T" ZD706 0DZ560009GB "BZT52C5V6S-(F),LF DIODES R/T" ZD709 0DZ560009GB "BZT52C5V6S-(F),LF DIODES R/T" ZD711 0DZ560009GB "BZT52C5V6S-(F),LF DIODES R/T" ZD712 0DZ560009GB "BZT52C5V6S-(F),LF DIODES R/T" U201 0IPRPM3018A "TSU56AL-LF,HDCP,WINDOW BRIGH" U501 0IZZTSZ599A L1750BN MSTAR MICOM ASSY - 1-L1750H U501 0IZZTSZ601A L1950BN MSTAR MICOM ASSY - 1-L1950H U502 0ICS240813B "CAT24WC08J-TE13 8P,SOIC R/TP" U703 0IMMRSG036A "M24C02-WMN6T(P),LF SGS-THOMS" U801 0IPMGKE011A KIA78D33F KEC DPAK R/TP 3.3V Q502 0IKE704200H KIA7042AP TO-92 TP 4.2 VOLT Q503 0TR390409AE FAIRCHILD KST3904(LGEMTF) TP Q504 0TR390409AE FAIRCHILD KST3904(LGEMTF) TP Q505 0TR390409AE FAIRCHILD KST3904(LGEMTF) TP Q703 0TR390609FA KST3906-MTF TP SAMSUNG SOT2 Q704 0TR390609FA KST3906-MTF TP SAMSUNG SOT2 Q801 0TR127309AA KTA1273-Y(KTA966A) TP KEC TO-L1750H Q802 0TR390409AE FAIRCHILD KST3904(LGEMTF) TP-L1750H Q803 0TR127309AA KTA1273-Y(KTA966A) TP KEC TO REPLACEMENT PARTS LIST CAUTION: BEFORE REPLACING ANY OF THESE COMPONENTS, READ CAREFULLY THE SAFETY PRECAUTIONS IN THIS MANUAL. * NOTE : S SAFETY Mark AL ALTERNATIVE PARTS MAIN BOARD CAPACITORS DIODEs ICs TRANSISTOR http://www.wjel.net DATE: 2005. 01. 26. *S *AL LOC. NO. PART NO. DESCRIPTION / SPECIFICATION U802 0TFVI80023A VISHAY SI3865DV R/TP TSOP-6-L1950H R201 0RJ0682D677 68 OHM 1/10 W 5% 1608 R/TP R202 0RJ0682D677 68 OHM 1/10 W 5% 1608 R/TP R203 0RJ0682D677 68 OHM 1/10 W 5% 1608 R/TP R207 0RJ3900D677 390 OHM 1/10 W 5% 1608 R/TP R208 0RJ0682D677 68 OHM 1/10 W 5% 1608 R/TP R209 0RJ0682D677 68 OHM 1/10 W 5% 1608 R/TP R210 0RJ0682D677 68 OHM 1/10 W 5% 1608 R/TP R216 0RJ0000D677 0 OHM 1/10 W 5% 1608 R/TP R217 0RJ0000D677 0 OHM 1/10 W 5% 1608 R/TP R220 0RJ4701D677 4.7K OHM 1/10 W 5% 1608 R/TP R240 0RJ1001D677 1K OHM 1/10 W 5% 1608 R/TP R501 0RJ4701D677 4.7K OHM 1/10 W 5% 1608 R/TP R502 0RJ0000D677 0 OHM 1/10 W 5% 1608 R/TP R503 0RJ4701D677 4.7K OHM 1/10 W 5% 1608 R/TP R506 0RJ4701D677 4.7K OHM 1/10 W 5% 1608 R/TP R508 0RJ4701D677 4.7K OHM 1/10 W 5% 1608 R/TP R520 0RJ4701D677 4.7K OHM 1/10 W 5% 1608 R/TP R521 0RJ4701D677 4.7K OHM 1/10 W 5% 1608 R/TP R522 0RJ4701D677 4.7K OHM 1/10 W 5% 1608 R/TP R523 0RJ4701D677 4.7K OHM 1/10 W 5% 1608 R/TP R530 0RJ1002D677 10K OHM 1/10 W 5% 1608 R/TP R534 0RJ0000D677 0 OHM 1/10 W 5% 1608 R/TP R535 0RJ3301D677 3.3K OHM 1/10 W 5% 1608 R/TP R537 0RJ3301D677 3.3K OHM 1/10 W 5% 1608 R/TP R543 0RJ4701D677 4.7K OHM 1/10 W 5% 1608 R/TP R544 0RJ4701D677 4.7K OHM 1/10 W 5% 1608 R/TP R545 0RJ4700D677 470 OHM 1/10 W 5% 1608 R/TP R547 0RJ4700D677 470 OHM 1/10 W 5% 1608 R/TP R548 0RJ0332D677 33 OHM 1/10 W 5% 1608 R/TP R549 0RJ0332D677 33 OHM 1/10 W 5% 1608 R/TP R555 0RJ1000D677 100 OHM 1/10 W 5% 1608 R/TP R557 0RJ1000D677 100 OHM 1/10 W 5% 1608 R/TP R560 0RJ1501D677 1.5K OHM 1/10 W 5% 1608 R/TP-L1750H R560 0RJ4702D677 47000 OHM 1/10 W 5% 1608 R/T-L1950H R701 0RJ0752D677 75 OHM 1/10 W 5% 1608 R/TP R702 0RJ2001D677 2K OHM 1/10 W 5% 1608 R/TP R703 0RJ0752D677 75 OHM 1/10 W 5% 1608 R/TP R704 0RJ2001D677 2K OHM 1/10 W 5% 1608 R/TP R706 0RJ0752D677 75 OHM 1/10 W 5% 1608 R/TP R708 0RJ4700D677 470 OHM 1/10 W 5% 1608 R/TP R709 0RJ4700D677 470 OHM 1/10 W 5% 1608 R/TP R712 0RJ0102D677 10 OHM 1/10 W 5% 1608 R/TP R716 0RJ4701D677 4.7K OHM 1/10 W 5% 1608 R/TP R717 0RJ4701D677 4.7K OHM 1/10 W 5% 1608 R/TP R720 0RJ0000D677 0 OHM 1/10 W 5% 1608 R/TP R722 0RJ1000D677 100 OHM 1/10 W 5% 1608 R/TP R723 0RJ0332D677 33 OHM 1/10 W 5% 1608 R/TP R724 0RJ0332D677 33 OHM 1/10 W 5% 1608 R/TP R726 0RJ1002D677 10K OHM 1/10 W 5% 1608 R/TP R727 0RJ1002D677 10K OHM 1/10 W 5% 1608 R/TP R728 0RJ0222D677 22 OHM 1/10 W 5% 1608 R/TP R729 0RJ0222D677 22 OHM 1/10 W 5% 1608 R/TP R730 0RJ1000D677 100 OHM 1/10 W 5% 1608 R/TP R731 0RJ4700D677 470 OHM 1/10 W 5% 1608 R/TP R737 0RJ0000D677 0 OHM 1/10 W 5% 1608 R/TP R744 0RJ4701D677 4.7K OHM 1/10 W 5% 1608 R/TP R747 0RJ4701D677 4.7K OHM 1/10 W 5% 1608 R/TP R751 0RJ4700D677 470 OHM 1/10 W 5% 1608 R/TP DATE: 2005. 01. 26. *S *AL LOC. NO. PART NO. DESCRIPTION / SPECIFICATION R752 0RJ1000D677 100 OHM 1/10 W 5% 1608 R/TP R753 0RJ1000D677 100 OHM 1/10 W 5% 1608 R/TP R754 0RJ1000D677 100 OHM 1/10 W 5% 1608 R/TP R755 0RJ1000D677 100 OHM 1/10 W 5% 1608 R/TP R763 0RJ1002D677 10K OHM 1/10 W 5% 1608 R/TP R764 0RJ1002D677 10K OHM 1/10 W 5% 1608 R/TP R765 0RJ0332D677 33 OHM 1/10 W 5% 1608 R/TP R766 0RJ0332D677 33 OHM 1/10 W 5% 1608 R/TP R769 0RJ0000D677 0 OHM 1/10 W 5% 1608 R/TP R772 0RJ0122D677 12 OHM 1/10 W 5% 1608 R/TP R773 0RJ0122D677 12 OHM 1/10 W 5% 1608 R/TP R774 0RJ0122D677 12 OHM 1/10 W 5% 1608 R/TP R775 0RJ0122D677 12 OHM 1/10 W 5% 1608 R/TP R776 0RJ0122D677 12 OHM 1/10 W 5% 1608 R/TP R777 0RJ0122D677 12 OHM 1/10 W 5% 1608 R/TP R778 0RJ0682D677 68 OHM 1/10 W 5% 1608 R/TP R781 0RJ0682D677 68 OHM 1/10 W 5% 1608 R/TP R803 0RH0000D622 0 OHM 1 / 10 W 2012 5.00% D R804 0RJ1002D677 10K OHM 1/10 W 5% 1608 R/TP-L1750H R805 0RH2000D622 200 OHM 1 / 10 W 5% D R/TP-L1750H R806 0RH2000D622 200 OHM 1 / 10 W 5% D R/TP-L1750H R808 0RJ0000D677 0 OHM 1/10 W 5% 1608 R/TP R814 0RJ2202D677 22K OHM 1/10 W 5% 1608 R/TP-L1950H R815 0RJ5600D677 560 OHM 1/10 W 5% 1608 R/TP-L1950H R816 0RJ1002D677 10K OHM 1/10 W 5% 1608 R/TP R820 0RJ0000D677 0 OHM 1/10 W 5% 1608 R/TP R821 0RH0000D622 0 OHM 1 / 10 W 2012 5.00% D R824 0RJ0272D677 27 OHM 1/10 W 5% 1608 R/TP R825 0RJ2000D677 200 OHM 1/10 W 5% 1608 R/TP X501 6212AA2005C HC-49S TXC 12MHZ +/- 30 PPM C1 0CK104CK56A 0.1UF 1608 50V 10% R/TP X7R C2 0CK104CK56A 0.1UF 1608 50V 10% R/TP X7R LED1 0DLLT0208AA LITEON LTST-C155KGJSKT R/TP R1 0RJ4701D677 4.7K OHM 1/10 W 5% 1608 R/TP R2 0RJ4701D677 4.7K OHM 1/10 W 5% 1608 R/TP R3 0RJ2001D677 2K OHM 1/10 W 5% 1608 R/TP R4 0RJ2001D677 2K OHM 1/10 W 5% 1608 R/TP R5 0RJ4701D677 4.7K OHM 1/10 W 5% 1608 R/TP SW1 6600TR1002A SKQGACE010 J-ALPS NON 12V 50 SW2 6600TR1002A SKQGACE010 J-ALPS NON 12V 50 SW3 6600TR1002A SKQGACE010 J-ALPS NON 12V 50 SW4 6600TR1002A SKQGACE010 J-ALPS NON 12V 50 SW5 6600TR1002A SKQGACE010 J-ALPS NON 12V 50 ZD1 0DZ560009GB "BZT52C5V6S-(F),LF DIODES R/T" ZD2 0DZ560009GB "BZT52C5V6S-(F),LF DIODES R/T" - 23 - OTHERs CONTROL BOARD RESISTORs http://www.wjel.net SCHEMATIC DIAGRAM - 24 - 1. TSU56AL / TSU16AL 1 Waveforms U201-#96, 97 3 R216, R778 H-Sync 3 R217, R781 V-Sync 1 3 http://www.wjel.net - 25 - 2. MICOM 2 U501-#43 H-SYNC 2 U501-#44 V-SYNC Waveforms 2 http://www.wjel.net - 26 - 3.POWER http://www.wjel.net - 27 - 4. CONNECTOR & JACKS 3 Waveforms R216, R778 H-Sync 3 R217, R781 V-Sync 3 http://www.wjel.net Jan. 2005 P/NO : 3828TSL096N Printed in Korea http://www.wjel.net

标签:

版权声明

1. 本站所有素材,仅限学习交流,仅展示部分内容,如需查看完整内容,请下载原文件。
2. 会员在本站下载的所有素材,只拥有使用权,著作权归原作者所有。
3. 所有素材,未经合法授权,请勿用于商业用途,会员不得以任何形式发布、传播、复制、转售该素材,否则一律封号处理。
4. 如果素材损害你的权益请联系客服QQ:77594475 处理。