LG L1715S液晶显示器维修手册

分类:电子电工 日期: 点击:0
LG L1715S液晶显示器维修手册-0 LG L1715S液晶显示器维修手册-1 LG L1715S液晶显示器维修手册-2 LG L1715S液晶显示器维修手册-3 LG L1715S液晶显示器维修手册-4 LG L1715S液晶显示器维修手册-5 LG L1715S液晶显示器维修手册-6 LG L1715S液晶显示器维修手册-7 LG L1715S液晶显示器维修手册-8 LG L1715S液晶显示器维修手册-9

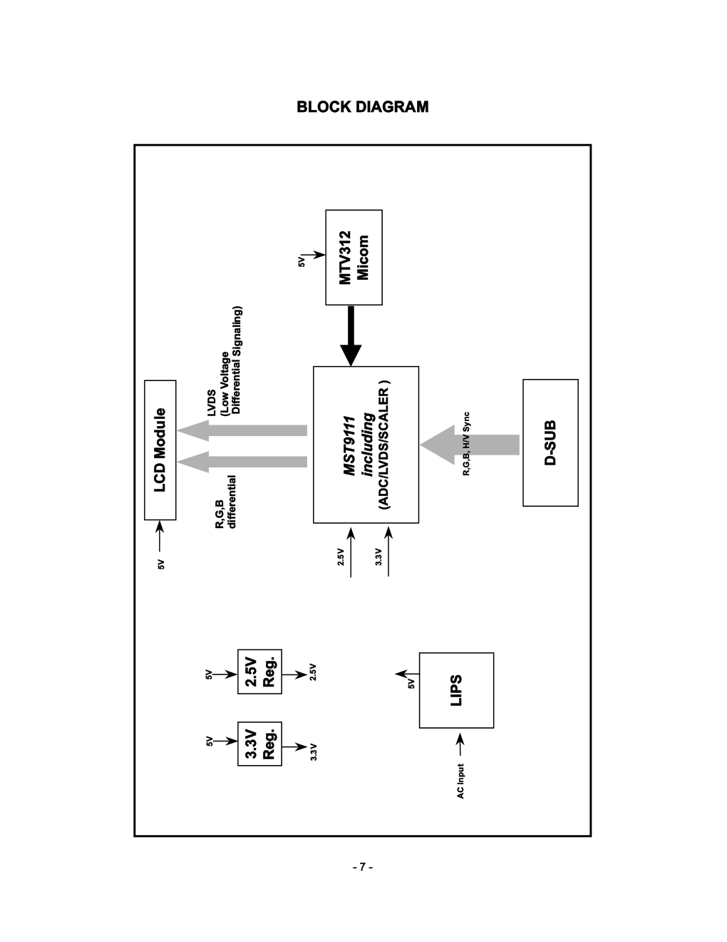
ÝÑÔÑÎ ÓÑÒ×ÌÑÎ ÍÛÎÊ×ÝÛ ÓßÒËßÔ É»¾-·¬»æ¸¬¬°æññ¾·¦òÔÙ-»®ª·½»ò½±³ Û󳿷´æ¸¬¬°æññ©©©òÔÙÛ-»®ª·½»ò½±³ñ¬»½¸-«°ò¸¬³´ ÝßËÌ×ÑÒ ÞÛÚÑÎÛ ÍÛÎÊ×Ý×ÒÙ ÌØÛ ËÒ×Ìô ÎÛßÜ ÌØÛ ÍßÚÛÌÇ ÐÎÛÝßËÌ×ÑÒÍ ×Ò ÌØ×Í ÓßÒËßÔò ÝØßÍÍ×Í ÒÑò æ ÝÔóìí ÓÑÜÛÔæ ÔïéïëÍ øÔïéïëÍÔóßÔööÎ÷ ÔïéïêÍ øÔïéïêÍÔóßÔööÎ÷ ø ÷ ööÍ¿³» ³±¼»´ º±® Í»®ª·½» ïò ÔÝÜ ÝØßÎßÝÌÛÎ×ÍÌ×ÝÍ Ì§°» æ ÌÚÌ ÍÈÙß ÔÝÜ Í·¦» æ ïé ·²½¸ з¨»´ з¬½¸ æ ðòîêì øØ÷ ¨ ðòîêì øÊ÷ ݱ´±® Ü»°¬¸ æ ïêòîÓ ½±´±®- Û´»½¬®·½¿´ ײ¬»®º¿½» æ ÔÊÜÍ Í«®º¿½» Ì®»¿¬³»²¬ æ Ø¿®¼ó½±¿¬·²¹øíØ÷ Ѱ»®¿¬·²¹ Ó±¼» æ Ò±®³¿´´§ ɸ·¬» Þ¿½µ´·¹¸¬ ˲·¬ æ ̱°ñÞ±¬¬±³ »¼¹» -·¼» ìóÝÝÚÔ øÝ±´¼ Ý¿¬¸±¼» Ú´«±®»-½»²¬ Ô¿³°÷ îò ÑÐÌ×ÝßÔ ÝØßÎßÝÌÛÎ×ÍÌ×ÝÍ îóïò Ê·»©·²¹ ß²¹´» ¾§ ݱ²¬®¿-¬ ο¬·± ïð Ô»º¬ æ óêð• ³·²òô óéð•øÌ§°÷ η¹¸¬ æ õêð• ³·²òô õéð•øÌ§°÷ ̱° æõëð• ³·²òô õêð•øÌ§°÷ Þ±¬¬±³ æ óì땳·²òô óêð•øÌ§°÷ îóîò Ô«³·²¿²½» æ îððø³·²÷ô îëðøÌ§°÷ îóíò ݱ²¬®¿-¬ ο¬·± æ íððø³·²÷ô ìððøÌ§°÷ íò Í×ÙÒßÔ øÎ»º»® ¬± ¬¸» Ì·³·²¹ ݸ¿®¬÷ íóïò ͧ²½ Í·¹²¿´ { ̧°» æ Í»°¿®¿¬» ͧ²½ô ÍÑÙ øÍ§²½ Ѳ Ù®»»²÷ ݱ³°±-·¬» ͧ²½ íóîò Ê·¼»± ײ°«¬ Í·¹²¿´ ï÷ ̧°» æ Îô Ùô Þ ß²¿´±¹ î÷ ʱ´¬¿¹» Ô»ª»´ æ ð¢ðòéï Ê ¿÷ ݱ´±® ðô ð æ ð Ê°ó° ¾÷ ݱ´±® éô ð æ ðòìêé Ê°ó° ½÷ ݱ´±® ïëô ð æ ðòéïì ʰó° í÷ ײ°«¬ ׳°»¼¿²½» æ éë íóíò Ѱ»®¿¬·²¹ Ú®»¯«»²½§ ر®·¦±²¬¿´ æ íð ¢ èíµØ¦ Ê»®¬·½¿´ æ ëê ¢ éëØ¦ ìò Ó¿¨ò λ-±´«¬·±² ß²¿´±¹ æ ïîèð ¨ ïðîì ñ éëØ¦ ëò ÐÑÉÛÎ ÍËÐÐÔÇ ëóïò б©»® æ ßÝ ïðð¢îìðÊô ëðñêðØ¦ ô ïòðß ëóîò б©»® ݱ²-«³°¬·±² êò ÛÒÊ×ÎÑÒÓÛÒÌ êóïò Ѱ»®¿¬·²¹ Ì»³°»®¿¬«®»æ ïð•Ý¢íë•Ý øëð•Ú¢çë•Ú÷ øß³¾·»²¬÷ êóîò λ´¿¬·ª» Ø«³·¼·¬§ æ ïðû¢èðû øÒ±²ó½±²¼»²-·²¹÷ êóíò ÓÌÞÚ æ ëðôððð Ø±«®-øÓ·²÷ éò Ü×ÓÛÒÍ×ÑÒÍ ø©·¬¸ Ì×ÔÌñÍÉ×ÊÛÔ÷ øÚ«´´ ˰ б-·¬·±²÷ É·¼¬¸ æ íèê ³³ øïëòîðùù÷ Ü»°¬¸ æ ïëî ³³ øëòçèùù÷ Ø»·¹¸¬ æ íéî ³³ øïìòêëùù÷ øÚ±´¼»¼´ б-·¬·±²÷ É·¼¬¸ æ íèê ³³ øïëòîðùù÷ Ü»°¬¸ æ êê ³³ øîòêðùù÷ Ø»·¹¸¬ æ ìðî ³³ øïëòèíùù÷ èò ÉÛ×ÙØÌ ø©·¬¸ Ì×ÔÌñÍÉ×ÊÛÔ÷ Ò»¬ò É»·¹¸¬ æ ìòí µ¹ øçòìè ´¾-÷ Ù®±-- É»·¹¸¬ æ ëòé µ¹ øïîòëé ´¾-÷ ÝÑÒÌÛÒÌÍ ÍÐÛÝ×Ú×ÝßÌ×ÑÒÍ ó î ó ÍÐÛÝ×Ú×ÝßÌ×ÑÒÍ òòòòòòòòòòòòòòòòòòòòòòòòòòòòòòòòòòòòòòòòòòòòòòòòòòò î ÐÎÛÝßËÌ×ÑÒÍ òòòòòòòòòòòòòòòòòòòòòòòòòòòòòòòòòòòòòòòòòòòòòòòòòòòòòòò í Ì×Ó×ÒÙ ÝØßÎÌ òòòòòòòòòòòòòòòòòòòòòòòòòòòòòòòòòòòòòòòòòòòòòòòòòòòòòòò ì ÑÐÛÎßÌ×ÒÙ ×ÒÍÌÎËÝÌ×ÑÒÍ òòòòòòòòòòòòòòòòòòòòòòòòòòòòòòòò ë É×Î×ÒÙ Ü×ßÙÎßÓ òòòòòòòòòòòòòòòòòòòòòòòòòòòòòòòòòòòòòòòòòòòòòòòòò ê ÞÔÑÝÕ Ü×ßÙÎßÓ òòòòòòòòòòòòòòòòòòòòòòòòòòòòòòòòòòòòòòòòòòòòòòòòòòò é ÜÛÍÝÎ×ÐÌ×ÑÒ ÑÚ ÞÔÑÝÕ Ü×ßÙÎßÓòòòòòòòòòòòòòòòòòòòòòè ßÜÖËÍÌÓÛÒÌ òòòòòòòòòòòòòòòòòòòòòòòòòòòòòòòòòòòòòòòòòòòòòòòòòòòòòò ïð ÌÎÑËÞÔÛÍØÑÑÌ×ÒÙ ÙË×ÜÛ òòòòòòòòòòòòòòòòòòòòòòòòòòòòòò ïï ÐÎ×ÒÌÛÜ Ý×ÎÝË×Ì ÞÑßÎÜòòòòòòòòòòòòòòòòòòòòòòòòòòòòòòòòòòò ïë ÛÈÐÔÑÜÛÜ Ê×ÛÉòòòòòòòòòòòòòòòòòòòòòòòòòòòòòòòòòòòòòòòòòòòòòòòòòòòïç ÎÛÐÔßÝÛÓÛÒÌ ÐßÎÌÍ Ô×ÍÌ òòòòòòòòòòòòòòòòòòòòòòòòòòòòòòòîï ÍÝØÛÓßÌ×Ý Ü×ßÙÎßÓòòòòòòòòòòòòòòòòòòòòòòòòòòòòòòòòòòòòòòòòò îë ÓÑÜÛ ÐÑÉÛÎ ÑÒ øÒÑÎÓßÔ÷ ÍÌßÒÜóÞÇ ÍËÍÐÛÒÜ ÜÐÓÍ ÑÚÚ ØñÊ ÍÇÒÝ ÑÒñÑÒ ÑÚÚñÑÒ ÑÒñÑÚÚ ÑÚÚñÑÚÚ ÐÑÉÛÎ ÝÑÒÍËÓÐÌ×ÑÒ ´»-- ¬¸¿² ìð É ´»-- ¬¸¿² î É ´»-- ¬¸¿² î É ´»-- ¬¸¿² î É ÔÛÜ ÝÑÔÑÎ ÙÎÛÛÒ ßÓÞÛÎ ßÓÞÛÎ ßÓÞÛÎ Ê×ÜÛÑ ßÝÌ×ÊÛ ÑÚÚ ÑÚÚ ÑÚÚ ó í ó ÉßÎÒ×ÒÙ ÚÑÎ ÌØÛ ÍßÚÛÌÇóÎÛÔßÌÛÜ ÝÑÓÐÑÒÛÒÌò { ̸»®» ¿®» -±³» -°»½·¿´ ½±³°±²»²¬- «-»¼ ·² ÔÝÜ ³±²·¬±® ¬¸¿¬ ¿®» ·³°±®¬¿²¬ º±® -¿º»¬§ò ̸»-» °¿®¬- ¿®» ³¿®µ»¼ ±² ¬¸» -½¸»³¿¬·½ ¼·¿¹®¿³ ¿²¼ ¬¸» ®»°´¿½»³»²¬ °¿®¬- ´·-¬ò ׬ ·- »--»²¬·¿´ ¬¸¿¬ ¬¸»-» ½®·¬·½¿´ °¿®¬- -¸±«´¼ ¾» ®»°´¿½»¼ ©·¬¸ ¬¸» ³¿²«º¿½¬«®»®K- -°»½·º·»¼ °¿®¬- ¬± °®»ª»²¬ »´»½¬®·½ -¸±½µô º·®» ±® ±¬¸»® ¸¿¦¿®¼ò { ܱ ²±¬ ³±¼·º§ ±®·¹·²¿´ ¼»-·¹² ©·¬¸±«¬ ±¾¬¿·²·²¹ ©®·¬¬»² °»®³·--·±² º®±³ ³¿²«º¿½¬«®»® ±® §±« ©·´´ ª±·¼ ¬¸» ±®·¹·²¿´ °¿®¬- ¿²¼ ´¿¾±® ¹«¿®¿²¬»»ò ÌßÕÛ ÝßÎÛ ÜËÎ×ÒÙ ØßÒÜÔ×ÒÙ ÌØÛ ÔÝÜ ÓÑÜËÔÛ É×ÌØ ÞßÝÕÔ×ÙØÌ ËÒ×Ìò { Ó«-¬ ³±«²¬ ¬¸» ³±¼«´» «-·²¹ ³±«²¬·²¹ ¸±´»- ¿®®¿²¹»¼ ·² º±«® ½±®²»®-ò { ܱ ²±¬ °®»-- ±² ¬¸» °¿²»´ô »¼¹» ±º ¬¸» º®¿³» -¬®±²¹´§ ±® »´»½¬®·½ -¸±½µ ¿- ¬¸·- ©·´´ ®»-«´¬ ·² ¼¿³¿¹» ¬± ¬¸» -½®»»²ò { ܱ ²±¬ -½®¿¬½¸ ±® °®»-- ±² ¬¸» °¿²»´ ©·¬¸ ¿²§ -¸¿®° ±¾¶»½¬-ô -«½¸ ¿- °»²½·´ ±® °»² ¿- ¬¸·- ³¿§ ®»-«´¬ ·² ¼¿³¿¹» ¬± ¬¸» °¿²»´ò { Ю±¬»½¬ ¬¸» ³±¼«´» º®±³ ¬¸» ÛÍÜ ¿- ·¬ ³¿§ ¼¿³¿¹» ¬¸» »´»½¬®±²·½ ½·®½«·¬ øÝóÓÑÍ÷ò { Ó¿µ» ½»®¬¿·² ¬¸¿¬ ¬®»¿¬³»²¬ °»®-±²K- ¾±¼§ ¿®» ¹®±«²¼»¼ ¬¸®±«¹¸ ©®·-¬ ¾¿²¼ò { ܱ ²±¬ ´»¿ª» ¬¸» ³±¼«´» ·² ¸·¹¸ ¬»³°»®¿¬«®» ¿²¼ ·² ¿®»¿- ±º ¸·¹¸ ¸«³·¼·¬§ º±® ¿ ´±²¹ ¬·³»ò { ̸» ³±¼«´» ²±¬ ¾» »¨°±-»¼ ¬± ¬¸» ¼·®»½¬ -«²´·¹¸¬ò { ߪ±·¼ ½±²¬¿½¬ ©·¬¸ ©¿¬»® ¿- ·¬ ³¿§ ¿ -¸±®¬ ½·®½«·¬ ©·¬¸·² ¬¸» ³±¼«´»ò { ׺ ¬¸» -«®º¿½» ±º °¿²»´ ¾»½±³» ¼·®¬§ô °´»¿-» ©·°» ·¬ ±ºº ©·¬¸ ¿ -±º¬³¿¬»®·¿´ò øÝ´»¿²·²¹ ©·¬¸ ¿ ¼·®¬§ ±® ®±«¹¸ ½´±¬¸ ³¿§ ¼¿³¿¹» ¬¸» °¿²»´ò÷ ÉßÎÒ×ÒÙ ÞÛ ÝßÎÛÚËÔ ÛÔÛÝÌÎ×Ý ÍØÑÝÕ ÿ { ׺ §±« ©¿²¬ ¬± ®»°´¿½» ©·¬¸ ¬¸» ²»© ¾¿½µ´·¹¸¬ øÝÝÚÔ÷ ±® ·²ª»®¬»® ½·®½«·¬ô ³«-¬ ¼·-½±²²»½¬ ¬¸» ßÝ ¿¼¿°¬»® ¾»½¿«-» ¸·¹¸ ª±´¬¿¹» ¿°°»¿®- ¿¬ ·²ª»®¬»® ½·®½«·¬ ¿¾±«¬ êëðÊ®³-ò { Ø¿²¼´» ©·¬¸ ½¿®» ©·®»- ±® ½±²²»½¬±®- ±º ¬¸» ·²ª»®¬»® ½·®½«·¬ò ׺ ¬¸» ©·®»- ¿®» °®»--»¼ ½¿«-» -¸±®¬ ¿²¼ ³¿§ ¾«®² ±® ¬¿µ» º·®»ò ÐÎÛÝßËÌ×ÑÒ ÝßËÌ×ÑÒ Ð´»¿-» «-» ±²´§ ¿ °´¿-¬·½ -½®»©¼®·ª»® ¬± °®±¬»½¬ §±«®-»´º º®±³ -¸±½µ ¸¿¦¿®¼ ¼«®·²¹ -»®ª·½» ±°»®¿¬·±²ò Ì×Ó×ÒÙ ÝØßÎÌ ó ì ó Ê×ÜÛÑ ÍÇÒÝ Þ Ü Ý Ú Û ß ää ܱ¬ Ý´±½µ øÓئ÷ô ر®·¦±²¬¿´ Ú®»¯«»²½§ øµØ¦÷ô Ê»®¬·½¿´ Ú®»¯«»²½§ øØ¦÷ô ر®·¦±²¬¿´ »¬½òòò øk-÷ô Ê»®¬·½¿´ »¬½òòò ø³-÷ ââ Ø õ íïòìêç èðð êìð ïê çê ìè Ê P éðòèØ¦ ììç íëð íé î êð Ø P íïòìêç èìð êìð ïê çê ìè Ê P ëçòçì ëîë ìèð ïð î íí Ø P íéòë èìð êìð ïê êì ïîð Ê P éë ëðð ìèð ï í ïê Ø P íïòìêè çðð éîð ïè ïðè ëì Ê õ éðòðç ììç ìðð ïî î íë Ø õ íéòèéç ïðëê èðð ìð ïîè èè Ê õ êðòíïé êîè êðð ï ì îí Ø õ ìêòèéë ïðëê èðð ïê èð ïêð Ê õ éëòð êîë êðð ï í îï Ø õñP ìçòéîë ïïëî èíî íî êì îîì Ê õñP éìòëë êêé êîì ï í íç Ø P ìèòíêí ïíìì ïðîì îì ïíê ïêð Ê P êðòð èðê éêè í ê îç Ø P êðòïîí ïíïî ïðîì ïê çê ïéê Ê P éëòðîç èðð éêè ï í îè Ø õñP êèòêèï ïìëê ïïëî íî ïîè ïìì Ê õñP éëòðêî çïë èéð í í íç Ø õñP êïòèðë ïëðì ïïëî ïè ïíì îðð Ê õñP êëòçê çíé çðð î ì íï Ø õ êíòçèï ïêèè ïîèð ìè ïïî îìè Ê õ êðòðî ïðêê ïðîì ï í íè Ø õ éçòçéê ïêèè ïîèð ïê ïìì îìè Ê õ éëòðíë ïðêê ïðîì ï í íè Ó±¼» ØñÊ Í±®¬ ï î í ì ë ê é è ç ïð ïï ïî ïí îëòïéë îèòíîï îëòïéë íïòë ìðòð ìçòë ëéòîèí êëòð éèòéë ïððòð çîòçéè ïðèòð ïíëòð êìð¨íëð éðØ¦ êìð¨ìèð êðØ¦ êìð¨ìèð éëØ¦ éîð¨ìðð éðØ¦ èðð¨êðð êðØ¦ èðð¨êðð éëØ¦ èíî¨êîì éëØ¦ ïðîì¨éêè êðØ¦ ïðîì¨éêè éëØ¦ ïïëî¨èéð éëØ¦ ïïëî¨çðð êëØ¦ ïîèð¨ïðîì êðØ¦ ïîèð¨ïðîì éëØ¦ ͧ²½ б´¿®·¬§ Ú®»¯«»²½§ ܱ¬ Ý´±½µ ̱¬¿´ л®·±¼ øÛ÷ Ê·¼»± ß½¬·ª» Ì·³» øß÷ ͧ²½ Ü«®¿¬·±² øÜ÷ Þ¿½µ б®½¸ øÚ÷ Ú®±²¬ б®½¸ øÝ÷ λ-±´«¬·±² ó ë ó Þ®·²¹ «° ݱ²¬®¿-¬ ¿²¼ Þ®·¹¸¬²»-- ¿¼¶«-¬³»²¬ò æ ïò б©»® ÑÒñÑÚÚ Þ«¬¬±² Ë-» ¬¸·- ¾«¬¬±² ¬± ¬«®² ¬¸» ³±²·¬±® ±² ±® ±ººò б©»® ײ¼·½¿¬±® ̸·- ·²¼·½¿¬±® ´·¹¸¬- «° ¹®»»² ©¸»² ¬¸» ³±²·¬±® ±°»®¿¬»- ²±®³¿´´§ò ׺ ¬¸» ¼·-°´¿§ ·- ·² ÜÐÓøÛ²»®¹§ Í¿ª·²¹÷³±¼»ô ¬¸·- ·²¼·½¿¬±® ½±´±® ½¸¿²¹» ¬± ¿³¾»®ò îò ÓÛÒË Þ«¬¬±² Ë-» ¬¸·- ¾«¬¬±² ¬± »²¬»® ±® »¨·¬ ¬¸» Ѳ ͽ®»»² Ü·-°´¿§ò íò • • • • • • • • Þ«¬¬±² Ë-» ¬¸»-» ¾«¬¬±²- ¬± ½¸±±-» ±® ¿¼¶«-¬ ·¬»³- ·² ¬¸» Ѳ ͽ®»»² Ü·-°´¿§ò ìò ÍÛÔÛÝÌñ ßËÌÑÞ«¬¬±² Ë-» ¬¸·- ¾«¬¬±² ¬± »²¬»® ¿ -»´»½¬·±² ·² ¬¸» Ѳ ͽ®»»² Ü·-°´¿§ò ÚÎÑÒÌ Ê×ÛÉ ÎÛßÎ Ê×ÛÉ ÑÐÛÎßÌ×ÒÙ ×ÒÍÌÎËÝÌ×ÑÒÍ ÜóÍ«¾ Í·¹²¿´ ݱ²²»½¬ Ú®±²¬ ݱ²¬®±´ п²»´ ï í î ì ïðð ïðð ɸ»² ¿¼¶«-¬·²¹ §±«® ¼·-°´¿§ -»¬¬·²¹-ô ¿´©¿§- °®»-- ¬¸» ÍÛÔÛÝÌñßËÌÑ ¾«¬¬±² ¾»º±®» »²¬»®·²¹ ¬¸» Ѳ ͽ®»»² Ü·-°´¿§øÑÍÜ÷ò ̸·- ©·´´ ¿«¬±³¿¬·½¿´´§ ¿¼¶«-¬ §±«® ¼·-°´¿§ ·³¿¹» ¬± ¬¸» ·¼»¿´ -»¬¬·²¹- º±® ¬¸» ½«®®»²¬ -½®»»² ®»-±´«¬·±² -·¦» ø¼·-°´¿§ ³±¼»÷ò ̸» ¾»-¬ ¼·-°´¿§ ³±¼» ·- ïîèð¨ïðîìàêðئò ̸·- º«²½¬·±² ±°¬·³·¦»- ¬¸» ¾®·¹¸¬²»--ô ½±²¬®¿-¬ ±® ½±´±® ª¿´«» ¬± ¬¸» -«®®±«²¼·²¹ ½±²¼·¬·±²- ¿²¼ -»¬¬·²¹- ¿²¼ »²¿¾´»- §±« ¬± »²¶±§ ¬¸» ³±-¬ -«·¬¿¾´» °·½¬«®» ¾§ ¿¼¶«-¬·²¹ ¬¸» -«®®±«²¼·²¹- øÜßÇñÒ×ÙØÌñËÍÛÎ ÓÑÜÛ÷ò { ÌÛÈÌæ Ú±® ª·»©·²¹ ´»¬¬»®- { ÓÑÊ×Ûæ Ú±® ª·»©·²¹ ³±ª·»- { ÐØÑÌÑæ Ú±® ª·»©·²¹ °·½¬«®»- ±® ¬¸» °¸±¬±¹®¿°¸- { ËÍÛÎ ÓÑÜÛæ ̸·- º«²½¬·±² ³»³±®·¦»- ¬¸» ³¿²«¿´ ¿¼¶«-¬³»²¬ óÞ®·¹¸¬²»--ô ݱ²¬®¿-¬ ¿²¼ ݱ´±® ª¿´«» ±² ¬¸» Ѳ ͽ®»»² Ü·-°´¿§ò Í»» Ú®±²¬ ݱ²¬®±´ п²»´ б©»® ݱ²²»½¬ ÔïéïëÍ ÔïéïêÍ í ï î ì Öéðê Öéðî Öéðé ÝÒî ÝÒï ÝÒì ÝÒí Öè Öï ó ê ó É×Î×ÒÙ Ü×ßÙÎßÓ Ý±²²»½¬±® ß--K§ ÐñÒæ êêíïÌîððîìÞ Ý±²²»½¬±® ß--K§ ÐñÒæ êêíïÌîððîðÏ Ý±²²»½¬±® ß--K§ ÐñÒæ êêíïÌïïðïîÉ Ì¸·- º«²½¬·±² ¿´´±©- §±« ¬± -»½«®» ¬¸» ½«®®»²¬ ½±²¬®±´ -»¬¬·²¹-ô -± ¬¸¿¬ ¬¸»§ ½¿²²±¬ ¾» ·²¿¼ª»®¬»²¬´§ ½¸¿²¹»¼ò Ю»-- ¿²¼ ¸±´¼ ¬¸» ÓÛÒË ¾«¬¬±² ¿²¼ ¾«¬¬±² º±® í -»½±²¼-æ ¬¸» ³»--¿¹» NÝÑÒÌÎÑÔÍ ÔÑÝÕÛÜM ¿°°»¿®-ò DZ« ½¿² «²´±½µ ¬¸» ÑÍÜ ½±²¬®±´- ¿¬ ¿²§ ¬·³» ¾§ °«-¸·²¹ ¬¸» ÓÛÒË ¾«¬¬±² ¿²¼ ¾«¬¬±² º±® í -»½±²¼-æ ¬¸» ³»--¿¹» NÝÑÒÌÎÑÔÍ ËÒÔÑÝÕÛÜM ©·´´ ¿°°»¿®ò ÝÑÒÌÎÑÔÍ ÔÑÝÕÛÜñËÒÔÑÝÕÛÜ æ ÓÛÒË ¿²¼ ó é ó ÜóÍËÞ ÓÍÌçïïï ·²½´«¼·²¹ øßÜÝñÔÊÜÍñÍÝßÔÛÎ ÷ ÓÌÊíïî Ó·½±³ ÔÝÜ Ó±¼«´» ÎôÙôÞ ¼·ºº»®»²¬·¿´ ÔÊÜÍ øÔ±© ʱ´¬¿¹» Ü·ºº»®»²¬·¿´ Í·¹²¿´·²¹÷ Ô×ÐÍ ëÊ ëÊ ëÊ ßÝ ×²°«¬ íòíÊ Î»¹ò îòëÊ Î»¹ò ëÊ ëÊ ÎôÙôÞô ØñÊ Í§²½ íòíÊ îòëÊ íòíÊ îòëÊ ÞÔÑÝÕ Ü×ßÙÎßÓ ó è ó ÜÛÍÝÎ×ÐÌ×ÑÒ ÑÚ ÞÔÑÝÕ Ü×ßÙÎßÓ ïò Ê·¼»± ݱ²¬®±´´»® ﮬ ú Ü·-°´¿§ Ü¿¬¿ Ì®¿²-³·¬¬»® ﮬòøÓÍÌçïïï÷ ̸·- °¿®¬ ¿³°´·º·»- ¬¸» ´»ª»´ ±º ª·¼»± -·¹²¿´ º±® ¬¸» ¼·¹·¬¿´ ½±²ª»®-·±² ¿²¼ ½±²ª»®¬- º®±³ ¬¸» ¿²¿´±¹ ª·¼»± -·¹²¿´ ¬± ¬¸» ¼·¹·¬¿´ ª·¼»± -·¹²¿´ «-·²¹ ¿ °·¨»´ ½´±½µò ̸» °·¨»´ ½´±½µ º±® »¿½¸ ³±¼» ·- ¹»²»®¿¬»¼ ¾§ ¬¸» ÐÔÔò ̸» ®¿²¹» ±º ¬¸» °·¨»´ ½´±½µ ·- º®±³ îëÓØ¦ ¬± ïíëÓØ¦ò ̸·- °¿®¬ ½±²-·-¬- ±º ¬¸» ͽ¿´»®ò ̸» ͽ¿´»® ¹»¬- ¬¸» ª·¼»± -·¹²¿´ ½±²ª»®¬»¼ ¿²¿´±¹ ¬± ¼·¹·¬¿´ô ·²¬»®°±´¿¬»- ·²°«¬ ¬± ïîèð ¨ ïðîì ®»-±´«¬·±² -·¹²¿´ ¿²¼ ±«¬°«¬- èó¾·¬ Îô Ùô Þ -·¹²¿´ ¬± ¬®¿²-³·¬¬»®ò Û-°»½·¿´´§ °®»ó¿³° ñ ßÜÝ ñ Ê·¼»± ½±²¬®±´´»®ñ Ì®¿²-³·¬¬»® ¿®» ³»®¹»¼ ¬± ±²» ½¸·° NÓÍÌçïïïM ¾§ ÓÍÌßÎò ̸·- °¿®¬ ¬®¿²-³·¬ ¼·¹·¬¿´ -·¹²¿´ º®±³ ¬¸» ͽ¿´»® ¬± ¬¸» ®»½»·ª»® ±º ³±¼«´»ò îò Ó·½±³ ﮬ ̸·- ﮬ ½±²-·-¬- ±º ÛÛÐÎÑÓ ×Ý ©¸·½¸ -¬±®»- ½±²¬®±´ ¼¿¬¿ô λ-»¬ ×Ý ¿²¼ ¬¸» Ó·½±³ò ̸» Ó·½±³ ¼·-¬·²¹«·-¸»- °±´¿®·¬§ ¿²¼ º®»¯«»²½§ ±º ¬¸» ØñÊ Í§²½ ¿®» -«°°´·»¼ º®±³ -·¹²¿´ ½¿¾´»ò ̸» ½±²¬®±´´»¼ ¼¿¬¿ ±º »¿½¸ ³±¼»- ·- -¬±®»¼ ·² ÛÛÐÎÑÓò íò б©»® ﮬ ̸·- °¿®¬ ½±²-·-¬- ±º ¬¸» ±²» íòíÊ ¿²¼ ±²» îòë ®»¹«´¿¬±®- ¬± ½±²ª»®¬ °±©»® ©¸·½¸ ·- °®±ª·¼»¼ ëÊ ·² Ô×ÐÍ Þ±¿®¼ò ëÊ ·- °®±ª·¼»¼ º±® ÔÝÜ Ð¿²»´ò ß´-±ô ëÊ ·- ½±²ª»®¬»¼ íòíÊ ¿²¼ îòëÊ ¾§ ®»¹«´¿¬±®ò ݱ²ª»®¬»¼ °±©»® ·- °®±ª·¼»¼ º±® ×Ý ·² ¬¸» ³¿·² ¾±¿®¼ò ó ç ó ÛÓ× ÝÑÓÐÑÒÛÒÌÍ Ô×ÒÛ ïðð ¢ îìðÊ ×ÒÐËÌ ÎÛÝÌ×Ú×ÛÎ ßÒÜ Ú×ÔÌÛÎ ÛÒÛÎÙÇ ÌÎßÒÍÚÛÎ ÑËÌÐËÌ ÎÛÝÌ×Ú×ÛÎ ßÒÜ Ú×ÔÌÛÎ ïîÊ ëÊ ÙÒÜ Í×ÙÒßÔ ÝÑÔÔÛÝÌ× ÑÒ ÐØÑÌÑó ÝÑËÐÔÛÎ ×ÍÑÔßÌ×ÑÒ ÐÉÓ ÝÑÒÌÎÑÔ Ý×ÎÝË×Ì ØÊÜÝ ïððÕØ¦ ÐÎ×ÓßÎÇ ÍÛÝÑÒÜßÎÇ ëð ¢ êðØ¦ Ñ°»®¿¬·±² ¼»-½®·°¬·±²ÁÔ×ÐÍ Ô×ÐÍ Þ±¿®¼ Þ´±½µ Ü·¿¹®¿³ ïò ÛÓ× ½±³°±²»²¬-ò ̸·- °¿®¬ ½±²¬¿·²- ±º ÛÓ× ½±³°±²»²¬- ¬± ½±³°´§ ©·¬¸ ¹´±¾¿´ ³¿®µ»¬·²¹ ÛÓ× -¬¿²¼¿®¼- ´·µ» ÚÝÝô ÊÝÝ× Ý×ÍÐÎô ¬¸» ½·®½«·¬ ·²½´«¼»¼ ¿ ´·²»óº·´¬»®ô ¿½®±-- ´·²» ½¿°¿½·¬±® ¿²¼ ±º ½±«®-» ¬¸» °®·³¿®§ °®±¬»½¬·±² º«-»ò îò ײ°«¬ ®»½¬·º·»® ¿²¼ º·´¬»®ò ̸·- °¿®¬ º«²½¬·±² ·- º±® ¬®¿²-º»® ¬¸» ·²°«¬ ßÝ ª±´¬¿¹» ¬± ¿ ÜÝ ª±´¬¿¹» ¬¸®±«¹¸ ¿ ¾®·¼¹» ®»½¬·º·»® ¿²¼ ¿ ¾«´µ ½¿°¿½·¬±®ò íò Û²»®¹§ Ì®¿²-º»®ò ̸·- °¿®¬ º«²½¬·±² ·- ¬®¿²-º»® ¬¸» °®·³¿®§ »²»®¹§ ¬± -»½±²¼¿®§ ¬¸®±«¹¸ ¿ °±©»® ¬®¿²-º±®³»®ò ìò Ñ«¬°«¬ ®»½¬·º·»® ¿²¼ º·´¬»®ò ̸·- °¿®¬ º«²½¬·±² ·- ¬± ³¿µ» ¿ °«´-» ©·¼¬¸ ³±¼«´¿¬·±² ½±²¬®±´ ¿²¼ ¬± °®±ª·¼» ¬¸» ¼®·ª»® -·¹²¿´ ¬± °±©»® -©·¬½¸ô ¬± ¿¼¶«-¬ ¬¸» ¼«¬§ ½§½´» ¼«®·²¹ ¼·ºº»®»²¬ ßÝ ·²°«¬ ¿²¼ ±«¬°«¬ ´±¿¼·²¹ ½±²¼·¬·±² ¬± ¿½¸·ª» ¬¸» ¼½ ±«¬°«¬ -¬¿¾´·¦»ô ¿²¼ ¿´-± ¬¸» ±ª»® °±©»® °®±¬»½¬·±² ·- ¿´-± ³±²·¬±® ¾§ ¬¸·- °¿®¬ò ëò 豬±óݱ«°´»® ·-±´¿¬·±²ò ̸·- °¿®¬ º«²½¬·±² ·- ¬± º»»¼ ¾¿½µ ¬¸» ¼½ ±«¬°«¬ ½¸¿²¹·²¹ -¬¿¬«- ¬¸®±«¹¸ ¿ °¸±¬± ¬®¿²-·-¬±® ¬± °®·³¿®§ ½±²¬®±´´»® ¬± ¿½¸·»ª» ¬¸» -¬¿¾·´·¦»¼ ¼½ ±«¬°«¬ ª±´¬¿¹»ò êò Í·¹²¿´ ½±´´»½¬·±²ò ̸·- °¿®¬ º«²½¬·±² ·- ¬± ½±´´»½¬ ¬¸» ¿²§ ½¸¿²¹» º®±³ ¬¸» ¼½ ±«¬°«¬ ¿²¼ º»»¼ ¾¿½µ ¬± ¬¸» °®·³¿®§ ¬¸®±«¹¸ °¸±¬± ¬®¿²-·-¬±®ò ó ïð ó ßÜÖËÍÌÓÛÒÌ ×ÞÓ Ý±³°¿¬·¾´» ÐÝ Ê·¼»± Í·¹²¿´ Ù»²»®¿¬±® ÐßÎßÔÔÛÔ ÐÑÎÌ Ð±©»® ·²´»¬ ø®»¯«·®»¼÷ б©»® ÔÛÜ ÍÌ Í©·¬½¸ б©»® Í»´»½¬ Í©·¬½¸ øïïðÊñîîðÊ÷ ݱ²¬®±´ Ô·²» Ò±¬ «-»¼ ÎÍîíîÝ ÐßÎßÔÔÛÔ ÊÙÍ ÓÑÒ×ÌÑÎ Û Û Êóͧ²½ ѲñѺº Í©·¬½¸ øÍ©·¬½¸ ³«-¬ ¾» ÑÒò÷ Ú Ú ß ß Þ Þ Ý Ý ïë ïð ë ë ê ç ï ï ï ïì ïí îë ê ëÊ ëÊ ëÊ ìòéÕ ìòéÕ ìòéÕ éìÔÍðê éìÔÍðê ÑÚÚ ÑÒ ÑÚÚ ÑÒ ïï Ú·¹«®» ïò Ý¿¾´» ݱ²²»½¬·±² ß´´ ¿¼¶«-¬³»²¬ ¿®» ¬¸±®±«¹¸´§ ½¸»½µ»¼ ¿²¼ ½±®®»½¬»¼ ©¸»² ¬¸» ³±²·¬±® ´»¿ª»- ¬¸» º¿½¬±®§ô ¾«¬ -±³»¬·³»- -»ª»®¿´ ³·²±® ¿¼¶«-¬³»²¬ ³¿§ ¾» ®»¯«·®»¼ò ß¼¶«-¬³»²¬ -¸±«´¼ ¾» º±´´±©·²¹ °®±½»¼«®» ¿²¼ ¿º¬»® ©¿®³·²¹ «° º±® ¿ ³·²·³«³ ±º ïð ³·²«¬»-ò { ß´·¹²³»²¬ ¿°°´·¿²½»- ¿²¼ ¬±±´-ò ó ×ÞÓ ½±³°¿¬·¾´» ÐÝ ó Ю±¹®¿³³¿¾´» Í·¹²¿´ Ù»²»®¿¬±®ò ø»¹ò ÊÙóèïç ³¿¼» ¾§ ß-¬®±¼»-·¹² ݱò÷ ó ÛøÛ÷ÐÎÑÓ ©·¬¸ »¿½¸ ³±¼» ¼¿¬¿ -¿ª»¼ò ïò ß¼¶«-¬³»²¬ °®±½»-- º±® ÔÝÜ ÓÑÒ×ÌÑÎ ï÷ Ü·-°´¿§ ¸¿´º ©·²¼±© °¿¬¬»®²ø±® ³·¨»¼ ©¸·¬» ¿²¼ ¾´¿½µ °¿¬¬»®²÷¿¬ Ó±¼» è øïðîì¨éêèàêðئ÷ò î÷ Ю»-- ¬¸» ÐÑÉÛÎ ¿²¼ ÓÛÒË µ»§ ¿¬ ¬¸» -¿³» ¬·³» ¬± ´·¹¸¬ ³±²·¬±®ô ¬¸»² ¹± ¬± ¿¼¶«-¬³»²¬ ³±¼»ò í÷ Ю»-- ¬¸» ÓÛÒË -ñ©ô ²»¨¬ °®»-- ËÐ ¾«¬¬±²ô §±« ©·´´ -»» ¿¼¶«-¬³»²¬ ÑÍÜ ³»²«ò ì÷ Ю»-- ¬¸» ßËÌÑñÍÛÔÛÝÌ ¬± -»´»½¬ ¬¸» ¿¼¶«-¬³»²¬ ·¬»³ º·®-¬ø«-» ¬¸» -¿³» ¾«¬¬±² ¬± »¨·¬÷²»¨¬ ¼± ¬¸» ±°»®¿¬·±² ¬± ¬¸» ®»´¿¬·ª» ·¬»³òÛ¨÷ ïéØÇÜ×Í ·- «-»¼ ¿¬ ïéßËô °®»-- ®·¹¸¬ ¾«¬¬±² ¬± -»´»½¬ò Ю»-- ¬¸» ßËÌÑñÍÛÔÛÝÌ ¬¸»² -»´»½¬»¼ °®±°»® Ó±¼«´»ò ë÷ Ю»-- ¼±©² ¾«¬¬±² ¬± ³±ª» ¬¸» °´¿½» ±º ßÜÝ ÝßÔò Ю»-- ¬¸» ßËÌÑñÍÛÔÛÝÌ ¬± -»´»½¬ô ®·¹¸¬ ¾«¬¬±² ·- °®»--»¼ º±® ¿¼¶«-¬³»²¬ò ê÷ ɸ»² ¿¼¶«-¬³»²¬ ·- º·²·-¸»¼ô °®»-- ¬¸» ÐÑÉÛÎ µ»§ ¬©·½» ¬± ´·¹¸¬ ³±²·¬±® ¿¹¿·²ò ̸» ¼¿¶«-¬³»²¬ »²¼-ò îò ß¼¶«-¬³»²¬ º±® ÛÜ×Ü ï÷ Ë-» ¬¸·- °®±½»¼«®» ±²´§ ©¸»² ¬¸»®» ·- -±³» °®±¾»´³ ±² ÛÜ×Ü ¼¿¬¿ò î÷ ݱ²²»½¬ ¬¸» Üó-«¾ ½¿¾´»ò í÷ Í»´»½¬ ÛÜ×Ü É®·¬» ÛÜ×ÜÅßðà ½±³³¿²¼ ¿²¼ Û²¬»®ò ó ïï ó ÌÎÑËÞÔÛÍØÑÑÌ×ÒÙ ÙË×ÜÛ ïò ÒÑ ÐÑÉÛÎ ÒÑ ÐÑÉÛÎ øÐÑÉÛÎ ×ÒÜ×ÝßÌÑÎ ÑÚÚ÷ ÝØÛÝÕ ÐÑÉÛÎ ÞÑßÎÜô ßÒÜ Ú×ÒÜ ÑËÌ ß ÍØÑÎÌ ÐÑ×ÒÌ ßÍ ÑÐÛÒ×ÒÙ ÛßÝØ ÐÑÉÛÎ Ô×ÒÛ ÝØÛÝÕ Öéðë ÊÑÔÌßÙÛ Ð×Òëô Ð×Òê øëÊ÷á ÒÑ ÝØÛÝÕ ëÊÍ Ô×ÒÛ øÑÐÛÒ ÝØÛÝÕ÷ ÝØÛÝÕ Ëëðï Ð×Ò è ʱ´¬¿¹» øëÊ÷ á ÒÑ ÝØÛÝÕ ××Ý Ô×ÒÛ ÝÑÒÒÛÝÌ×ÑÒ øËëðïô Ëëðî÷ ÝØÛÝÕ Ëîðï ÊÝÝô ÈÌßÔô ÎÛÍÛÌ ×Í Ëîðï Ð×Òïïì øíòíÊ÷ ÊÑÔÌßÙÛ ÎÛÐÛßÌÛÜ ßÍ ÐËÔÍÛ ÍØßÐÛ á ÒÑ ÇÛÍ ÇÛÍ ÒÑ ÐÎÑÞÔÛÓ ÇÛÍ ÝØÛÝÕ ÕÛÇ ÝÑÒÌÎÑÔ ÝÑÒÒÛÝÌÑÎ ÎÑËÌ×ÒÛ ó ïî ó îò ÒÑ ÎßÍÌÛÎ øÑÍÜ ×Í ÒÑÌ Ü×ÍÐÔßÇÛÜ÷ P Ô×ÐÍ ÝØÛÝÕ Ó×ÝÑÓ ×ÒÊ ÑÒñÑÚÚ ÐÑÎÌò Öéðë Ð×Òç ëÊá ÒÑ ÒÑ ÎßÍÌÛÎ øÑÍÜ ×Í ÒÑÌ Ü×ÍÐÔßÇÛÜ÷ ÝØÛÝÕ Ô×ÐÍ Öéðë Ð×Òëô Ð×Ò ê ëÊá ÒÑ ïò ÝÑÒÚ×ÎÓ ÞÎ×ÙØÌÒÛÍÍ ÑÍÜ ÝÑÒÌÎÔ ÍÌßÌÛò îò ÝØÛÝÕ Ó×ÝÑÓ Ü×ÓóßÜÖ ÐÑÎÌ Öéðë Ð×Òïð ëÊá ÒÑ Ô×ÐÍ ÝØÛÝÕ ÐËÔÍÛ ßÍ ÝÑÒÌßÝÌ×ÒÙ ÍÝÑÐÛ ÐÎÑÞÛ ÌÑ ÝßËÌ×ÑÒ ÔßÞÛÔò øÝÑÒÌßÝÌ ÐÎÑÞÛ ÌÑ ÝßËÌ×ÑÒ ÔßÞÛÔò ÝßÒ ÇÑË ÍÛÛ ÐËÔÍÛ ßÌ ÇÑËÎ ÍÝÑÐÛá ÒÑ ÎÛÐÔßÝÛ ÝÝÚÔ ÔßÓÐ ×Ò ÌØÛ ÔÝÜ ÓÑÜËÔÛ ÇÛÍ ÇÛÍ ÇÛÍ ÇÛÍ ó ïí ó ïò ÝØÛÝÕ Ð×Òïîîô ïîí ÍÑÔÜÛÎ×ÒÙ ÝÑÒÜ×Ì×ÑÒ îò ÝØÛÝÕ Èëðï íò ÌÎÑËÞÔÛ ×Ò Ëîðï Ëîðï ÐÑÉÛÎ Ð×Ò èôïïì íòíÊá ÒÑ ÝØÛÝÕ Ëèðì Ëîðï Ð×Òïîîô ïîí ÑÍÝ×ÔÔßÌÛ ßÍ ïîÓØÆá ÝØÛÝÕ ÝÑÒÒÛÝÌ×ÑÒ Ô×ÒÛ ÚÎÑÓ ÜóÍËÞ ÌÑ Ëëðï ÌÎÑËÞÔÛ ×Ò ÝßÞÔÛ ÑÎ ÔÝÜ ÓÑÜËÔÛ ÇÛÍ ÇÛÍ ÇÛÍ íò ÒÑ ÎßÍÌÛÎ øÑÍÜ ×Í ÒÑÌ Ü×ÍÐÔßÇÛÜ÷ P ÓÍÌçïïï ÒÑ ÎßÍÌÛÎ øÑÍÜ ×Í ÒÑÌ Ü×ÍÐÔßÇÛÜ÷ Ëëðï Ð×Òìí ×Í ìèÕØ¦ ØóÍÇÒÝá Ð×Òìì ×Í êðØ¦ ÊóÍÇÒÝá ×Í ÐËÔÍÛ ßÐÐÛßÎÛÜ ßÌ Í×ÙÒßÔ Ð×ÒÍá ßÌ ÓÑÜÛ ïîá ÒÑ ÒÑ ó ïì ó ìò ÌÎÑËÞÔÛ ×Ò ÜÐÓ ÌÎÑËÞÔÛ ×Ò ÜÐÓ ÌÎÑËÞÔÛ ×Ò ÐÝ ÝØÛÝÕ ÐÝ ÐÝ ×Í ÒÑÌ ÙÑ×ÒÙ ×ÒÌÑ ÜÐÓ ÑÚÚ ÓÑÜÛ ÒÑ ÌÎÑËÞÔÛ ×Ò Í×ÙÒßÔ ÝßÞÔÛ ÒÑ ÇÛÍ ÇÛÍ ÝØÛÝÕ Îéíìô Îéìï øÍÇÒÝ÷ á ÝØÛÝÕ Ëëðï Ð×Ò îì øðÊ÷ á ÐÎ×ÒÌÛÜ Ý×ÎÝË×Ì ÞÑßÎÜ ó ïë ó ïò Óß×Ò ÞÑßÎÜ øÝ±³°±²»²¬ Í·¼»÷ ó ïê ó îò Óß×Ò ÞÑßÎÜ øÍ±´¼»® Í·¼»÷ ó ïé ó íò ÐÑÉÛÎ ÞÑßÎÜ øÝ±³°±²»²¬ Í·¼»÷ ìò ÐÑÉÛÎ ÞÑßÎÜ øÍ±´¼»® Í·¼»÷ ó ïè ó ëò ÝÑÒÌÎÑÔ ÞÑßÎÜøÝ±³°±²»²¬ Í·¼»÷óÔïéïëÍÔ êò ÝÑÒÌÎÑÔ ÞÑßÎÜøÍ±´¼»® Í·¼»÷óÔïéïëÍÔ éò ÝÑÒÌÎÑÔ ÞÑßÎÜøÝ±³°±²»²¬ Í·¼»÷óÔïéïêÍÔ èò ÝÑÒÌÎÑÔ ÞÑßÎÜøÍ±´¼»® Í·¼»÷óÔïéïêÍÔ ó ïç ó ÛÈÐÔÑÜÛÜ Ê×ÛÉ ï î í ì ë ê é ç è ïð ïï ó îð ó ÛÈÐÔÑÜÛÜ Ê×ÛÉ ÐßÎÌÍ Ô×ÍÌ Î»ºò Ò±ò ï î í ì ë ê é è ç ïð ïï ﮬ Ò±ò íðçïÌÕÔðéðß íðçïÌÕÔðèîß êíðìÚÔÐðëèß íèðçÌÕÔðìçß íðìíÌÕÕïîïÙ êèéïÌÍÌíçíß êèéïÌÍÌìîèß êèéïÌÓÌìíïÜ êèéïÌÐÌîìíÞ êèéïÌÐÌîìïÛ êêíïÌïïðïîÉ ìçëïÌÕÍïðëß ìèïìÌÕÕîíëß ìèïìÌÕÕîíëÞ Ü»-½®·°¬·±² ÝßÞ×ÒÛÌ ßÍÍÛÓÞÔÇô Ôïéïë ÞÎßÒÜ Ôðêì ÔñÙÎßÇ óÚÔßÌÎÑÒ ÔïéïëÍ ÝßÞ×ÒÛÌ ßÍÍÛÓÞÔÇô ÔïéïêÍÔ ÞÎßÒÜ íðçðÌÕÔðéîß Ýß ßÍÍÇ óÚÔßÌÎÑÒ ÔïéïêÍ ÔÝÜøÔ×ÏË×Ü ÝÎÇÍÌßÔ Ü×ÍÐÔßÇ÷ ÔÓïéðÛðïóßì ÔÙ ÐØ×ÔÐÍ ÌÚÌ ÝÑÔÑÎ ïéþ ÌÚÌ ÔÝÜ ÞßÝÕ ÝÑÊÛÎ ßÍÍÛÓÞÔÇô Ôïéïë Ôðëð íëðË ÓñÙÎßÇ Ì×ÔÌ ÍÉ×ÊÛÔ ßÍÍÛÓÞÔÇô Ôïéïë íëðË ÓñÙÎßÇóÉ×ÌØ ÞñÝ ÐÉÞøÐÝÞ÷ ßÍÍÛÓÞÔÇô ÍËÞô ÔïëïëÍÔ ÝÑÒÌÎÑÔ ÌÑÌßÔ ÞÎßÒÜ ÝÔóíî óÚÔßÌÎÑÒ ÔïéïëÍ ÐÉÞøÐÝÞ÷ ßÍÍÛÓÞÔÇô ÍËÞô ÔïëïêÍÔ ÝÑÒÌÎÑÔ ÌÑÌßÔ ÞÎßÒÜ óÚÔßÌÎÑÒ ÔïéïêÍ ÐÉÞøÐÝÞ÷ ßÍÍÛÓÞÔÇô Óß×Òô ÔïéïëÍÔ ßÔÕÎÎ ÞÎßÒÜ ÝÔóìí ÌÑÌßÔ ÐÉÞøÐÝÞ÷ ßÍÍÛÓÞÔÇô ÐÑÉÛÎô ß×óððïç ÐÑÉÛÎ ÌÑÌßÔ Ô×ÛÒ ÝØßÒÙ ÔïéïðÍÔ Ô×ÐÍ ÚÑÎ ØÇÜ×ÍñÔÐÔ ÐÉÞøÐÝÞ÷ ßÍÍÛÓÞÔÇô ÐÑÉÛÎô ïéþ ØÇÜ×ÍøÔïéïðÍÔ÷ ÐÑÉÛÎ ÌÑÌßÔ ÍÐ× ÚÍÐðîêóîÐ×ðï ÝÑÒÒÛÝÌÑÎ ßÍÍÛÓÞÔÇô íðÐ ØóØ îððÓÓ ËÔîðîéê ÔÙéðèÙ ÓÛÌßÔ ßÍÍÛÓÞÔÇô ÚÎßÓÛ ÔïéïëóÔÐÔ ÍØ×ÛÔÜô ×ÒÊÛÎÌÛÎ ÝßÐóÌÑÐøÔïéïë÷ ÍØ×ÛÔÜô ×ÒÊÛÎÌÛÎ ÝßÐ óÞÑÌÌÑÓøÔïéïë÷ ó îï ó ÜßÌÛæ îððíò ëò çò öÍ ößÔ ÔÑÝò ÒÑò ÐßÎÌ ÒÑò ÜÛÍÝÎ×ÐÌ×ÑÒ ñ ÍÐÛÝ×Ú×ÝßÌ×ÑÒ Ýîðì ðÝÕïðìÝÕëêß ðòïËÚ ïêðè ëðÊ ïðû ÎñÌÐ ÈéÎ Ýîðë ðÝÕïðìÝÕëêß ðòïËÚ ïêðè ëðÊ ïðû ÎñÌÐ ÈéÎ Ýîðê ðÝÕïðìÝÕëêß ðòïËÚ ïêðè ëðÊ ïðû ÎñÌÐ ÈéÎ Ýîðé ðÝÕïðìÝÕëêß ðòïËÚ ïêðè ëðÊ ïðû ÎñÌÐ ÈéÎ Ýîðè ðÝÕïðìÝÕëêß ðòïËÚ ïêðè ëðÊ ïðû ÎñÌÐ ÈéÎ Ýîðç ðÝÕïðìÝÕëêß ðòïËÚ ïêðè ëðÊ ïðû ÎñÌÐ ÈéÎ Ýîïð ðÝÕïðìÝÕëêß ðòïËÚ ïêðè ëðÊ ïðû ÎñÌÐ ÈéÎ Ýîïï ðÝÕïðìÝÕëêß ðòïËÚ ïêðè ëðÊ ïðû ÎñÌÐ ÈéÎ Ýîïî ðÝÕïðìÝÕëêß ðòïËÚ ïêðè ëðÊ ïðû ÎñÌÐ ÈéÎ Ýîïë ðÝÕïðìÝÕëêß ðòïËÚ ïêðè ëðÊ ïðû ÎñÌÐ ÈéÎ Ýîïê ðÝÕïðìÝÕëêß ðòïËÚ ïêðè ëðÊ ïðû ÎñÌÐ ÈéÎ Ýîïé ðÝÕïðìÝÕëêß ðòïËÚ ïêðè ëðÊ ïðû ÎñÌÐ ÈéÎ Ýîïè ðÝÕïðìÝÕëêß ðòïËÚ ïêðè ëðÊ ïðû ÎñÌÐ ÈéÎ Ýîïç ðÝÕïðìÝÕëêß ðòïËÚ ïêðè ëðÊ ïðû ÎñÌÐ ÈéÎ Ýîîð ðÝÕïðìÝÕëêß ðòïËÚ ïêðè ëðÊ ïðû ÎñÌÐ ÈéÎ Ýîîï ðÝÕïðìÝÕëêß ðòïËÚ ïêðè ëðÊ ïðû ÎñÌÐ ÈéÎ Ýîîî ðÝÕïðìÝÕëêß ðòïËÚ ïêðè ëðÊ ïðû ÎñÌÐ ÈéÎ Ýîîí ðÝÕïðìÝÕëêß ðòïËÚ ïêðè ëðÊ ïðû ÎñÌÐ ÈéÎ Ýîîë ðÝÕïðìÝÕëêß ðòïËÚ ïêðè ëðÊ ïðû ÎñÌÐ ÈéÎ Ýîîê ðÝÕïðìÝÕëêß ðòïËÚ ïêðè ëðÊ ïðû ÎñÌÐ ÈéÎ Ýîîé ðÝÕïðìÝÕëêß ðòïËÚ ïêðè ëðÊ ïðû ÎñÌÐ ÈéÎ Ýîíð ðÝÕïðìÝÕëêß ðòïËÚ ïêðè ëðÊ ïðû ÎñÌÐ ÈéÎ Ýîíï ðÝÕïðìÝÕëêß ðòïËÚ ïêðè ëðÊ ïðû ÎñÌÐ ÈéÎ Ýîíî ðÝÕïðìÝÕëêß ðòïËÚ ïêðè ëðÊ ïðû ÎñÌÐ ÈéÎ Ýîíí ðÝÕïðìÝÕëêß ðòïËÚ ïêðè ëðÊ ïðû ÎñÌÐ ÈéÎ Ýîìð ðÝÕïðìÝÕëêß ðòïËÚ ïêðè ëðÊ ïðû ÎñÌÐ ÈéÎ Ýëðï ðÝÕïðìÝÕëêß ðòïËÚ ïêðè ëðÊ ïðû ÎñÌÐ ÈéÎ Ýëðî ðÝÝïðïÝÕìïß ïððÐÚ ïêðè ëðÊ ëû ÎñÌÐ ÒÐð Ýëðí ðÝÝïðïÝÕìïß ïððÐÚ ïêðè ëðÊ ëû ÎñÌÐ ÒÐð Ýëðë ðÝÝïðïÝÕìïß ïððÐÚ ïêðè ëðÊ ëû ÎñÌÐ ÒÐð Ýëðê ðÝÝïðïÝÕìïß ïððÐÚ ïêðè ëðÊ ëû ÎñÌÐ ÒÐð Ýëïî ðÝÝïèðÝÕìïß ïèÐÚ ïêðè ëðÊ ëû ÎñÌÐ ÒÐð Ýëïí ðÝÝðíðÝÕðïß íÐÚ ïêðè ëðÊ ðòîë ÐÚ ÎñÌÐ ÒÐ Ýëïì ðÝØèïðêÚêïï ïðËÚ ïêÊ Ó èëÍÌÜøÝÇÔ÷ ÎñÌÐ Ýëïê ðÝÕïðìÝÕëêß ðòïËÚ ïêðè ëðÊ ïðû ÎñÌÐ ÈéÎ Ýëëð ðÝÝïðîÝÕìïß ïðððÐÚ ïêðè ëðÊ ëû ÎñÌÐ ÒÐð Ýéðí ðÝÕïðìÝÕëêß ðòïËÚ ïêðè ëðÊ ïðû ÎñÌÐ ÈéÎ Ýéðé ðÝÝêèðÝÕìïß êèÐÚ ïêðè ëðÊ ëû ÎñÌÐ ÒÐð Ýéðè ðÝÕïðíÝÕëïß ðòðïËÚ ïêðè ëðÊ ïðû ÎñÌÐ ÞøÇ Ýéðç ðÝÕïðíÝÕëïß ðòðïËÚ ïêðè ëðÊ ïðû ÎñÌÐ ÞøÇ Ýéïð ðÝÕïðíÝÕëïß ðòðïËÚ ïêðè ëðÊ ïðû ÎñÌÐ ÞøÇ Ýéïï ðÝÕïðíÝÕëïß ðòðïËÚ ïêðè ëðÊ ïðû ÎñÌÐ ÞøÇ Ýéïî ðÝÕïðìÝÕëêß ðòïËÚ ïêðè ëðÊ ïðû ÎñÌÐ ÈéÎ Ýéïí ðÝÕïðìÝÕëêß ðòïËÚ ïêðè ëðÊ ïðû ÎñÌÐ ÈéÎ Ýéïì ðÝÕïðìÝÕëêß ðòïËÚ ïêðè ëðÊ ïðû ÎñÌÐ ÈéÎ Ýéïë ðÝÕïðìÝÕëêß ðòïËÚ ïêðè ëðÊ ïðû ÎñÌÐ ÈéÎ Ýéîé ðÝÕïðëÝÜëêß ïËÚ ïêðè ïðÊ ïðû ÎñÌÐ ÈéÎ Ýéíð ðÝÝïðïÝÕìïß ïððÐÚ ïêðè ëðÊ ëû ÎñÌÐ ÒÐð Ýéíï ðÝÝêèðÝÕìïß êèÐÚ ïêðè ëðÊ ëû ÎñÌÐ ÒÐð Ýéíî ðÝÕïðíÝÕëïß ðòðïËÚ ïêðè ëðÊ ïðû ÎñÌÐ ÞøÇ Ýéêð ðÝÛïðéÛÚêïð NïððËÚ ÕÓÙôÎÜ ïêÊ îðû ÚÔ ÞËÔÕM Ýèðï ðÝÕïðíÝÕëïß ðòðïËÚ ïêðè ëðÊ ïðû ÎñÌÐ ÞøÇ ÜßÌÛæ îððíò ëò çò öÍ ößÔ ÔÑÝò ÒÑò ÐßÎÌ ÒÑò ÜÛÍÝÎ×ÐÌ×ÑÒ ñ ÍÐÛÝ×Ú×ÝßÌ×ÑÒ Ýèðî ðÝÕïðìÝÕëêß ðòïËÚ ïêðè ëðÊ ïðû ÎñÌÐ ÈéÎ Ýèðí ðÝÕïðëÝÜëêß ïËÚ ïêðè ïðÊ ïðû ÎñÌÐ ÈéÎ Ýèðì ðÝÝïðîÝÕìïß ïðððÐÚ ïêðè ëðÊ ëû ÎñÌÐ ÒÐð Ýèïé ðÝÛïðéÛÚêïð NïððËÚ ÕÓÙôÎÜ ïêÊ îðû ÚÔ ÞËÔÕM Ýèïè ðÝÕïðìÝÕëêß ðòïËÚ ïêðè ëðÊ ïðû ÎñÌÐ ÈéÎ Ýèïç ðÝÕïðíÝÕëïß ðòðïËÚ ïêðè ëðÊ ïðû ÎñÌÐ ÞøÇ Ýèîð ðÝÛïðéÛÚêïð NïððËÚ ÕÓÙôÎÜ ïêÊ îðû ÚÔ ÞËÔÕM Ýèîï ðÝÕïðíÝÕëïß ðòðïËÚ ïêðè ëðÊ ïðû ÎñÌÐ ÞøÇ Ýèîî ðÝÕïðìÝÕëêß ðòïËÚ ïêðè ëðÊ ïðû ÎñÌÐ ÈéÎ Ýèîè ðÝÕïðìÝÕëêß ðòïËÚ ïêðè ëðÊ ïðû ÎñÌÐ ÈéÎ Ýèîç ðÝÕïðíÝÕëïß ðòðïËÚ ïêðè ëðÊ ïðû ÎñÌÐ ÞøÇ Ýèíï ðÝÛïðéÛÚêïð NïððËÚ ÕÓÙôÎÜ ïêÊ îðû ÚÔ ÞËÔÕM Ýèíî ðÝÛïðéÛÚêïð NïððËÚ ÕÓÙôÎÜ ïêÊ îðû ÚÔ ÞËÔÕM Üéðï ðÜÍîîêððçßß ÕÜÍîîê ÌÐ ÕÛÝ ÍÑÌóîí èðÊ íð Üéðî ðÜÍîîêððçßß ÕÜÍîîê ÌÐ ÕÛÝ ÍÑÌóîí èðÊ íð Üéðí ðÜÍîîêððçßß ÕÜÍîîê ÌÐ ÕÛÝ ÍÑÌóîí èðÊ íð Üéðê ðÜÍîîêððçßß ÕÜÍîîê ÌÐ ÕÛÝ ÍÑÌóîí èðÊ íð Üéðé ðÜÜïèìððçßß ÕÜÍïèì ÌÐ ÕÛÝ ó èëÊ ó ó ó íð ÆÜéðï ðÜÆëêðððçÙÞ ÞÆÌëîÝëÊêÍ Ü×ÑÜÛÍ ÎñÌÐ ÍÑÜíî ÆÜéðî ðÜÆëêðððçÙÞ ÞÆÌëîÝëÊêÍ Ü×ÑÜÛÍ ÎñÌÐ ÍÑÜíî ÆÜéðí ðÜÆëêðððçÙÞ ÞÆÌëîÝëÊêÍ Ü×ÑÜÛÍ ÎñÌÐ ÍÑÜíî ÆÜéðì ðÜÆëêðððçÙÞ ÞÆÌëîÝëÊêÍ Ü×ÑÜÛÍ ÎñÌÐ ÍÑÜíî Ëîðï ð×ÐÎÐÓíððìß ÓÍÌçïïï ßÒßÔÑÙ ÓÍÌßÎ ïîè ÔÏÚ Ëëðï ðׯÆÌÍÆîêèß ÓÇÍÑÒ ììÐ ÐÔÝÝ ÍÌ ÑÌÐ ÔïéïëÍ Ëëðî ð×ÍÙîìðèêðÞ ÓîìÝðèÉê ÍÙÍóÌØÑÓÍÑÒ èÍÑÐ Îñ Ëèðî ðÌÚÊ×èððîíß Ê×ÍØßÇ Í×íèêëÜÊ ÎñÌÐ ÌÍÑÐóê Ëèðí ð×ÐÓÙÒÍððïÜ ÔÓïïïéÓÐÈóîòë ÒßÌ×ÑÒßÔ ÍÛÓ×Ý Ëèðì ð×ÐÓÙÒÍððïÛ ÔÓïïïéÓÐÈóíòí ÒßÌ×ÑÒßÔ ÍÛÓ×Ý Ïëðî ðÌÎíçðìðçßÛ Úß×ÎÝØ×ÔÜ ÕÍÌíçðìøÔÙÛÓÌÚ÷ ÌÐ Ïëðí ð×ÕÛéðìîððØ Õ×ßéðìîßÐ ÌÑóçî ÌÐ ìòî ÊÑÔÌ Ïëðì ðÌÎíçðìðçßÛ Úß×ÎÝØ×ÔÜ ÕÍÌíçðìøÔÙÛÓÌÚ÷ ÌÐ Ïëðë ðÌÎíçðìðçßÛ Úß×ÎÝØ×ÔÜ ÕÍÌíçðìøÔÙÛÓÌÚ÷ ÌÐ Ïëðê ðÌÎíçðìðçßÛ Úß×ÎÝØ×ÔÜ ÕÍÌíçðìøÔÙÛÓÌÚ÷ ÌÐ Ïéðï ðÌÎíçðìðçßÛ Úß×ÎÝØ×ÔÜ ÕÍÌíçðìøÔÙÛÓÌÚ÷ ÌÐ Ïéðî ðÌÎíçðìðçßÛ Úß×ÎÝØ×ÔÜ ÕÍÌíçðìøÔÙÛÓÌÚ÷ ÌÐ Ïéðí ðÌÎíçðêðçÚß ÕÍÌíçðêóÓÌÚ ÌÐ ÍßÓÍËÒÙ ÍÑÌî Ïéðì ðÌÎíçðêðçÚß ÕÍÌíçðêóÓÌÚ ÌÐ ÍßÓÍËÒÙ ÍÑÌî Ïéðë ðÌÎíçðìðçßÛ Úß×ÎÝØ×ÔÜ ÕÍÌíçðìøÔÙÛÓÌÚ÷ ÌÐ Îîðï ðÎÖðêèîÜêéé êè ÑØÓ ïñïð É ëû ïêðè ÎñÌÐ Îîðî ðÎÖðêèîÜêéé êè ÑØÓ ïñïð É ëû ïêðè ÎñÌÐ Îîðí ðÎÖðêèîÜêéé êè ÑØÓ ïñïð É ëû ïêðè ÎñÌÐ Îîðì ðÎÖïððîÜêéé ïðÕ ÑØÓ ïñïð É ëû ïêðè ÎñÌÐ ÎÛÐÔßÝÛÓÛÒÌ ÐßÎÌÍ Ô×ÍÌ ÝßËÌ×ÑÒæ ÞÛÚÑÎÛ ÎÛÐÔßÝ×ÒÙ ßÒÇ ÑÚ ÌØÛÍÛ ÝÑÓÐÑÒÛÒÌÍô ÎÛßÜ ÝßÎÛÚËÔÔÇ ÌØÛ ÍßÚÛÌÇ ÐÎÛÝßËÌ×ÑÒÍ ×Ò ÌØ×Í ÓßÒËßÔò ö ÒÑÌÛ æ Í ÍßÚÛÌÇ Ó¿®µ ßÔ ßÔÌÛÎÒßÌ×ÊÛ ÐßÎÌÍ Óß×Ò ÞÑßÎÜ ÝßÐßÝ×ÌÑÎÍ Ü×ÑÜÛ- ×Ý- ÌÎßÒÍ×ÍÌÑÎ ÎÛÍ×ÍÌÑÎ- ÜßÌÛæ îððíò ëò çò öÍ ößÔ ÔÑÝò ÒÑò ÐßÎÌ ÒÑò ÜÛÍÝÎ×ÐÌ×ÑÒ ñ ÍÐÛÝ×Ú×ÝßÌ×ÑÒ Îîðë ðÎÖïððîÜêéé ïðÕ ÑØÓ ïñïð É ëû ïêðè ÎñÌÐ Îîðé ðÎÖìéððÜêéé ìéð ÑØÓ ïñïð É ëû ïêðè ÎñÌÐ Îîðè ðÎÖðêèîÜêéé êè ÑØÓ ïñïð É ëû ïêðè ÎñÌÐ Îîðç ðÎÖðêèîÜêéé êè ÑØÓ ïñïð É ëû ïêðè ÎñÌÐ Îîïð ðÎÖðêèîÜêéé êè ÑØÓ ïñïð É ëû ïêðè ÎñÌÐ Îîìð ðÎÖðêèîÜêéé êè ÑØÓ ïñïð É ëû ïêðè ÎñÌÐ Îëðï ðÎÖìéðïÜêéé ìòéÕ ÑØÓ ïñïð É ëû ïêðè ÎñÌÐ Îëðî ðÎÖìéðïÜêéé ìòéÕ ÑØÓ ïñïð É ëû ïêðè ÎñÌÐ Îëðì ðÎÖìéðïÜêéé ìòéÕ ÑØÓ ïñïð É ëû ïêðè ÎñÌÐ Îëðç ðÎÖìéðïÜêéé ìòéÕ ÑØÓ ïñïð É ëû ïêðè ÎñÌÐ Îëïð ðÎÖìéððÜêéé ìéð ÑØÓ ïñïð É ëû ïêðè ÎñÌÐ Îëïï ðÎÖìéððÜêéé ìéð ÑØÓ ïñïð É ëû ïêðè ÎñÌÐ Îëïë ðÎÖïððîÜêéé ïðÕ ÑØÓ ïñïð É ëû ïêðè ÎñÌÐ Îëîð ðÎÖìéðïÜêéé ìòéÕ ÑØÓ ïñïð É ëû ïêðè ÎñÌÐ Îëîî ðÎÖïðððÜêéé ïðð ÑØÓ ïñïð É ëû ïêðè ÎñÌÐ Îëîí ðÎÖðííîÜêéé íí ÑØÓ ïñïð É ëû ïêðè ÎñÌÐ Îëîì ðÎÖðííîÜêéé íí ÑØÓ ïñïð É ëû ïêðè ÎñÌÐ Îëîë ðÎÖïððîÜêéé ïðÕ ÑØÓ ïñïð É ëû ïêðè ÎñÌÐ Îëîè ðÎÖïðððÜêéé ïðð ÑØÓ ïñïð É ëû ïêðè ÎñÌÐ Îëîç ðÎÖïðððÜêéé ïðð ÑØÓ ïñïð É ëû ïêðè ÎñÌÐ Îëíð ðÎÖïðððÜêéé ïðð ÑØÓ ïñïð É ëû ïêðè ÎñÌÐ Îëíï ðÎÖïðððÜêéé ïðð ÑØÓ ïñïð É ëû ïêðè ÎñÌÐ Îëíî ðÎÖííðïÜêéé íòíÕ ÑØÓ ïñïð É ëû ïêðè ÎñÌÐ Îëíí ðÎÖðííîÜêéé íí ÑØÓ ïñïð É ëû ïêðè ÎñÌÐ Îëíì ðÎÖðííîÜêéé íí ÑØÓ ïñïð É ëû ïêðè ÎñÌÐ Îëíë ðÎÖííðïÜêéé íòíÕ ÑØÓ ïñïð É ëû ïêðè ÎñÌÐ Îëíé ðÎÖìéðïÜêéé ìòéÕ ÑØÓ ïñïð É ëû ïêðè ÎñÌÐ Îëìð ðÎÖïððîÜêéé ïðÕ ÑØÓ ïñïð É ëû ïêðè ÎñÌÐ Îëìï ðÎÖìéðïÜêéé ìòéÕ ÑØÓ ïñïð É ëû ïêðè ÎñÌÐ Îëëï ðÎÖìéðîÜêéé ìéððð ÑØÓ ïñïð É ëû ïêðè ÎñÌ Îëéï ðÎÖïðððÜêéé ïðð ÑØÓ ïñïð É ëû ïêðè ÎñÌÐ Îëèï ðÎÖïðððÜêéé ïðð ÑØÓ ïñïð É ëû ïêðè ÎñÌÐ Îëçð ðÎÖïðððÜêéé ïðð ÑØÓ ïñïð É ëû ïêðè ÎñÌÐ Îëçï ðÎÖïðððÜêéé ïðð ÑØÓ ïñïð É ëû ïêðè ÎñÌÐ Îëçî ðÎÖïðððÜêéé ïðð ÑØÓ ïñïð É ëû ïêðè ÎñÌÐ Îëçí ðÎÖïðððÜêéé ïðð ÑØÓ ïñïð É ëû ïêðè ÎñÌÐ Îéðï ðÎÖðéëîÜêéé éë ÑØÓ ïñïð É ëû ïêðè ÎñÌÐ Îéðí ðÎÖðéëîÜêéé éë ÑØÓ ïñïð É ëû ïêðè ÎñÌÐ Îéðë ðÎÖïðððÜêéé ïðð ÑØÓ ïñïð É ëû ïêðè ÎñÌÐ Îéðê ðÎÖðéëîÜêéé éë ÑØÓ ïñïð É ëû ïêðè ÎñÌÐ Îéðé ðÎÖðêèîÜêéé êè ÑØÓ ïñïð É ëû ïêðè ÎñÌÐ Îéðè ðÎÖìéððÜêéé ìéð ÑØÓ ïñïð É ëû ïêðè ÎñÌÐ Îéðç ðÎÖìéððÜêéé ìéð ÑØÓ ïñïð É ëû ïêðè ÎñÌÐ Îéïê ðÎÖìéðïÜêéé ìòéÕ ÑØÓ ïñïð É ëû ïêðè ÎñÌÐ Îéïé ðÎÖìéðïÜêéé ìòéÕ ÑØÓ ïñïð É ëû ïêðè ÎñÌÐ Îéîî ðÎÖïðððÜêéé ïðð ÑØÓ ïñïð É ëû ïêðè ÎñÌÐ Îéîí ðÎÖðííîÜêéé íí ÑØÓ ïñïð É ëû ïêðè ÎñÌÐ Îéîì ðÎÖðííîÜêéé íí ÑØÓ ïñïð É ëû ïêðè ÎñÌÐ Îéîë ðÎÖìéðïÜêéé ìòéÕ ÑØÓ ïñïð É ëû ïêðè ÎñÌÐ Îéîê ðÎÖìéðïÜêéé ìòéÕ ÑØÓ ïñïð É ëû ïêðè ÎñÌÐ Îéîé ðÎÖìéðïÜêéé ìòéÕ ÑØÓ ïñïð É ëû ïêðè ÎñÌÐ Îéíí ðÎÖïððïÜêéé ïÕ ÑØÓ ïñïð É ëû ïêðè ÎñÌÐ Îéíì ðÎÖìéðïÜêéé ìòéÕ ÑØÓ ïñïð É ëû ïêðè ÎñÌÐ Îéíë ðÎÖððððÜêéé ð ÑØÓ ïñïð É ëû ïêðè ÎñÌÐ Îéìð ðÎÖïððïÜêéé ïÕ ÑØÓ ïñïð É ëû ïêðè ÎñÌÐ Îéìï ðÎÖìéðïÜêéé ìòéÕ ÑØÓ ïñïð É ëû ïêðè ÎñÌÐ Îéìì ðÎÖìéðïÜêéé ìòéÕ ÑØÓ ïñïð É ëû ïêðè ÎñÌÐ Îéìë ðÎÖìéðïÜêéé ìòéÕ ÑØÓ ïñïð É ëû ïêðè ÎñÌÐ Îéìé ðÎÖìéðïÜêéé ìòéÕ ÑØÓ ïñïð É ëû ïêðè ÎñÌÐ Îéìè ðÎÖìéðïÜêéé ìòéÕ ÑØÓ ïñïð É ëû ïêðè ÎñÌÐ Îéëð ðÎÖïððïÜêéé ïÕ ÑØÓ ïñïð É ëû ïêðè ÎñÌÐ Îéëï ðÎÖïððïÜêéé ïÕ ÑØÓ ïñïð É ëû ïêðè ÎñÌÐ ÜßÌÛæ îððíò ëò çò öÍ ößÔ ÔÑÝò ÒÑò ÐßÎÌ ÒÑò ÜÛÍÝÎ×ÐÌ×ÑÒ ñ ÍÐÛÝ×Ú×ÝßÌ×ÑÒ Îéëí ðÎÖïððïÜêéé ïÕ ÑØÓ ïñïð É ëû ïêðè ÎñÌÐ Îéêç ðÎÖððððÜêéé ð ÑØÓ ïñïð É ëû ïêðè ÎñÌÐ Îééð ðÎÖððððÜêéé ð ÑØÓ ïñïð É ëû ïêðè ÎñÌÐ Îèðï ðÎÖððððÜêéé ð ÑØÓ ïñïð É ëû ïêðè ÎñÌÐ Îèðí ðÎÖððððÜêéé ð ÑØÓ ïñïð É ëû ïêðè ÎñÌÐ Îèðì ðÎÖððððÜêéé ð ÑØÓ ïñïð É ëû ïêðè ÎñÌÐ Îèïï ðÎÖîîðîÜêéé îîÕ ÑØÓ ïñïð É ëû ïêðè ÎñÌÐ Îèïî ðÎÖëêððÜêéé ëêð ÑØÓ ïñïð É ëû ïêðè ÎñÌÐ Îèìð ðÎÖðííîÜêéé íí ÑØÓ ïñïð É ëû ïêðè ÎñÌÐ Îèìï ðÎÖðííîÜêéé íí ÑØÓ ïñïð É ëû ïêðè ÎñÌÐ Îèìî ðÎÖðííîÜêéé íí ÑØÓ ïñïð É ëû ïêðè ÎñÌÐ Îèìí ðÎÖðííîÜêéé íí ÑØÓ ïñïð É ëû ïêðè ÎñÌÐ Îèìì ðÎÖðííîÜêéé íí ÑØÓ ïñïð É ëû ïêðè ÎñÌÐ Îèìë ðÎÖðííîÜêéé íí ÑØÓ ïñïð É ëû ïêðè ÎñÌÐ Îèìê ðÎÖðííîÜêéé íí ÑØÓ ïñïð É ëû ïêðè ÎñÌÐ Îèìé ðÎÖðííîÜêéé íí ÑØÓ ïñïð É ëû ïêðè ÎñÌÐ Îèìè ðÎÖðííîÜêéé íí ÑØÓ ïñïð É ëû ïêðè ÎñÌÐ Îèìç ðÎÖðííîÜêéé íí ÑØÓ ïñïð É ëû ïêðè ÎñÌÐ Èëðï êîïîßßîððìß ØÝóìçË ÌÈÝ ïîòðÓØÆ õñó íð ÐÐ ÔÛÜï ðÜÔÔÌððèçßß Ô×ÌÛÑÒ ÔÌÔóïÞÛÜÖóðÝî ÌÐ ÙÎÛÛ Îï ðÎÜìéðïÏêðç ìòéðÕ ïñìÉøí ëû Ìßëî Îî ðÎÜìéðïÏêðç ìòéðÕ ïñìÉøí ëû Ìßëî Îí ðÎÜïëðïÏêðç ïòëðÕ ïñìÉøí ëû Ìßëî Îì ðÎÜïëðïÏêðç ïòëðÕ ïñìÉøí ëû Ìßëî Îë ðÎÜííðïÏêðç íòíðÕ ïñìÉøí ëû Ìßëî Îê ðÎÜííðïÏêðç íòíðÕ ïñìÉøí ëû Ìßëî Îé ðÎÜçïðïÏêðç çòïðÕ ïñìÉøí ëû Ìßëî ÍÉï ïìðóðëèÛ ÍÕØÊïðçïðÞ ÔÙÛÝ ÒÑÒ ïîÊ îðß ÍÉî ïìðóðëèÛ ÍÕØÊïðçïðÞ ÔÙÛÝ ÒÑÒ ïîÊ îðß ÍÉí ïìðóðëèÛ ÍÕØÊïðçïðÞ ÔÙÛÝ ÒÑÒ ïîÊ îðß ÍÉì ïìðóðëèÛ ÍÕØÊïðçïðÞ ÔÙÛÝ ÒÑÒ ïîÊ îðß ÍÉë ïìðóðëèÛ ÍÕØÊïðçïðÞ ÔÙÛÝ ÒÑÒ ïîÊ îðß ÍÉê ïìðóðëèÛ ÍÕØÊïðçïðÞ ÔÙÛÝ ÒÑÒ ïîÊ îðß ÍÉé ïìðóðëèÛ ÍÕØÊïðçïðÞ ÔÙÛÝ ÒÑÒ ïîÊ îðß ÆÜï ðÜÆëêðððçßÙ ÙÜÆÖëòêÞ ÌÐ ÙÎßÒÜÛ ÜÑóíì ëðð ÆÜî ðÜÆëêðððçßÙ ÙÜÆÖëòêÞ ÌÐ ÙÎßÒÜÛ ÜÑóíì ëðð ó îî ó ÝÑÒÌÎÑÔ ÞÑßÎÜ ÑÌØÛÎ- Ð×Ò ÝÑÒÚ×ÙËÎßÌ×ÑÒ ó îí ó ÓÍÌçïïï ÜËßÔ ÓÍÌßÎ ïîèÐ ï î í ì ë ê é è ç ïð ïï ïî ïí ïì ïë ïê ïé ïè ïç îð îï îî îí îì îë îê îé îè îç íð íï íî íí íì íë íê íé íè ïîè ïîé ïîê ïîë ïîì ïîí ïîî ïîï ïîð ïïç ïïè ïïé ïïê ïïë ïïì ïïí ïïî ïïï ïïð ïðç ïðè ïðé ïðê ïðë ïðì ïðí ÒÝ ÊÍÇÒÝð ØÍÇÒÝð ßÊÍÍÁÐÔÔ ßÊÜÜÁÐÔÔ ÈÑËÌ È×Ò ØÉÎÛÍÛÌÆ ÜÜÝÎÑÓÁÜßÌ ÜÜÝÎÑÓÁÝÔÕ ÜÜÝïÁÝÔÕ ÜÜÝïÁÜßÌ ÒÝ ÒÝ ÊÜÜÐ ÙÒÜÐ ÙÒÜÝ ÊÜÜÝ ÒÝ ÒÝ ÒÝ ÊÜÜÐ ÙÒÜÐ ÒÝ ÒÝ ÞÇÐßÍÍ íç ìð ìï ìî ìí ìì ìë ìê ìé ìè ìç ëð ëï ëî ëí ëì ëë ëê ëé ëè ëç êð êï êî êí êì ïðî ïðï ïðð çç çè çé çê çë çì çí çî çï çð èç èè èé èê èë èì èí èî èï èð éç éè éé éê éë éì éí éî éï éð êç êè êé êê êë ÒÝ ßÊÍÍ ÒÝ ÒÝ ßÊÍÍ ÒÝ ÒÝ ßÊÜÜ ÒÝ ÒÝ ßÊÍÍ ÒÝ ÒÝ ßÊÜÜ ÎÛÈÌ ßÊÜÜÁÐÔÔ ßÊÍÍÁÐÔÔ ßÊÜÜ ßÊÍÍ ÒÝ ÒÝ ÒÝ ÒÝ ÒÝ ÒÝ ÒÝ Þ×ÒðÓ Þ×Òð Ù×ÒðÓ Ù×Òð ÍÑÙ×Òð Î×ÒðÓ Î×Òð ßÊÍÍ ßÊÜÜ ÎÓ×Ü ÎÛÚÐ ÎÛÚÓ ßÊÍÍÁÐÔÔ ÒÝ ÒÝ ÒÝ ÒÝ ÔÊÞðÓ ÔÊÞðÐ ÙÒÜÐ ÊÜÜÐ ÔÊÞïÓ ÔÊÞïÐ ÔÊÞîÓ ÔÊÞîÐ ÔÊÞÝÕÓ ÔÊÞÝÕÐ ÔÊÞíÓ ÔÊÞíÐ ÊÜÜÝ ÙÒÜÝ ÙÒÜÐ ÊÜÜÐ ÔÊßðÓ ÔÊßðÐ ÔÊßïÓ ÔÊßïÐ ÔÊßîÓ ÔÊßîÐ ÔÊßÝÕÓ ÔÊßÝÕÐ ÙÒÜÐ ÊÜÜÐ ÔÊßíÓ ÔÊßíÐ ÒÝ ÒÝ ÒÝ ÒÝ ÒÝ ßÊÍÍ ÝÍÆ ÍÜß ÍÝÔ ×ÒÌ ÐÉÓð ÐÉÓï ÒÝ ÒÝ ÒÝ ÒÝ ÒÝ ÒÝ ÒÝ ÒÝ ÒÝ ÊÜÜÐ ÙÒÜÐ ÙÒÜÝ ÊÜÜÝ ÒÝ ÒÝ ÊÜÜÐ ÙÒÜÐ ÙÒÜÝ ÊÜÜÝ ÓÍÌçïïï ÊÝêìêçêðîïðÚ Ð·² ï Ð×Ò Ü×ßÙÎßÓ ó îì ó ÝßÌîìÉÝðèÖóÌÛïí èÐ ßð ßï ßî ÊÍÍ ÊÝÝ ÉÐ ÍÝÔ ÍÜß ßð ßï ßî ÊÍÍ ÊÝÝ ÉÐ ÍÝÔ ÍÜß ï î í ì è é ê ë ï î í ì è é ê ë ßð ßï ßî ÊÍÍ ÊÝÝ ÉÐ ÍÝÔ ÍÜß ï î í ì è é ê ë ÛÈÌÛÎÒßÔ ÔÑßÜ ÍÜß ÉÐ ÜÑËÌ ÍÛÒÍÛ ßÓÐÍ ÍØ×ÚÌ ÎÛÙ×ÍÌÛÎÍ ÉÑÎÜ ßÜÜÎÛÍÍ ÞËÚÚÛÎÍ ÝÑÔËÓÒ ÜÛÝÑÜÛÎÍ ÍÌßÎÌñÍÌÑÐ ÔÑÙ×Ý ÈÜÛÝ ÜßÌß ×Ò ÍÌÑÎßÙÛ Ø×ÙØ ÊÑÔÌßÙÛñ Ì×Ó×ÒÙ ÝÑÒÌÎÑÔ ÍÌßÌÛ ÝÑËÒÌÛÎÍ ÍÔßÊÛ ÍÝÔ ßð ßï ÊÝÝ ÊÍÍ ßî ßÜÜÎÛÍÍ ÝÑÓÐßÎßÌÑÎÍ ÝÑÒÌÎÑÔ ÔÑÙ×Ý ßÝÕ Û ÐÎÑÓ î Ð×Ò ÝÑÒÚ×ÙËÎßÌ×ÑÒ Ü×Рп½µ¿¹»ø°÷ ÍÑ×È Ð¿½µ¿¹»øÖ÷ ÌÍÍÑРп½µ¿¹»øË÷ ÞÔÑÝÕ Ü×ßÙÎßÓ Ð×Ò ÚËÒÝÌ×ÑÒ Ð·² Ò¿³» ßðô ßïô ßî ÍÜß ÍÝÔ ÉРʽ½ Ê-- Ú«²½¬·±² Ü»ª·½» ß¼®»-- ײ°«¬- Í»®·¿´ Ü¿¬¿ñß¼¼®»-- Í»®·¿´ Ý´±½µ É®·¬» Ю±¬»½¬ õïòèÊ ¬± õ êòðÊ °±©»® Í«°°´§ Ù®±«²¼ ÍÝØÛÓßÌ×Ý Ü×ßÙÎßÓ ó îë ó ïò ÍÝßÔÛÎ ó îê ó îò Ó×ÝÑÓ ó îé ó íò ÐÑÉÛÎ ó îè ó ìò ÝÑÒÒÛÝÌÑÎ ú ÖßÝÕÍ ó îç ó ëò ÕÛÇ ÐßÎÌ ßËÌÑñÍÛÌ Î×ÙØÌ ÔÛÚÌ ÜÑÉÒ Ó¿§ò îððí ÐñÒÑ æ íèîèÌÍÔðéìРЮ·²¬»¼ ·² Õ±®»¿

标签:

版权声明

1. 本站所有素材,仅限学习交流,仅展示部分内容,如需查看完整内容,请下载原文件。
2. 会员在本站下载的所有素材,只拥有使用权,著作权归原作者所有。
3. 所有素材,未经合法授权,请勿用于商业用途,会员不得以任何形式发布、传播、复制、转售该素材,否则一律封号处理。
4. 如果素材损害你的权益请联系客服QQ:77594475 处理。