松下SB-PS5500GK音响系统维修手册

分类:电子电工 日期: 点击:0
松下SB-PS5500GK音响系统维修手册-0 松下SB-PS5500GK音响系统维修手册-1 松下SB-PS5500GK音响系统维修手册-2 松下SB-PS5500GK音响系统维修手册-3 松下SB-PS5500GK音响系统维修手册-4 松下SB-PS5500GK音响系统维修手册-5 松下SB-PS5500GK音响系统维修手册-6 松下SB-PS5500GK音响系统维修手册-7 松下SB-PS5500GK音响系统维修手册-8 松下SB-PS5500GK音响系统维修手册-9

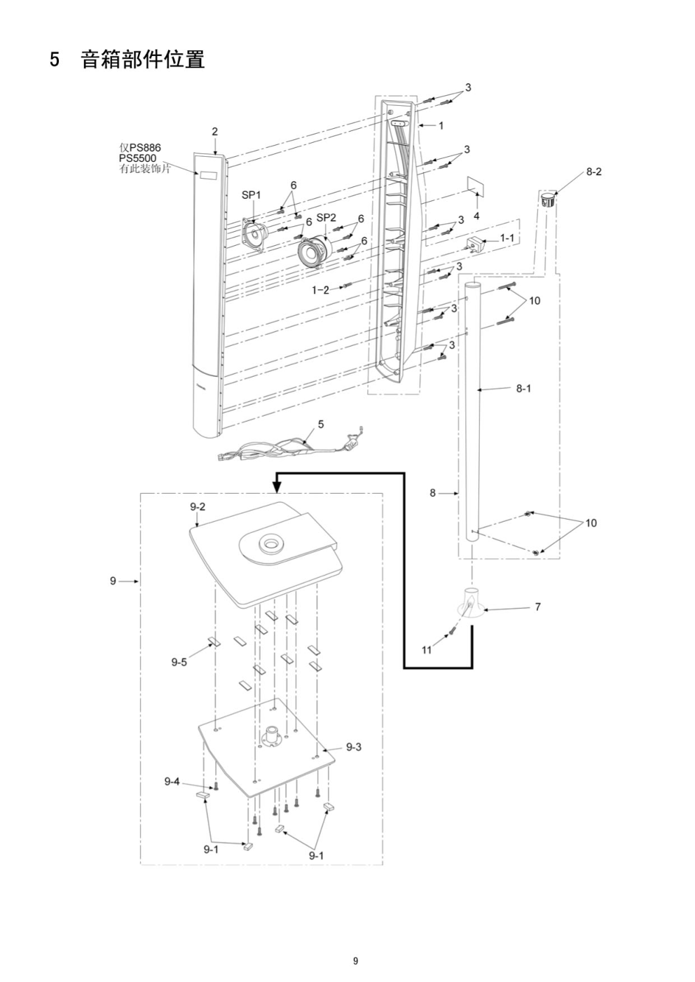
© 松下电器产业株式会社版权所有。 未经本公司许可而复制或分发者均属违法。 序号:CHD0507012CC 音响系统 SB-FS866GK SB-PS886GK SB-PS5500GK 颜色 (S)... 银色 技术规格 类型 2 通道,2 音箱系统,低音反射型 频率范围 78 赫兹 - 50 赫兹 (-16 分贝) 音箱 全频宽 8 厘米 x 1 锥形 90 赫兹 - 45 赫兹 (-10 分贝) 全频宽 6 厘米 x 1 环形 尺寸 (宽 x 高 x 深) 260 毫米 x 1234 毫米 x 270 毫米 阻抗 4 欧姆 重量 约 3.92 公斤 输入功率 SB-FS866GK:IEC 60 瓦 (最大) 注意: SB-PS886/5500GK:IEC 70 瓦 (最大) 1. 规格如有变更,恕不另行通知。 输出电压 81 分贝 / 瓦 (1 米) 2. 重量和尺寸为近似值。 2 目录 页数 页数 1 系统组成----------------------------------------- 3 2 拆卸过程----------------------------------------- 4 2.1. 前面板组件的拆卸 --------------------------- 4 2.2. 低音喇叭的拆卸 ----------------------------- 4 2.3. 高音喇叭的拆卸 ----------------------------- 5 2.4. 端子的拆卸 ------------------------------- 5 2.5. 钢管的拆卸 --------------------------------- 6 2.6. 底座组件的拆卸 ----------------------------- 7 3 音箱线的连接--------------------------------------8 4 电路连接图----------------------------------------8 5 音箱部件位置--------------------------------------9 6 维修部品表---------------------------------------10 7 装配图-------------------------------------------10 3 1 系统组成 系统 SC-HT866GK-S 主机 SA-HT866GK-S 前置音箱 SB-FS866GK-S 环绕音箱 SB-PS866GK-S 中置音箱 SB-PC866GK-S 有源重低音音箱 SB-WA866GK-S 系统 SC-HT5500GK-S 主机 SA-HT5500GK-S 前置音箱 SB-FS5500GK-S 环绕音箱 SB-PS5500GK-S 中置音箱 SB-PC5500GK-S 有源重低音音箱 SB-WA5500GK-S 系统 SC-HT886GK-S 主机 SA-HT886GK-S 前置音箱 SB-FS886GK-S 环绕音箱 SB-PS886GK-S 中置音箱 SB-PC886GK-S 有源重低音音箱 SB-WA886GK-S 4 2 拆卸过程 2.1. 前面板组件的拆卸 步骤 1: 卸下后壳组件的 12 个螺钉。 步骤 2:如箭头所指方向推动前面板组件,使其脱离后壳组件。 2.2. 低音喇叭的拆卸 重复 2.1 小节 (步骤 1)到 (步骤 2)。 步骤 1:将低音喇叭的红色 (+)和灰色 (-)内线拆下。 步骤 2:将低音喇叭上的 4 个螺钉卸下。 5 2.3. 高音喇叭的拆卸 重复 2.1 小节 (步骤 1)到 (步骤 2)。 步骤 1:将高音喇叭上的红色 (+)和黑色 (-)内线拆下。 步骤 2:将高音喇叭上的 4 个螺钉卸下。 2.4. 端子的拆卸 重复 2.1 小节 (步骤 1)到 (步骤 2)。 步骤 1:将端子上的红色 (+)和灰色 (-)内线拆下。 步骤 2:将端子上的 1 个螺钉卸下。 6 步骤 3:将端子从后壳组件上卸下。 2.5. 钢管的拆卸 步骤 1:按箭头所指方向将铜色 (+)和银色 (-)内线从端子上 拆下。 步骤 2:将音箱线从凹槽中拔出。 步骤 3:将钢管和后壳组件上的 2 个螺钉卸下。 步骤 4:按箭头所指方向将音箱线从卡口中拔出。 步骤 5:按箭头所指方向将音箱线从钢管和底座组件上拔出。 7 步骤 6-1:将底座装饰环与钢管上的 1 个螺钉卸下。 步骤 6-2:沿钢管向上卸下底座装饰环。 步骤 7:将钢管和底座组件上的 2 个螺钉卸下。 步骤 8:按箭头所指方向将钢管从底座组件上卸下。 2.6. 底座组件的拆卸 重复 2.5 小节中的 (步骤 1)到 (步骤 2)。 步骤 1:将底座组件上的 7 个螺钉卸下。 8 3 音箱线的连接 • 务必在连接 AC 电源线之前连接音箱线。 • 本机所使用的所有音箱负载阻抗均为 4 欧姆。 • 务必将右音箱与右端子连接;将左音箱与左端子连接。 1. 剥掉音箱线外壳,并绞紧中间的内线,确认缆线末端外壳已剥掉。(如果已经剥掉,将其在此拧紧。) 2. 将内线插入到本机后面板上,然后合上杠杆。 注意: • 切勿将正极 (+)和负极 (-)音箱内线连接短路。 • 务必将正极 (铜色)内线与正极 (+)端子连接,负极 (银色)内线与负极 (-)端子连接。连接不正确会损坏音箱。 4 电路连接图 7 装配图 注意:下列图仅表示 SB-FS866GK-S 的装配图。 6 维修部品表 注意: 位号 品番 描述 备注 · 重要安全注意事项: 9 RYQC0023 底座组件 1 · 有(!)标记的零件具有安全方面的特殊性能。在更换零部 9-1 RKAC0011 橡胶垫A 4 件时,只能使用生产厂家在零件清单中规定的零件。 9-2 RKUC0005-S 底座壳 1 · 标志(RTL)表示此零件有限定的保留时间。此部件的生产 9-3 RYQC0022 钢板组件 1 中止后,该零件在一段时间内将继续供货。供货的持续时间 9-4 XSTW3+8PFJ 螺钉 7 取决于具体部件的类型,并根据主要零件和产品的最低保留 9-5 RMXC0031 底座壳橡胶垫 10 时间决定。这段时间过后,该部件将不再供货。 10 RYQX0200 音箱螺钉组件 1 · SB-FS866GK: *1 SB-PS886GK/SB-PS5500GK: *2 11 RHDC0023 螺钉 1 位号 品番 描述 备注 附属品 音箱部件 A1 SK-2468-639A 音箱线 1 1 RFKHBFS866AK 后壳维修组件 1 1-1 K4CC02000006 音箱端子(红黑) 1 包装品 1-2 XTB3+10GFJ 螺钉 1 P1 RPNC0107A 前置底座缓冲材(左) 1 2 RYPC0078 前面板组件 1 *1 P1 RPNC0107B 前置底座缓冲材(右) 1 2 RYPC0076 前面板组件 1 *2 P2 RPFC0049 底座组件包装袋 4 3 XTB3+10GFJ 螺钉 12 P1 RPNC0096A 底座装饰环缓冲材(上) 1 4 RQLCA0424-J 铭牌 1 *1 P1 RPNC0096B 底座装饰环缓冲材(下) 1 4 RQLCA0422-J 铭牌 1 *2 P2 RPFC0045 装饰环包装袋 2 5 REXC0024 内线 1 P1 RPNC0106A PS/底座缓冲材(上) 1 6 XTB3+8GFJ 螺钉(固定前面板与喇叭) 8 P1 RPNC0106B PS/底座缓冲材(下) 1 7 RYQC0024 装饰环组件 1 P2 RPFC0048 钢管组件包装袋 2 8 RYQC0029 钢管组件 1 P2 RPFC0046 FS音箱包装袋 2 8-1 RMMC0005 钢管 1 8-2 RGQC0034 孔塞 1 SP1 EAST6PH17D6 高音喇叭 1 SP2 EAS8P184B 低音喇叭 1 10 11

标签:

版权声明

1. 本站所有素材,仅限学习交流,仅展示部分内容,如需查看完整内容,请下载原文件。
2. 会员在本站下载的所有素材,只拥有使用权,著作权归原作者所有。
3. 所有素材,未经合法授权,请勿用于商业用途,会员不得以任何形式发布、传播、复制、转售该素材,否则一律封号处理。
4. 如果素材损害你的权益请联系客服QQ:77594475 处理。