三星T220液晶显示器维修手册和原理图

分类:电子电工 日期: 点击:0
三星T220液晶显示器维修手册和原理图-0 三星T220液晶显示器维修手册和原理图-1 三星T220液晶显示器维修手册和原理图-2 三星T220液晶显示器维修手册和原理图-3 三星T220液晶显示器维修手册和原理图-4 三星T220液晶显示器维修手册和原理图-5 三星T220液晶显示器维修手册和原理图-6 三星T220液晶显示器维修手册和原理图-7 三星T220液晶显示器维修手册和原理图-8 三星T220液晶显示器维修手册和原理图-9

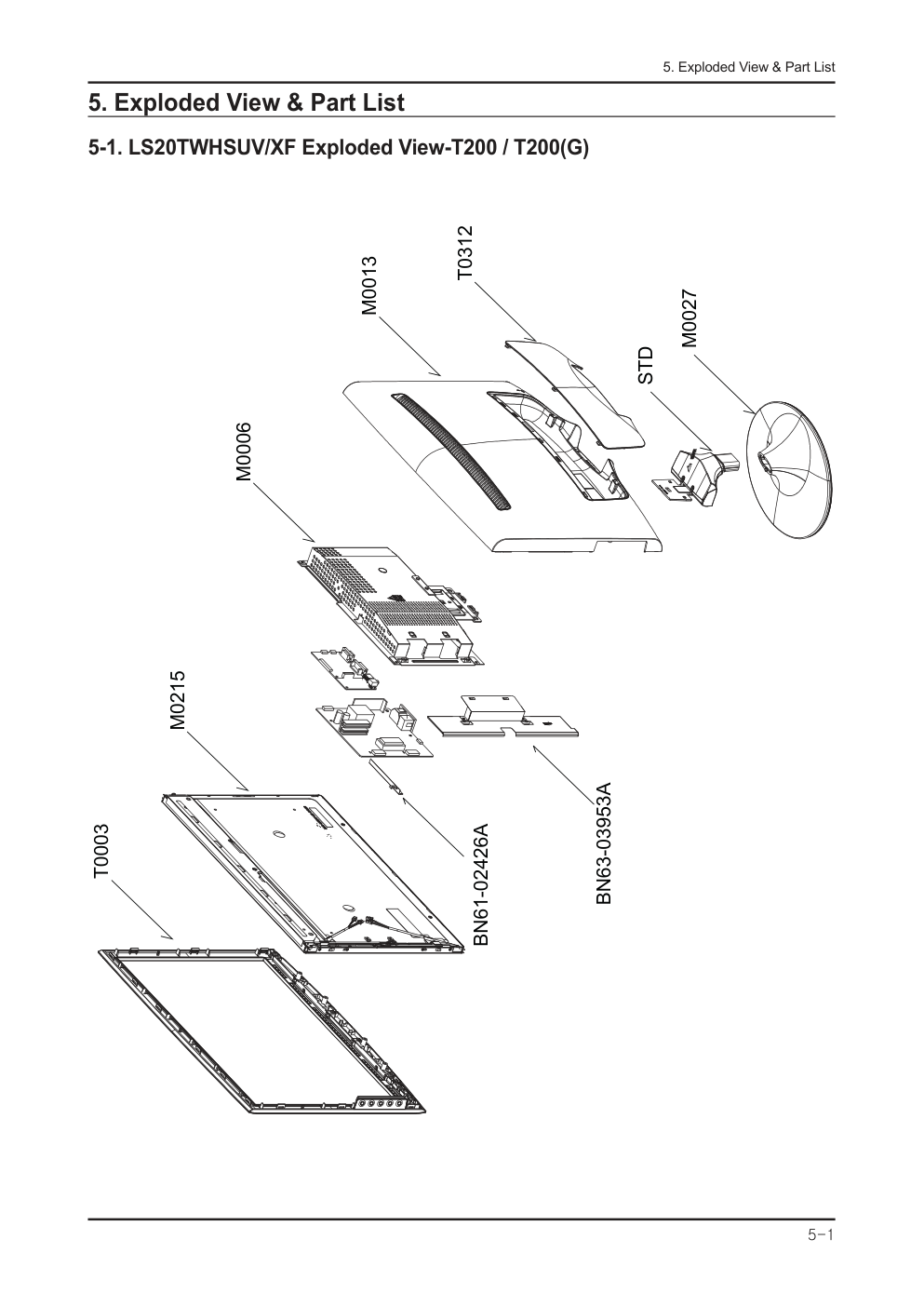
LCD-Monitor Chassis : LTW22HS / LTW22GS LTW20HS / LTW20GS Model : T220 / T220(G) T200 / T200(G) SERVICE Manual TFT-LCD Monitor Contens T220 / T220(G) T200 / T200(G) Refer to the service manual in the GSPN (see the rear cover) for the more information. 1. Precautions 2. Product specifications 3. Disassembly and Reassemble 4. Troubleshooting 5. Exploded View & Part List 6. Wiring Diagram 7. Schematic Diagram Contents 1. Precautions .............................................................................................................. 1-1 1-1. Safety Precautions ......................................................................................................... 1-1 1-2. Servicing Precautions ..................................................................................................... 1-2 1-3. Static Electricity Precautions .......................................................................................... 1-2 1-4. Installation Precautions .................................................................................................. 1-3 2. Product specifications ............................................................................................ 2-1 2-1. Feature & Specifications ................................................................................................. 2-1 2-2. Spec Comparison to the Old Models .............................................................................. 2-2 2-3. Accessories .................................................................................................................... 2-3 2-4. Accessories (Sold separately) ........................................................................................ 2-3 3. Disassembly and Assembly ................................................................................... 3-1 3-1. SIMPLE STAND Disassembly ........................................................................................ 3-1 4. Troubleshooting ...................................................................................................... 4-1 4-1. Troubleshooting .............................................................................................................. 4-1 4-2. When the Power Does Not Turn On ............................................................................... 4-2 4-3. When the screen is blank (Analog) .................................................................................4-4 4-4. When a blank screen is displayed (Digital) ..................................................................... 4-7 4-5. Error Examples and Actions ......................................................................................... 4-10 4-6. Adjustment .................................................................................................................... 4-11 5. Exploded View & Part List ...................................................................................... 5-1 5-1. Exploded View-T200 / T200(G) ...................................................................................... 5-1 5-2. Parts List-T200 / T200(G) ............................................................................................... 5-3 5-3. Exploded View-T220 / T220(G) ...................................................................................... 5-4 5-4. Parts List-T220 / T220(G) ............................................................................................... 5-6 6. Wiring Diagram ........................................................................................................ 6-1 6-1. Wiring Diagram - Main Board ......................................................................................... 6-1 6-2. Wiring Diagram - IP Board .............................................................................................. 6-2 6-3. Connector Functions ...................................................................................................... 6-3 6-4. Cables ............................................................................................................................ 6-3 7. Schematic Diagram ................................................................................................. 7-1 7-1. Circuit Descriptions ......................................................................................................... 7-1 7-2. Schematic Diagrams (Scaler Part) .................................................................................7-2 7-3. Schematic Diagrams (Power Flowchart) ........................................................................ 7-2 7-4. Schematic Diagrams (IP Board) ..................................................................................... 7-3 7-5. Schematic Diagrams (Main PBA) ..................................................................................7-5 GSPN (Global Service Partner Network) Area Web Site North America http://service.samsungportal.com Latin America http://latin.samsungportal.com CIS http://cis.samsungportal.com Europe http://europe.samsungportal.com China http://china.samsungportal.com Asia http://asia.samsungportal.com Mideast & Africa http://mea.samsungportal.com This Service Manual is a property of Samsung Electronics Co.,Ltd. Any unauthorized use of Manual can be punished under applicable International and/or domestic law. © 2008 Samsung Electronics Co.,Ltd. All rights reserved. Printed in Korea P/N: BN82-00357A-00 3-1 3. Disassembly and Assembly 3. Disassembly and Assembly This section describes the disassembly and reassembly sequences for this monitor. Warning: As this monitor has parts that are sensitive to static electricity, be careful when handling them. 3-1. Disassembly Caution: 1. Turn the monitor off before beginning the disassembly process. 2. When disassembling the monitor, do not use any metal tools except for the provided jig. 3. Disassemble the monitor carefully as directed in the following procedures. Description Photo Screws 1. Place a soft cloth on the table and place the monitor onto it with the front part facing downwards. Hold the monitor set with one hand and hold and pull the stand body backwards with the other hand to remove the stand body from the monitor set. 2. Insert both hands into the groove and then lift up and remove the cover. 3. Remove the four (2) screws. 4. Remove the INVERTER wire, LVDS cable, and FUNCTION cable, and then remove the SHIELD- COVER. INVERTER, LVDS FUNCTION 3-2 3. Disassembly and Assembly Description Photo Screws 5. After disconnecting SHIELD-LAMP of left side, disassemble lamp wire between panel and IP Board. 6. Remove the four (4) screws shown in the figure and remove the Bracket support. 7. Remove the two (2) screws and then remove the holders from the four (4) snaps designated in the right figure using the provided jig. 3-3 3. Disassembly and Assembly Description Photo Screws 8. Remove the connectors. Caution : Servicing is not supported for the PCB. ▶Assembly 9. The assembly is in the reverse order of the disassembly. 10. Connect the disassembled snap and the LED module again. 11. Fix the connecting wire with filament tape Caution : If the wire is damaged when closing the cover, an operating error may occur. Therefore, make sure to close the cover after fixing it with filament tape. filament tape 3-4 3. Disassembly and Assembly Description Photo Screws 12. The assembly is in the reverse order of the disassembly. Insert the cover into the groove and then press both sides. ※The assembly is in the reverse order of disassembly. 5-1 5. Exploded View & Part List 5. Exploded View & Part List 5-1. LS20TWHSUV/XF Exploded View-T200 / T200(G) T0003 M0215 M0006 M0013 T0312 STD M0027 BN61-02426A BN63-03953A 5-2 5. Exploded View & Part List 5-1-1. LS20TWHSUV/XF Parts List Location No. Code No. Description & Specification Q’ty SA/SNA Remark T0003 BN96-07381J ASSY COVER P-FRONT;LS20TW,PMMA+ABS,TOC,R 1 S.A M0215 BN07-00402A LCD-PANEL;M201EW02 V8 1 S.A BN61-02426A BRACKET-SHIELD;S/M 203B,SPTE,T0.3 1 S.N.A BN63-03953A SHIELD-LAMP;2043BW/NW[Mckinley],SPTE,T0. 1 S.N.A M0006 BN96-07384A ASSY SHIELD P-COVER;LS20TW,SECC T0.8 1 S.N.A M0013 BN96-07382B ASSY COVER P-REAR;LS20TW,PMMA+ABS,HB,H/G 1 S.A T0312 BN96-07928A ASSY COVER P-REAR SUB;LS20TW,PMMA+ABS HB 1 S.A STD BN96-07347C ASSY STAND P-BODY;LS22T_NORMAL (SM50C),A 1 S.A M0027 BN96-07345A ASSY STAND P-BASE;LS22TW,PMMA+ABS, HB,RD 1 S.A 5-3 5. Exploded View & Part List 5-2. LS20TWHSUV/XF Parts List-T200 / T200(G) Service Bom (SA: SERVICE AVAILABLE, SNA: SERVICE NOT AVAILABLE) Level Location No. Code No. Description & Specification Q’ty SA/SNA Remark LS20TWHSUV/XF T200,WSN1/S20T0-LTW,20,LCD-MO,CHINA 0.1 M0001 BN90-01623A ASSY COVER FRONT;LS20TW_TOC,ROSE BLACK 1 S.N.A ..2 T0003 BN96-07381J ASSY COVER P-FRONT;LS20TW,PMMA+ABS, TOC,R 1 S.A ...3 M0081 6003-000282 SCREW-TAPTITE;BH,+,- ,B,M3,L8,ZPC(BLK),SW 2 S.A ...3 M0960 BN61-03932A HOLDER-BOSS;T200,PMMA+ABS HB,WH15 1 S.N.A ...3 CCM1 BN63-02183D COVER-SHEET;Rhcm,PE Vinyl,T0.05,680mm,20 0.5 S.N.A ...3 M0112 BN63-04426A COVER-FRONT;T20W,PMMA+ABS-PMMA,TOC 1 S.N.A ...3 BN64-00842A KNOB-GUIDE;T220,PMMA+ABS,HB,BK26,H/ GLOSS 1 S.N.A ...3 T0022 BN64-00844A KNOB CONTROL;T220,PMMA+ABS,HB,BK26,H/ GLO 1 S.N.A ...3 M0102 BN96-07569A ASSY BLU P;T220D,MB-M0716,WHITE,BLU 1 S.A ....4 BN94-01893J ASSY PCB MAIN-BN96-07569A;T,ASSY BLU P 1 S.N.A .....5 BN81-01709A A/S-MOLD FRAME;SR- 3108F,46.6X10.524X,BN9 1 S.N.A .....5 BN81-01710A A/S-GUIDE PANEL-L;PC,40.6X7.08X3.4,BN96- 1 S.N.A .....5 BN81-01711A A/S-DIFFUSER SHEET;G25,42.6X10.31,BN96- 0 1 S.N.A .....5 BN81-01715A A/S-HARNESS;PST0716-01,BN96-07569A 1 S.N.A .....5 BN81-01716A A/S-SHADING TAPE;#1350,91.8X4.5,BN96- 075 1 S.N.A .....5 T0174 BN97-02297N ASSY SMD;T,W/W 1 S.N.A ......6 BN81-01712A A/S-PCB;FR-4,0.6T,8.68X7.05,BN96-07569A 1 S.N.A ......6 BN81-01713A A/S-LED;MWHT213Z,BN96-07569A 1 S.N.A ......6 BN81-01714A A/S-RESISTOR;RC1206JR-0733R,BN96- 07569A 1 S.N.A ...3 M0145 BN96-07890B ASSY BOARD P-FUNCTION;T,Function Assy,Wi 1 S.A ....4 M2893 BN39-01007C LEAD CONNECTOR;T,UL1061#28,5 to 5pin,150 1 S.A ....4 BN94-01893A ASSY PCB MAIN-POWER PCB;T 1 S.N.A .....5 CN330 3711-002162 HEADER-BOARD TO CABLE;BOX,2P,1R,1.25mm,S 1 S.A .....5 CN906 3711-006471 CONNECTOR-HEADER;BOX,5P,1R,1mm,SMD- A,AU, 1 S.A .....5 BN74-00014A TAPE-FUNCTION TAPE;DOUBLE FACE TAPE,Acry 1 S.N.A .....5 T0174 BN97-02297E ASSY SMD;T,W/W 1 S.N.A ......6 U3 1203-005267 IC-VOL. DETECTOR;KIA7027,TSM,3P,PLASTIC, 1 S.A ......6 U1 1209-001809 IC-SENSOR;MCS-5000,UQFN,24P,4x4mm,PL ASTI 1 S.A ......6 R110 2007-000074 R-CHIP;100ohm,5%,1/10W,TP,1608 1 S.A ......6 R110 2007-000082 R-CHIP;3.3Kohm,5%,1/10W,TP,1608 1 S.A ......6 R110 2007-000084 R-CHIP;4.7Kohm,5%,1/10W,TP,1608 1 S.A ......6 C120 2203-005918 C-CER,CHIP;1000nF,10%,6.3V,X7R,1608 1 S.A ......6 C120 2203-005918 C-CER,CHIP;1000nF,10%,6.3V,X7R,1608 1 S.A ......6 C120 2203-006048 C-CER,CHIP;100nF,10%,10V,X7R,1005 1 S.A 5-4 5. Exploded View & Part List ......6 CN330 3711-005935 HEADER-BOARD TO CABLE;BOX,4P,1R,1mm,SMD- 1 S.A ......6 PCB BN41-01034A PCB-FUNCTION;T Function PCB,FR-4,2,MP 1. 1 S.N.A ....4 BN94-01893B ASSY PCB MAIN-FUNCTION PCB;T 1 S.N.A .....5 M2893 BN39-01051A LEAD CONNECTOR;T220D,UL1571#30,UL,4P ,#30 1 S.A .....5 M0104 BN63-04673A EARTH-PLATE;T220,PBS SH,T0.15 2 S.N.A .....5 T0174 BN97-02297F ASSY SMD;T,W/W 1 S.N.A ......6 D1 0403-001411 DIODE-ZENER;-,5.49-5.73V,200mW,SOD- 323,T 1 S.A ......6 D10 0403-001411 DIODE-ZENER;-,5.49-5.73V,200mW,SOD- 323,T 1 S.A ......6 D2 0403-001411 DIODE-ZENER;-,5.49-5.73V,200mW,SOD- 323,T 1 S.A ......6 R110 2007-000081 R-CHIP;2.7Kohm,5%,1/10W,TP,1608 1 S.A ......6 R110 2007-000081 R-CHIP;2.7Kohm,5%,1/10W,TP,1608 1 S.A ......6 R110 2007-000123 R-CHIP;1.5Kohm,5%,1/10W,TP,1608 1 S.A ......6 R110 2007-000123 R-CHIP;1.5Kohm,5%,1/10W,TP,1608 1 S.A ......6 T0313 3404-001209 SWITCH-TACT;12VDC,50mA,250gf,4.5x4.5x1.5 1 S.A ......6 T0313 3404-001209 SWITCH-TACT;12VDC,50mA,250gf,4.5x4.5x1.5 1 S.A ......6 T0313 3404-001209 SWITCH-TACT;12VDC,50mA,250gf,4.5x4.5x1.5 1 S.A ......6 T0313 3404-001209 SWITCH-TACT;12VDC,50mA,250gf,4.5x4.5x1.5 1 S.A ......6 T0313 3404-001209 SWITCH-TACT;12VDC,50mA,250gf,4.5x4.5x1.5 1 S.A ......6 PCB BN41-01033A PCB-FUNCTION;T Function PCB,FR-4,2,MP 1. 1 S.N.A 0.1 M0002 BN90-01624B ASSY COVER REAR;LS20TW_TOC,AUO 1 S.N.A ..2 M0013 BN96-07382B ASSY COVER P-REAR;LS20TW,PMMA+ABS,H B,H/G 1 S.A ...3 CCM1 BN63-02183D COVER-SHEET;Rhcm,PE Vinyl,T0.05,680mm,20 0.5 S.N.A ...3 M0006 BN63-04427B COVER-REAR;LS20TW,PMMA+ABS,BK26,H/ GLOSSY 1 S.N.A ...3 M0126 BN73-00170C RUBBER-FOOT;943BW,2043BW,RUBBER,8*8 ,3.0, 5 S.N.A ..2 T0312 BN96-07928A ASSY COVER P-REAR SUB;LS20TW,PMMA+ABS HB 1 S.A ...3 CCM1 BN63-02183B COVER-SHEET;Rhcm,PE Vinyl,T0.05,150mm,20 0.4 S.N.A ...3 M0006 BN63-04428B COVER-REAR SUB;LS20TW,PMMA+ABS HB,BK26,H 1 S.N.A ..2 M0081 6003-000275 SCREW-TAPTITE;BH,+,-,B,M3,L10,ZPC(BLK),S 2 S.N.A 0.1 BN91-01303M ASSY LCD-ATZ;LS20HAWCSZ,4LAMP 1 S.N.A ..2 M0215 BN07-00402A LCD-PANEL;M201EW02 V8 1 S.A 0.1 M0017 BN91-02098S ASSY CHASSIS-ATZ,W/W;LS20TWHSUV/EN 1 S.A ..2 M0081 6003-001439 SCREW-TAPTITE;BH,+,- ,S,M4,L8,ZPC(WHT),SW 1 S.N.A ..2 BN61-02426A BRACKET-SHIELD;S/M 203B,SPTE,T0.3 1 S.N.A ..2 M0014 BN94-01703X ASSY PCB MAIN-ATZ,W/W;LS20TWHSUV* 1 S.N.A ...3 T0245 0202-001608 SOLDER-WIRE FLUX;LFC7-107,D0.8,99.3Sn/0. 0.003 S.N.A ...3 CN102 3701-001173 CONNECTOR-DVI;24P,3R,FEMALE,ANGLE,AUF 1 S.A ...3 CN101 3701-001219 CONNECTOR-DSUB;15P,3R,FEMALE,ANGLE, AUF 1 S.A ...3 CN600 3711-004261 HEADER-BOARD TO BOARD;BOX,12P,1R,2mm,ANG 1 S.A ...3 HDCP BN97-00707A ASSY HDCP;BN46-00018A,BR20/21BS_ CS,MSTAR 1 S.N.A 5-5 5. Exploded View & Part List ....4 BN46-00018A KEY CODE-CERTIFICATE;(HDCP KEY)PPM42M5S, 1 S.N.A ...3 T0174 BN97-02132F ASSY SMD;LS20TWH* 1 S.N.A ....4 SUB05 0202-001477 SOLDER-CREAM;LST309-M,- ,D20~45##,96.5Sn/ 0.528 S.N.A ....4 D100 0401-001056 DIODE-SWITCHING;MMBD4148SE,100V,200m A,SO 1 S.A ....4 D101 0401-001056 DIODE-SWITCHING;MMBD4148SE,100V,200m A,SO 1 S.A ....4 D102 0401-001056 DIODE-SWITCHING;MMBD4148SE,100V,200m A,SO 1 S.A ....4 D103 0401-001056 DIODE-SWITCHING;MMBD4148SE,100V,200m A,SO 1 S.A ....4 D104 0401-001056 DIODE-SWITCHING;MMBD4148SE,100V,200m A,SO 1 S.A ....4 D105 0401-001056 DIODE-SWITCHING;MMBD4148SE,100V,200m A,SO 1 S.A ....4 D106 0401-001056 DIODE-SWITCHING;MMBD4148SE,100V,200m A,SO 1 S.A ....4 D107 0401-001056 DIODE-SWITCHING;MMBD4148SE,100V,200m A,SO 1 S.A ....4 D108 0401-001056 DIODE-SWITCHING;MMBD4148SE,100V,200m A,SO 1 S.A ....4 D109 0401-001056 DIODE-SWITCHING;MMBD4148SE,100V,200m A,SO 1 S.A ....4 D110 0401-001056 DIODE-SWITCHING;MMBD4148SE,100V,200m A,SO 1 S.A ....4 D600 0402-001614 DIODE-RECTIFIER;S1G,400V,1A,DO-214AC,TP 1 S.A ....4 D601 0402-001614 DIODE-RECTIFIER;S1G,400V,1A,DO-214AC,TP 1 S.A ....4 ZD100 0403-001411 DIODE-ZENER;-,5.49-5.73V,200mW,SOD- 323,T 1 S.A ....4 ZD101 0403-001411 DIODE-ZENER;-,5.49-5.73V,200mW,SOD- 323,T 1 S.A ....4 ZD102 0403-001411 DIODE-ZENER;-,5.49-5.73V,200mW,SOD- 323,T 1 S.A ....4 ZD103 0403-001411 DIODE-ZENER;-,5.49-5.73V,200mW,SOD- 323,T 1 S.A ....4 ZD104 0403-001411 DIODE-ZENER;-,5.49-5.73V,200mW,SOD- 323,T 1 S.A ....4 ZD105 0403-001411 DIODE-ZENER;-,5.49-5.73V,200mW,SOD- 323,T 1 S.A ....4 ZD106 0403-001411 DIODE-ZENER;-,5.49-5.73V,200mW,SOD- 323,T 1 S.A ....4 ZD202 0403-001411 DIODE-ZENER;-,5.49-5.73V,200mW,SOD- 323,T 1 S.A ....4 ZD203 0403-001411 DIODE-ZENER;-,5.49-5.73V,200mW,SOD- 323,T 1 S.A ....4 ZD204 0403-001411 DIODE-ZENER;-,5.49-5.73V,200mW,SOD- 323,T 1 S.A ....4 ZD601 0403-001411 DIODE-ZENER;-,5.49-5.73V,200mW,SOD- 323,T 1 S.A ....4 ZD200 0406-001061 DIODE-TVS;MMQA5V6T3,5.32/5.6/5.88V,24W,S 1 S.A ....4 ZD201 0406-001061 DIODE-TVS;MMQA5V6T3,5.32/5.6/5.88V,24W,S 1 S.A ....4 Q201 0501-000445 TR-SMALL SIGNAL;KTC3875S- Y,NPN,150mW,SOT 1 S.A ....4 Q203 0501-000445 TR-SMALL SIGNAL;KTC3875S- Y,NPN,150mW,SOT 1 S.A ....4 Q204 0501-000445 TR-SMALL SIGNAL;KTC3875S- Y,NPN,150mW,SOT 1 S.A ....4 Q601 0501-000445 TR-SMALL SIGNAL;KTC3875S- Y,NPN,150mW,SOT 1 S.A 5-6 5. Exploded View & Part List ....4 Q202 0501-002080 TR-SMALL SIGNAL;2SC2412K,NPN,200mW,S C-59 1 S.A ....4 Q205 0501-002080 TR-SMALL SIGNAL;2SC2412K,NPN,200mW,S C-59 1 S.A ....4 Q207 0501-002080 TR-SMALL SIGNAL;2SC2412K,NPN,200mW,S C-59 1 S.A ....4 Q602 0501-002080 TR-SMALL SIGNAL;2SC2412K,NPN,200mW,S C-59 1 S.A ....4 Q409 0505-001165 FET-SILICON;SI3443BDV,P,-20V,+-4.4A,65mo 1 S.A ....4 Q409 0505-001165 FET-SILICON;SI3443BDV,P,-20V,+-4.4A,65mo 1 S.A ....4 IC112 1103-000129 IC-EEPROM;24C02,2Kbit,256x8Bit,SOP,8P,5x 1 S.A ....4 IC112 1103-000129 IC-EEPROM;24C02,2Kbit,256x8Bit,SOP,8P,5x 1 S.A ....4 IC112 1103-001410 IC-EEPROM;S-24CS08AFJ-TB- 1GE,8Kbit,1Kx8, 1 S.A ....4 T0087 1203-003695 IC-POSI.FIXED REG.;NCP1117ST33T3G,SOT- 22 1 S.A ....4 T0087 1203-003695 IC-POSI.FIXED REG.;NCP1117ST33T3G,SOT- 22 1 S.A ....4 T0087 1203-003696 IC-POSI.FIXED REG.;NCP1117DT18T5G,DPA K,3 1 S.A ....4 IC109 1205-003255 IC-LCD CONTROLLER;SE758MRH- LF,PQFP,128P, 1 S.A ....4 R110 2007-000071 R-CHIP;22ohm,5%,1/10W,TP,1608 1 S.A ....4 R110 2007-000071 R-CHIP;22ohm,5%,1/10W,TP,1608 1 S.A ....4 R110 2007-000071 R-CHIP;22ohm,5%,1/10W,TP,1608 1 S.A ....4 R110 2007-000071 R-CHIP;22ohm,5%,1/10W,TP,1608 1 S.A ....4 R110 2007-000071 R-CHIP;22ohm,5%,1/10W,TP,1608 1 S.A ....4 R110 2007-000071 R-CHIP;22ohm,5%,1/10W,TP,1608 1 S.A ....4 R110 2007-000071 R-CHIP;22ohm,5%,1/10W,TP,1608 1 S.A ....4 R110 2007-000071 R-CHIP;22ohm,5%,1/10W,TP,1608 1 S.A ....4 R110 2007-000071 R-CHIP;22ohm,5%,1/10W,TP,1608 1 S.A ....4 R110 2007-000071 R-CHIP;22ohm,5%,1/10W,TP,1608 1 S.A ....4 R110 2007-000071 R-CHIP;22ohm,5%,1/10W,TP,1608 1 S.A ....4 R110 2007-000071 R-CHIP;22ohm,5%,1/10W,TP,1608 1 S.A ....4 R110 2007-000074 R-CHIP;100ohm,5%,1/10W,TP,1608 1 S.A ....4 R110 2007-000074 R-CHIP;100ohm,5%,1/10W,TP,1608 1 S.A ....4 R110 2007-000074 R-CHIP;100ohm,5%,1/10W,TP,1608 1 S.A ....4 R110 2007-000074 R-CHIP;100ohm,5%,1/10W,TP,1608 1 S.A ....4 R110 2007-000074 R-CHIP;100ohm,5%,1/10W,TP,1608 1 S.A ....4 R110 2007-000074 R-CHIP;100ohm,5%,1/10W,TP,1608 1 S.A ....4 R110 2007-000074 R-CHIP;100ohm,5%,1/10W,TP,1608 1 S.A ....4 R110 2007-000074 R-CHIP;100ohm,5%,1/10W,TP,1608 1 S.A ....4 R110 2007-000074 R-CHIP;100ohm,5%,1/10W,TP,1608 1 S.A ....4 R110 2007-000074 R-CHIP;100ohm,5%,1/10W,TP,1608 1 S.A ....4 R110 2007-000074 R-CHIP;100ohm,5%,1/10W,TP,1608 1 S.A ....4 R110 2007-000074 R-CHIP;100ohm,5%,1/10W,TP,1608 1 S.A ....4 R110 2007-000074 R-CHIP;100ohm,5%,1/10W,TP,1608 1 S.A ....4 R110 2007-000074 R-CHIP;100ohm,5%,1/10W,TP,1608 1 S.A ....4 R110 2007-000074 R-CHIP;100ohm,5%,1/10W,TP,1608 1 S.A ....4 R110 2007-000074 R-CHIP;100ohm,5%,1/10W,TP,1608 1 S.A ....4 R110 2007-000074 R-CHIP;100ohm,5%,1/10W,TP,1608 1 S.A ....4 R110 2007-000074 R-CHIP;100ohm,5%,1/10W,TP,1608 1 S.A ....4 R110 2007-000074 R-CHIP;100ohm,5%,1/10W,TP,1608 1 S.A ....4 R110 2007-000074 R-CHIP;100ohm,5%,1/10W,TP,1608 1 S.A ....4 R110 2007-000074 R-CHIP;100ohm,5%,1/10W,TP,1608 1 S.A 5-7 5. Exploded View & Part List ....4 R110 2007-000080 R-CHIP;2Kohm,5%,1/10W,TP,1608 1 S.A ....4 R110 2007-000080 R-CHIP;2Kohm,5%,1/10W,TP,1608 1 S.A ....4 R110 2007-000080 R-CHIP;2Kohm,5%,1/10W,TP,1608 1 S.A ....4 R110 2007-000082 R-CHIP;3.3Kohm,5%,1/10W,TP,1608 1 S.A ....4 R110 2007-000083 R-CHIP;3Kohm,5%,1/10W,TP,1608 1 S.A ....4 R110 2007-000083 R-CHIP;3Kohm,5%,1/10W,TP,1608 1 S.A ....4 R110 2007-000084 R-CHIP;4.7Kohm,5%,1/10W,TP,1608 1 S.A ....4 R110 2007-000084 R-CHIP;4.7Kohm,5%,1/10W,TP,1608 1 S.A ....4 R110 2007-000084 R-CHIP;4.7Kohm,5%,1/10W,TP,1608 1 S.A ....4 R110 2007-000088 R-CHIP;7.5Kohm,5%,1/10W,TP,1608 1 S.A ....4 R110 2007-000090 R-CHIP;10Kohm,5%,1/10W,TP,1608 1 S.A ....4 R110 2007-000090 R-CHIP;10Kohm,5%,1/10W,TP,1608 1 S.A ....4 R110 2007-000090 R-CHIP;10Kohm,5%,1/10W,TP,1608 1 S.A ....4 R110 2007-000090 R-CHIP;10Kohm,5%,1/10W,TP,1608 1 S.A ....4 R110 2007-000090 R-CHIP;10Kohm,5%,1/10W,TP,1608 1 S.A ....4 R110 2007-000090 R-CHIP;10Kohm,5%,1/10W,TP,1608 1 S.A ....4 R110 2007-000090 R-CHIP;10Kohm,5%,1/10W,TP,1608 1 S.A ....4 R110 2007-000090 R-CHIP;10Kohm,5%,1/10W,TP,1608 1 S.A ....4 R110 2007-000090 R-CHIP;10Kohm,5%,1/10W,TP,1608 1 S.A ....4 R110 2007-000090 R-CHIP;10Kohm,5%,1/10W,TP,1608 1 S.A ....4 R110 2007-000090 R-CHIP;10Kohm,5%,1/10W,TP,1608 1 S.A ....4 R110 2007-000090 R-CHIP;10Kohm,5%,1/10W,TP,1608 1 S.A ....4 R110 2007-000090 R-CHIP;10Kohm,5%,1/10W,TP,1608 1 S.A ....4 R110 2007-000090 R-CHIP;10Kohm,5%,1/10W,TP,1608 1 S.A ....4 R110 2007-000090 R-CHIP;10Kohm,5%,1/10W,TP,1608 1 S.A ....4 R110 2007-000090 R-CHIP;10Kohm,5%,1/10W,TP,1608 1 S.A ....4 R110 2007-000090 R-CHIP;10Kohm,5%,1/10W,TP,1608 1 S.A ....4 R110 2007-000090 R-CHIP;10Kohm,5%,1/10W,TP,1608 1 S.A ....4 R110 2007-000090 R-CHIP;10Kohm,5%,1/10W,TP,1608 1 S.A ....4 R110 2007-000090 R-CHIP;10Kohm,5%,1/10W,TP,1608 1 S.A ....4 R110 2007-000090 R-CHIP;10Kohm,5%,1/10W,TP,1608 1 S.A ....4 R110 2007-000090 R-CHIP;10Kohm,5%,1/10W,TP,1608 1 S.A ....4 R110 2007-000090 R-CHIP;10Kohm,5%,1/10W,TP,1608 1 S.A ....4 R110 2007-000090 R-CHIP;10Kohm,5%,1/10W,TP,1608 1 S.A ....4 R110 2007-000102 R-CHIP;100Kohm,5%,1/10W,TP,1608 1 S.A ....4 R110 2007-000102 R-CHIP;100Kohm,5%,1/10W,TP,1608 1 S.A ....4 R110 2007-000124 R-CHIP;2.2Kohm,5%,1/10W,TP,1608 1 S.A ....4 R110 2007-000309 R-CHIP;10ohm,5%,1/10W,TP,1608 1 S.A ....4 R110 2007-000309 R-CHIP;10ohm,5%,1/10W,TP,1608 1 S.A ....4 R110 2007-000821 R-CHIP;390ohm,1%,1/10W,TP,1608 1 S.A ....4 R110 2007-000821 R-CHIP;390ohm,1%,1/10W,TP,1608 1 S.A ....4 R110 2007-001002 R-CHIP;510ohm,5%,1/10W,TP,1608 1 S.A ....4 R110 2007-001044 R-CHIP;56ohm,5%,1/10W,TP,1608 1 S.A ....4 R110 2007-001044 R-CHIP;56ohm,5%,1/10W,TP,1608 1 S.A ....4 R110 2007-001164 R-CHIP;75ohm,1%,1/10W,TP,1608 1 S.A ....4 R110 2007-001164 R-CHIP;75ohm,1%,1/10W,TP,1608 1 S.A ....4 R110 2007-001164 R-CHIP;75ohm,1%,1/10W,TP,1608 1 S.A ....4 C120 2203-000236 C-CER,CHIP;0.1nF,5%,50V,C0G,1608 1 S.A ....4 C120 2203-000236 C-CER,CHIP;0.1nF,5%,50V,C0G,1608 1 S.A ....4 C120 2203-000236 C-CER,CHIP;0.1nF,5%,50V,C0G,1608 1 S.A ....4 C120 2203-000257 C-CER,CHIP;10nF,10%,50V,X7R,TP,1608 1 S.A ....4 C120 2203-000257 C-CER,CHIP;10nF,10%,50V,X7R,TP,1608 1 S.A 5-8 5. Exploded View & Part List ....4 C120 2203-000257 C-CER,CHIP;10nF,10%,50V,X7R,TP,1608 1 S.A ....4 C120 2203-000384 C-CER,CHIP;0.015nF,5%,50V,C0G,1608 1 S.A ....4 C120 2203-000626 C-CER,CHIP;0.022nF,5%,50V,C0G,1608 1 S.A ....4 C120 2203-000626 C-CER,CHIP;0.022nF,5%,50V,C0G,1608 1 S.A ....4 C120 2203-000626 C-CER,CHIP;0.022nF,5%,50V,C0G,1608 1 S.A ....4 C120 2203-000888 C-CER,CHIP;4.7nF,10%,50V,X7R,1608 1 S.A ....4 C120 2203-000888 C-CER,CHIP;4.7nF,10%,50V,X7R,1608 1 S.A ....4 C120 2203-000888 C-CER,CHIP;4.7nF,10%,50V,X7R,1608 1 S.A ....4 C120 2203-000888 C-CER,CHIP;4.7nF,10%,50V,X7R,1608 1 S.A ....4 C120 2203-000888 C-CER,CHIP;4.7nF,10%,50V,X7R,1608 1 S.A ....4 C120 2203-000888 C-CER,CHIP;4.7nF,10%,50V,X7R,1608 1 S.A ....4 C120 2203-005005 C-CER,CHIP;100nF,10%,16V,X7R,1608 1 S.A ....4 C120 2203-005005 C-CER,CHIP;100nF,10%,16V,X7R,1608 1 S.A ....4 C120 2203-005005 C-CER,CHIP;100nF,10%,16V,X7R,1608 1 S.A ....4 C120 2203-005005 C-CER,CHIP;100nF,10%,16V,X7R,1608 1 S.A ....4 C120 2203-005005 C-CER,CHIP;100nF,10%,16V,X7R,1608 1 S.A ....4 C120 2203-005005 C-CER,CHIP;100nF,10%,16V,X7R,1608 1 S.A ....4 C120 2203-005005 C-CER,CHIP;100nF,10%,16V,X7R,1608 1 S.A ....4 C120 2203-005005 C-CER,CHIP;100nF,10%,16V,X7R,1608 1 S.A ....4 C120 2203-005005 C-CER,CHIP;100nF,10%,16V,X7R,1608 1 S.A ....4 C120 2203-005005 C-CER,CHIP;100nF,10%,16V,X7R,1608 1 S.A ....4 C120 2203-005005 C-CER,CHIP;100nF,10%,16V,X7R,1608 1 S.A ....4 C120 2203-005005 C-CER,CHIP;100nF,10%,16V,X7R,1608 1 S.A ....4 C120 2203-005005 C-CER,CHIP;100nF,10%,16V,X7R,1608 1 S.A ....4 C120 2203-005005 C-CER,CHIP;100nF,10%,16V,X7R,1608 1 S.A ....4 C120 2203-005005 C-CER,CHIP;100nF,10%,16V,X7R,1608 1 S.A ....4 C120 2203-005005 C-CER,CHIP;100nF,10%,16V,X7R,1608 1 S.A ....4 C120 2203-005005 C-CER,CHIP;100nF,10%,16V,X7R,1608 1 S.A ....4 C120 2203-005005 C-CER,CHIP;100nF,10%,16V,X7R,1608 1 S.A ....4 C120 2203-005005 C-CER,CHIP;100nF,10%,16V,X7R,1608 1 S.A ....4 C120 2203-005005 C-CER,CHIP;100nF,10%,16V,X7R,1608 1 S.A ....4 C120 2203-005005 C-CER,CHIP;100nF,10%,16V,X7R,1608 1 S.A ....4 C120 2203-005005 C-CER,CHIP;100nF,10%,16V,X7R,1608 1 S.A ....4 C120 2203-005005 C-CER,CHIP;100nF,10%,16V,X7R,1608 1 S.A ....4 C120 2203-005005 C-CER,CHIP;100nF,10%,16V,X7R,1608 1 S.A ....4 C120 2203-005005 C-CER,CHIP;100nF,10%,16V,X7R,1608 1 S.A ....4 C120 2203-005005 C-CER,CHIP;100nF,10%,16V,X7R,1608 1 S.A ....4 C120 2203-005005 C-CER,CHIP;100nF,10%,16V,X7R,1608 1 S.A ....4 C120 2203-005005 C-CER,CHIP;100nF,10%,16V,X7R,1608 1 S.A ....4 C120 2203-005005 C-CER,CHIP;100nF,10%,16V,X7R,1608 1 S.A ....4 C120 2203-005005 C-CER,CHIP;100nF,10%,16V,X7R,1608 1 S.A ....4 C120 2203-005005 C-CER,CHIP;100nF,10%,16V,X7R,1608 1 S.A ....4 C120 2203-005005 C-CER,CHIP;100nF,10%,16V,X7R,1608 1 S.A ....4 C120 2203-005005 C-CER,CHIP;100nF,10%,16V,X7R,1608 1 S.A ....4 C120 2203-005005 C-CER,CHIP;100nF,10%,16V,X7R,1608 1 S.A ....4 C120 2203-005005 C-CER,CHIP;100nF,10%,16V,X7R,1608 1 S.A ....4 C120 2203-005005 C-CER,CHIP;100nF,10%,16V,X7R,1608 1 S.A ....4 C120 2203-005005 C-CER,CHIP;100nF,10%,16V,X7R,1608 1 S.A ....4 C120 2203-005005 C-CER,CHIP;100nF,10%,16V,X7R,1608 1 S.A ....4 C120 2203-005005 C-CER,CHIP;100nF,10%,16V,X7R,1608 1 S.A ....4 C120 2203-005005 C-CER,CHIP;100nF,10%,16V,X7R,1608 1 S.A ....4 C120 2203-005005 C-CER,CHIP;100nF,10%,16V,X7R,1608 1 S.A 5-9 5. Exploded View & Part List ....4 C120 2203-005005 C-CER,CHIP;100nF,10%,16V,X7R,1608 1 S.A ....4 C120 2203-005005 C-CER,CHIP;100nF,10%,16V,X7R,1608 1 S.A ....4 C120 2203-005005 C-CER,CHIP;100nF,10%,16V,X7R,1608 1 S.A ....4 C120 2203-005005 C-CER,CHIP;100nF,10%,16V,X7R,1608 1 S.A ....4 C120 2203-005005 C-CER,CHIP;100nF,10%,16V,X7R,1608 1 S.A ....4 C120 2203-005005 C-CER,CHIP;100nF,10%,16V,X7R,1608 1 S.A ....4 C120 2203-005005 C-CER,CHIP;100nF,10%,16V,X7R,1608 1 S.A ....4 C120 2203-005005 C-CER,CHIP;100nF,10%,16V,X7R,1608 1 S.A ....4 C120 2203-005005 C-CER,CHIP;100nF,10%,16V,X7R,1608 1 S.A ....4 C120 2203-005005 C-CER,CHIP;100nF,10%,16V,X7R,1608 1 S.A ....4 C120 2203-005005 C-CER,CHIP;100nF,10%,16V,X7R,1608 1 S.A ....4 C120 2203-005005 C-CER,CHIP;100nF,10%,16V,X7R,1608 1 S.A ....4 C120 2203-005065 C-CER,CHIP;1000nF,+80-20%,10V,Y5V,1608 1 S.A ....4 C120 2203-005065 C-CER,CHIP;1000nF,+80-20%,10V,Y5V,1608 1 S.A ....4 C120 2203-005065 C-CER,CHIP;1000nF,+80-20%,10V,Y5V,1608 1 S.A ....4 C120 2203-005065 C-CER,CHIP;1000nF,+80-20%,10V,Y5V,1608 1 S.A ....4 C120 2203-005437 C-CER,CHIP;10000nF,+80-20%,10V,Y5V,3216 1 S.A ....4 C120 2203-005437 C-CER,CHIP;10000nF,+80-20%,10V,Y5V,3216 1 S.A ....4 C607 2402-001128 C-AL,SMD;100##F,20%,16V,-,TP,6.3X5.7mm 1 S.A ....4 C629 2402-001128 C-AL,SMD;100##F,20%,16V,-,TP,6.3X5.7mm 1 S.A ....4 C639 2402-001128 C-AL,SMD;100##F,20%,16V,-,TP,6.3X5.7mm 1 S.A ....4 X202 2801-003667 CRYSTAL-SMD;14.31818MHz,30ppm,28- AAN,16p 1 S.A ....4 T0568 3301-001407 BEAD-SMD;30ohm,1608,300mA,TP,,,0.4ohm 1 S.N.A ....4 T0568 3301-001407 BEAD-SMD;30ohm,1608,300mA,TP,,,0.4ohm 1 S.N.A ....4 CN400 3708-001150 CONNECTOR-FPC/FFC/PIC;30P,1mm,SMD- A,SN,Y 1 S.A ....4 MICOM BN97-02107K ASSY MICOM-ATZ,W/W;LS20TWH* 1 S.N.A .....5 IC115 1107-001614 IC-FLASH MEMORY;MX25L1005,1Mbit,1Mx1Bit, 1 S.N.A ....4 R110 2007-000134 R-CHIP;33Kohm,5%,1/10W,TP,1608 1 S.A ....4 T0077 BN41-01029A PCB MAIN;T Project_0.3W,CEM-3 Silver,2,M 1 S.N.A ..2 M0006 BN96-07384A ASSY SHIELD P-COVER;LS20TW,SECC T0.8 1 S.N.A ...3 BN61-02429D STUD-PEM;PNB,M2.8,D7,L20,ZPC(SIL),SUM2 4L 1 S.N.A ...3 BN61-03869A SPRING ETC-STAND;LS22AQ,SUS 304,T0.3,SIM 1 S.N.A ...3 M0107 BN63-04433A SHIELD-COVER;T20W,SECC,T 0.8 1 S.N.A ...3 T0527 AA65-00011C CLAMPER CORE-WIRE;ALL MODEL,NYLON 66,V2, 1 S.N.A ...3 BN61-03933B BRACKET-STAND FRAME;LS20TW,SECC,T1.6 1 S.N.A ...3 M0131 BN63-01254A GASKET;VN30,CONDUVTIVE FABRIC,3mm,10mm,1 3 S.N.A ..2 M0251 BN96-02854N ASSY CABLE P;Fininfarina,FLAT CABLE,-,15 1 S.A ..2 M0174 BN44-00182P IP BOARD;PWI2004SP(J),T 20” W,0.7~1.4mA, 1 S.A ..2 M0081 6003-000115 SCREW-TAPTITE;BH,+,B,M3,L6,ZPC(BLK),SW RC 2 S.A ..2 M0081 6003-000115 SCREW-TAPTITE;BH,+,B,M3,L6,ZPC(BLK),SW RC 1 S.A 0.1 M0112 BN91-02263A ASSY SHIELD;LS20TW,TOC 1 S.N.A ..2 BN63-03953A SHIELD-LAMP;2043BW/ NW[Mckinley],SPTE,T0. 1 S.N.A 0.1 M0019 BN92-03163W ASSY LABEL;LS17MYAKB/XSF,XSH,CHINA/ HONGK 1 S.N.A 5-10 5. Exploded View & Part List ..2 BN68-00761F MANUAL-02,QSG;Protection Sheet,SyncMaste 1 S.N.A 0.1 M0113 BN92-03310T ASSY P/MATERIAL;LS20TWHSUV/EN 1 S.N.A ..2 T0376 6902-000001 BAG AIR;LDPE,T0.2,L1800,W1000,TRP,,,LDPE 0.002 S.N.A ..2 T0376 6902-000061 BAG AIR;LDPE,T0.2,L1000,W500,TRP,,, 0.008 S.N.A ..2 T0003 6902-000604 BAG WRAPPING;LDPE,T0.02,W500,L10000,T RP, 1.14 S.N.A ..2 M0081 6902-000609 BAG ROLL;LDPE,T0.05,W2400,L1000,TRP,-,- 0.02 S.N.A ..2 T0524 6902-000857 BAG PE;HDPE/HDPE/NITRON,T0.015/T0.015/ T0 1 S.N.A 0.1 M0045 BN92-03317P ASSY ACCESSORY;LS22TWHSUV/XF 1 S.N.A ..2 M0114 BN39-00244G CBF SIGNAL;D-sub cable,15P/15P,20276N,15 1 S.A ..2 M0125 BN39-00246L CBF SIGNAL-DVI(D);DVI-Cable,24P/24P,2027 1 S.A ..2 M0045 BN96-07287L ASSY ACCESSORY;LS22TWHSUV/XF 1 S.A ...3 T0268 3903-000082 CBF-POWER CORD;DT,CN,IP3/YES(A),I(IEC C1 1 S.A ...3 T0524 6902-000110 BAG PE;LDPE,T0.05,W250,L400,TRP,28,2 1 S.N.A ...3 BH75-00146B UNIT-11,WARRANTY;CHINA,-,ASS’Y-W/ CARD,BH 1 S.N.A ....4 BH68-00297E MANUAL FLYER-11,WARRANTY CARD;SAMSUNG BA 1 S.N.A ....4 BH68-00297F MANUAL FLYER-10,WARRANTY CARD;ENVELOPE,S 1 S.N.A ...3 BN63-02368A CLOTH;LS07BTT,SUEDE,0.6,160,120 1 S.N.A ...3 M0215 BN96-07349A ASSY MANUAL P-IB+QSG;T220,T200,T190,W/ W, 1 S.N.A ....4 BH68-00376L MANUAL FLYER-06,QSG;LCDQUICK SETUP GUIDE 1 S.N.A ....4 BN59-00716A S/W DRIVER-01,IB;T220,T200,T190,Syncmast 1 S.N.A ..2 M0027 BN96-07345A ASSY STAND P-BASE;LS22TW,PMMA+ABS, HB,RD 1 S.A ...3 T0524 6902-000389 BAG PE;HDPE/NITRON/HDPE,T0.015/T0.5/T0.0 1 S.N.A ...3 CIS4 BN61-01717A HOLDER-STAND;BIZET,NI PLT,CH,+,M4,L11(5) 1 S.N.A ...3 BN61-03907A BRACKET-STAND BOTTOM;T22W,SECC,T 0.8 1 S.N.A ...3 CCM1 BN63-02183K COVER-SHEET;Rhcm,PE Vinyl,T 0.05,250MM,2 0.3 S.N.A ...3 T0004 BN63-04390A COVER-STAND BASE;T220,PMMA+ABS,HB,R D02,H 1 S.N.A ...3 T0132 BN73-00077A RUBBER FOOT;MATISSE,BUMPON,##13.5,T2 .0,6 4 S.N.A ...3 BN96-06529A ASSY HOLDER P-WIRE;MCKINLEY,ABS HB,BK26 1 S.N.A ....4 6902-000336 BAG ZIPPER;LDPE,T0.05,W70,L80,TRP,-,-- 1 S.N.A ....4 M0114 BN61-03555A HOLDER-WIRE;MCKINLEY,ABS HB,BK26 1 S.N.A ...3 BN68-01519A MANUAL FLYER-QSG;COMM,SyncMaster,WW ,Mojo 1 S.N.A ...3 M0081 6003-000115 SCREW-TAPTITE;BH,+,B,M3,L6,ZPC(BLK),SW RC 4 S.A ..2 STD BN96-07347C ASSY STAND P-BODY;LS22T_NORMAL (SM50C),A 1 S.A ...3 M0081 6003-000275 SCREW-TAPTITE;BH,+,-,B,M3,L10,ZPC(BLK),S 5 S.N.A ...3 T0524 6902-000956 BAG PE;HDPE/NITRON,T0.015/T0.5,W200,L200 1 S.N.A ...3 BN63-04389A COVER-STAND FRONT;T220,PMMA+ABS,HB, BK26, 1 S.N.A ...3 BN63-04392A COVER-STAND REAR;T220,PMMA+ABS,HB,B K26,H 1 S.N.A ...3 T0054 BN96-07341B ASSY HINGE P;LS22TW,SM50 T2.0 1 S.N.A 5-11 5. Exploded View & Part List ....4 BN60-00073A SPACER-WASHER;Mckinley,SK-5,6.0,12.0,T0. 6 S.N.A ....4 BN61-03855A SPRING ETC-DISK;Mckinley,SK-5,6.0,12.0,T 6 S.N.A ....4 BN61-03904B BRACKET-STAND TILT;T- PROJECT(22W),SM50C, 1 S.N.A ....4 BN61-03905A BRACKET-STAND BODY;T22W,HGI,T 2.0 1 S.N.A ....4 BN66-00015A SHAFT-HINGE;Mckinley,S45C,12.0 2 S.N.A 0.1 M0003 BN92-03363T ASSY BOX;LS20TWHSUV/XF 1 S.N.A ..2 BN69-02640B BOX-SET;T20,CB,A-01,SW- 50,W547,D481,H110 1.02 S.N.A ..2 T0081 BN96-02895A ASSY MISC P-HANDLE PACKING;ALL MODEL,BN6 1 S.N.A ...3 M0102 BN66-00008A LEVER-BOTTOM;ALL MODEL,LDPE,WHITE 1 S.N.A ...3 M0103 BN66-00007A LEVER-TOP;ALL MODEL,LDPE,WHITE 1 S.N.A 1-1 1. Precautions 1. Precautions 1-1. Safety Precautions Follow these safety, servicing and ESD precautions to prevent damage and to protect against potential hazards such as electrical shock. 1-1-1. Warnings For continued safety, do not attempt to modify the circuit board. Disconnect the AC power and DC power jack before servicing. 1-1-2. Servicing the LCD Monitor When servicing the LCD Monitor, Disconnect the AC line cord from the AC outlet. It is essential that service technicians have an accurate voltage meter available at all times. Check the calibration of this meter periodically. 1-1-3. Fire and Shock Hazard Before returning the monitor to the user, perform the following safety checks: Inspect each lead dress to make certain that the leads are not pinched or that hardware is not lodged between the chassis and other metal parts in the monitor. Inspect all protective devices such as nonmetallic control knobs, insulating materials, cabinet backs, adjustment and compartment covers or shields, isolation resistorcapacitor networks, mechanical insulators, etc. Leakage Current Hot Check (Figure 1-1): WARNING : Do not use an isolation transformer during this test. Use a leakage current tester or a metering system that complies with American National Standards Institute (ANSI C101.1, Leakage Current for Appliances), and Underwriters Laboratories (UL Publication UL1410, 59.7). With the unit completely reassembled, plug the AC line cord directly into a 120V AC outlet. With the unit’s AC switch first in the ON position and then OFF, measure the current between a known earth ground (metal water pipe, conduit, etc.) and all exposed metal parts, including: metal cabinets, screwheads and control shafts. The current measured should not exceed 0.5 milliamp. Reverse the power-plug prongs in the AC outlet and repeat the test. 1-1-4. Product Safety Notices Some electrical and mechanical parts have special safetyrelated characteristics which are often not evident from visual inspection. The protection they give may not be obtained by replacing them with components rated for higher voltage, wattage, etc. Parts that have special safety characteristics are identified by on schematics and parts lists. A substitute replacement that does not have the same safety characteristics as the recommended replacement part might create shock, fire and/or other hazards. Product safety is under review continuously and new instructions are issued whenever appropriate. 1. 2. 1. 2. 1. 2. 3. 4. DEVICE UNDER TEST (READING SHOULD) NOT BE ABOVE 0.5mA LEAKAGE CURRENT TESTER TEST ALL EXPOSED METAL SURFACES 2-WIRE CORD *ALSO TEST WITH PLUG REVERSED (USING AC ADAPTER PLUG AS REQUIRED) EARTH GROUND Figure 1-1. Leakage Current Test Circuit 1-2 1. Precautions 1-2. Servicing Precautions WARNING: An electrolytic capacitor installed with the wrong polarity might explode. Caution: Before servicing units covered by this service manual, read and follow the Safety Precautions section of this manual. Note: If unforeseen circumstances create conflict between the following servicing precautions and any of the safety precautions, always follow the safety precautions. 1-2-1 General Servicing Precautions Always unplug the unit’s AC power cord from the AC power source and disconnect the DC Power Jack before attempting to: (a) remove or reinstall any component or assembly, (b) disconnect PCB plugs or connectors, (c) connect a test component in parallel with an electrolytic capacitor. Some components are raised above the printed circuit board for safety. An insulation tube or tape is sometimes used. The internal wiring is sometimes clamped to prevent contact with thermally hot components. Reinstall all such elements to their original position. After servicing, always check that the screws, components and wiring have been correctly reinstalled. Make sure that the area around the serviced part has not been damaged. Check the insulation between the blades of the AC plug and accessible conductive parts (examples: metal panels, input terminals and earphone jacks). Insulation Checking Procedure: Disconnect the power cord from the AC source and turn the power switch ON. Connect an insulation resistance meter (500 V) to theblades of the AC plug. The insulation resistance between each blade of the AC plug and accessible conductive parts (see above) should be greater than 1 megohm. Always connect a test instrument’s ground lead to the instrument chassis ground before connecting the positive lead; always remove the instrument’s ground lead last. 1-3. Static Electricity Precautions Some semiconductor (solid state) devices can be easily damaged by static electricity. Such components are commonly called Electrostatically Sensitive Devices (ESD). Examples of typical ESD are integrated circuits and some field-effect transistors. The following techniques will reduce the incidence of component damage caused by static electricity. Immediately before handling any semiconductor components or assemblies, drain the electrostatic charge from your body by touching a known earth ground. Alternatively, wear a discharging wrist-strap device. To avoid a shock hazard, be sure to remove the wrist strap before applying power to the monitor. After removing an ESD-equipped assembly, place it on a conductive surface such as aluminum foil to prevent accumulation of an electrostatic charge. Do not use freon-propelled chemicals. These can generate electrical charges sufficient to damage ESDs. Use only a grounded-tip soldering iron to solder or desolder ESDs. Use only an anti-static solder removal device. Some solder removal devices not classified as “anti-static” can generate electrical charges sufficient to damage ESDs. Do not remove a replacement ESD from its protective package until you are ready to install it. Most replacement ESDs are packaged with leads that are electrically shorted together by conductive foam, aluminum foil or other conductive materials. Immediately before removing the protective material from the leads of a replacement ESD, touch the protective material to the chassis or circuit assembly into which the device will be installed. Caution: Be sure no power is applied to the chassis or circuit and observe all other safety precautions. Minimize body motions when handling unpackaged replacement ESDs. Motions such as brushing clothes together, or lifting your foot from a carpeted floor can generate enough static electricity to damage an ESD. 1. 2. 3. 4. 5. 6. 1. 2. 3. 4. 5. 6. 7. 8. 1-3 1. Precautions 1-4. Installation Precautions For safety reasons, more than two people are required for carrying the product. Keep the power cord away from any heat emitting devices, as a melted covering may cause fire or electric shock. Do not place the product in areas with poor ventilation such as a bookshelf or closet. The increased internal temperature may cause fire. Bend the external antenna cable when connecting it to the product. This is a measure to protect it from being exposed to moisture. Otherwise, it may cause a fire or electric shock. Make sure to turn the power off and unplug the power cord from the outlet before repositioning the product. Also check the antenna cable or the external connectors if they are fully unplugged. Damage to the cord may cause fire or electric shock. Keep the antenna far away from any high-voltage cables and install it firmly. Contact with the highvoltage cable or the antenna falling over may cause fire or electric shock. When installing the product, leave enough space (10cm) between the product and the wall for ventilation purposes. A rise in temperature within the product may cause fire. 1. 2. 3. 4. 5. 6. 7. 1-4 1. Precautions Memo 2-1 2. Product specifications 2. Product specifications 2-1. Feature & Specifications Model T220 / T220(G) T200 / T200(G) Feature Panel Specifications: 300cd/m2, 2ms, CR 1000:1(DC), 170/160(CR>10) DPMS : <1W Off-Timer function for reducing standby power usages Magic Bright3, Magic Tune, Windows Vista authentication DC 20,000: 1 applied Supports fixed vertical and horizontal ratios Supports camera effect mode: Black and white/Sepia/Aqua/Green � � � � � � � Specifications Item Description Model T220 / T220(G) T200 / T200(G) LCD Panel TFT-LCD panel, RGB vertical stripe, normally white transmissive, 22”wide Viewable 0.258(H) mm x 0.258(V) mm pixel pitch 20”wide Viewable 0.258(H) mm x 0.258(V) mm pixel pitch Scanning Frequency Horizontal : 30 kHz ~ 81 kHz (Automatic) Vertical: 56 Hz ~ 75 Hz(WSXGA+ : 60Hz) Display Colors 16.7 Million colors Maximum resolution Horizontal: 1680 Pixels Vertical: 1050 Pixels Input Signal 22” Dual 20” Dual Input Sync Signal Seperate H/V sync, Composite H/V, Sync-on-Green Level: TTL level Maximum Pixel Clock rate 135 Mhz Active Display (Horizontal/Vertical) 473.76(H) x 296.1(V) AC power voltage & Frequency AC 110V~130V, 60Hz & AC, 200V~240V 50Hz Power Consumption 45 W 40W Dimensions Set (W x D x H) 520 x 215 x 442 mm 486 x 215 x 422 mm Weight (Set/Package) Set : 5.8kg, Package : 7.5Kg (With Stand) Set : 5.4kg, Package : 7.0Kg (With Stand) Environmental Considerations Operating Temperature: 10˚C ~ 50˚C(50˚F ~ 122˚F) Operating Humidity : 10% ~ 90% Operating Temperature: -20˚C ~ 45˚C(-4˚F ~ 113˚F) Operating Humidity: 5% ~ 90% Note: Designs and specifications are subject to change without prior notice. 2-2 2. Product specifications 2-2. Spec Comparison to the Old Models Model T220 / T220(G) T200 / T200(G) Mckinley(943BW) Design Resolution 1680 x 1050 1440 x 900 Input Analog / DVI Digital Analog / Digital with HDCP Response Time 2ms 5ms(W to B) Viewing Angle 170/160(CR>10) 170/160(CR>10) Brightness 300cd/m² 300cd/m² Contrast 20,000:1(DC) 1000:1 MagicBright 7 step 7 step Feature Magic Color Color Effect Image Size Magic Bright3 Magic Tune (Premium) Magic Color Color Effect Image Size Magic Bright3 Magic Tune (Premium) *Color Effect - Grey scale: Images are displayed in a grey tone on the screen. - Green: Images are displayed in a green tone on the screen. - Aqua: Images are displayed in a blue tone on the screen. - Sepia: Images are displayed in a brown tone on the screen. Image Size : If the resolution is not wide resolution, this option allows the screen size to be selected as normal or wide. 2-3 2. Product specifications 2-3. Accessories Product Description Ccde. No Remark Quick Setup Guide BH68-00907A Samsung Electronics Service center Warranty Card (Not available in all locations) BH68-00633B User’s Guide, Monitor Driver, Natural Color Pro Software BN59-00716A D-Sub(15 Pin) Cable BN39-00244G Power Cord 3903-000042 2-4. Accessories (Sold separately) Product Description Ccde. No Remark DVI Cable BN39-00246L Samsung Electronics Service center 2-4 2. Product specifications Memo 4-1 4. Troubleshooting 4. Troubleshooting 4-1. Troubleshooting Set custom mode as follows before beginning a repair. • Resolution: 1680 x 1050 • H-frequency: 60 kHz • V-frequency: 65 Hz If the screen is blank, check whether the power cord is connected correctly. The circuits to check: • When the raster does not appear: The Function PCB, Main PCB, I/P PBA • When 5V is generated but a blank screen is displayed: Main PCB • When 5V is not generated: I/P PBA “Press the MENU button and hold down the, “ (Enter, Source)” button for more than five (5) seconds to return the monitor to factory mode. 1. 2. 3. 4. 4-2 4. Troubleshooting 4-2. When the Power Does Not Turn On Symptom - When turning on the Power button after connecting the power cable, the LED at the front of the monitor does not operate. Major checkpoints - When turning on the Power button after connecting the power cable, the LED at the front of the monitor does not operate. - Check the IP board power fuse and the IP board output power. - Check the connections for the IP board and the Main board inside the monitor. - Check the Main board power part and also check whether there is any abnormal output at any of the other output terminals. CN 600 IC 601 IC 602 Diagnostics Yes Check the connection status for the function assy. Yes Replace the IP board. No Is DC 5V measured at pins 5, 6 of the CN600 connector when pins 3, 4 are 0V? IIs DC 3.3V measured at pin 3 of IC601 when pin 1 is DC 5V? Check the circuits related to IC601. No Yes Check the circuits related to IC602. No Is DC 1.8V measured at pin 2 of IC602 when pin 3 is DC 5V? Yes Check and replace the IP board. Caution Make sure to disconnect the power before working on the IP board. 4-3 4. Troubleshooting 4-2-1. Circuit diagrams when the power does not turn on 4-4 4. Troubleshooting 4-3. When the screen is blank (Analog) Symptom - LEven though the LED power turns on, the screen is blank when connecting the VGA cable. Major checkpoints - Even though the LED power turns on, the screen is blank when connecting the VGA cable. - Check the D-sub cable connections. - Check whether the LVDS cable is connected correctly to the panel. - Check whether the lamp connector of the panel is connected correctly to the IP board. CN 400 X 201 IC 200 R111, R114, R118 Diagnostics Yes Check the signal cables and their connections. Yes No Check the R111, R114, and R118 input terminals. No Check the circuits related to IC200. No Check the circuits related to CN400. Do output signals appear at pins 8 to 30 of CN400? No Is DC 5V measured at pins 1, 2, and 3 of the CN400? Do the ③ Hsync and ④ Vsync waveforms appear at pins 32, 33 of IC200, respectively? ② Do the RGB inputs appear at R111, R114, and R118? ① Is X201 oscillating correctly? Check and replace the panel. No Check and replace the circuits related to X201. Yes Yes Yes Check the +5V_Panel signal and the BL_EN signal. Yes Caution Make sure to disconnect the power before working on the IP board. 4-5 4. Troubleshooting 4-3-1. When a blank screen is displayed (Analog) ② ① ③ ④ 4-6 4. Troubleshooting 4-3-2. Waveforms when no screen is displayed (Analog) ① ④ ③ 4-7 4. Troubleshooting 4-4. When a blank screen is displayed (Digital) Symptom - Even though the LED power turns on, the screen is blank when connecting the DVI cable. Major checkpoints - Even though the LED power turns on, the screen is blank when connecting the DVI cable. - Check the DVI cable connections. - Check whether the LVDS cable is connected correctly to the panel. - Check whether the lamp connector of the panel is connected correctly to the IP board. CN 400 X 201 IC 200 R111, R114, R118 Diagnostics Yes Check the signal cables and their connections. Yes Check and replace the circuits related to X201. No Is X201 oscillating correctly? Do the inputs appear at R100, R101, R103, and R107? Check the R100, R101, R103, and R107 input terminals. No Yes Do output signals appear at pins 8 to 30 of CN400? Check the circuits related to CN400 No Yes Can DC 5V be measured at pins 1, 2, and 3 of CN400? Check the Panel EN signal and the BL_EN signal. No Yes Check and replace the panel. Caution Make sure to disconnect the power before working on the IP board. ① ② 4-8 4. Troubleshooting 4-4-1. Circuit diagrams when a blank screen is displayed (Digital) 4-9 4. Troubleshooting 4-4-2. Waveforms when a blank screen is displayed (Digital) ① ② 4-10 4. Troubleshooting 4-5. Error Examples and Actions Error Appearance Symptoms and Actions Remarks Symptom: DVI signals are not recognized. Cause: This error occurs because the PC cannot recognize the mode information since the DVI DDC is not input to the monitor. Action: Input the DVI DDC. *On how to input DDC, refer to the training manual. Symptom: A full white screen is displayed regardless of the signals when turning on the monitor. Cause: This error occurs when only lamp power is supplied and the video signals are not input to the panel due to an LVDS cable connection error. Action: Replace the LVDS cable or connect the cable correctly so that the video signals can be supplied to the panel. * A Full White pattern is a feature of a TN panel when no video signals are supplied. 4-11 4. Troubleshooting 4-6. Adjustment 4-6-1. Service Adjustment Conditions Precautions before a Service Adjustment 1) Check whether the devices for the service adjustment are operating normally. 2) Secure a space that is sufficiently wide for disassembling the monitor. 3) Prepare a soft mat on which the monitor will be disassembled. Entering Service Mode Entering: Menu Brightness 0 Contrast 0 Hold down the Enter button for five (5) seconds. Exiting: Power OFF Power ON Basic Service Items to Perform after Replacing a Board 1) Check the PC color adjustment status. 2) Input DDC (input both of Analog and Digital). 3) Check whether the appropriate MCU code for the model is input. 4) Hard power the monitor off after entering service mode and performing a reset. DDC EDIT Data Input 1) Use when updating the AD board code. 2) Download the WinDDC program, DDC Input program, and Hex and DDC files appropriate to the model through the Quality Control department of Samsung Electronics. Install the jig and input the data, as shown in the figure. Monitor needing adjustment Parallel Connector (25P Cable) Connect Monitor (Signal Cable) MTI-2031 DDC Manger 1. 2. 3. 4. 4-12 4. Troubleshooting 4-6-2. Service Function Specifications Checking the Code Version 1. Check the MCU code version and checksum after entering SVC Mode. 2. Entering SVC Mode - Adjust the Brightness and Contrast values to 0. - Hold down the Enter button for five (5) seconds. - The SVC Function OSD is displayed. - To exit the SVC Function, turn the power off. 3. Safe Mode - When the input signal is higher than the supported frequency of the product, safe mode gives users some time (one minute) to change the video card settings to the Recommended Mode settings. Service Mode (Moving around) 1. Press the + button to move to other items.   Panel information Micom version Micom checksum Select the Auto Auto option Select the PixelShift option. Country Scaler Vender 4-13 4. Troubleshooting 2. Press the - button to change the setting to On or Off. When replacing the panel After replacing the panel, move to the Panel item and hold down the Menu button for five (5) seconds. The Ch. No is incremented by 1 and then both the On Time and Cycle are set to 0.  This number is incremented by 1. 4-14 4. Troubleshooting Inputting the DDC Data Use the DDC Manager MTI-2050 version or later. 1) Click the Open [F5] icon. 2) Select a port. 3) Open a DDC file. 4) Select a date and click the OK [Save] button. 5) Click the Next [OK] button. 6) Enter the serial number and then press the Enter button ※When inputting digital data after inputting analog data, repeat steps 2 to 5.  1 2 3 4 5 6 4-15 4. Troubleshooting Inputting the MCU Data 1) Check the following options. - Manufacture: MSTAR - Device Type:TSUM16_ROM128K_ext_flash - Communication Port: DSUB15 (Analog) - External Memory: PMC25LV010E 2) Click the LoadFile button, select an MCU code file, and then click the Open [O] button.  1 2 4-16 4. Troubleshooting 3) Click the Auto Program button. 4) When programming and verification are complete, hard power the monitor off and then on again. 3 4-17 4. Troubleshooting Inputting the Code (HDCP) 1. Run the service.exe file. 2. Click the HDCP button.  4-18 4. Troubleshooting 3. Click the HDCP Write button and select MStar_HDCPKEY. 4. Inputting the HDCP key is completed. 6-1 6. Wiring Diagram 6. Wiring Diagram 6-1. Wiring Diagram - Main Board Lamp wire for Panel LVDS for Panel VGA Input 6-2 6. Wiring Diagram 6-2. Wiring Diagram - IP Board Function Connector (Connect to IP-Board) RGB Connector (Connect to PC) LVDS Connector (Connect to Panel) 3708-001150 Scaler SE758MRH 3711-003847 3701-001219 IP board 3701-001173 DVI Connector (Connect to PC) 6-3 6. Wiring Diagram 6-3. Connector Functions Connector Functions CN101  CN600 Supplies 5V from the power board to the main board and transmits the PWM output from the power board to the inverter. *When a problem occurs: The No Power and Blank Screen errors may occur. CN1 ~ CN4 In Transmits the lamp current (6mA ~ 7mA) generated in the inverter to the lamp of the panel. * When a problem occurs: The Blank Screen error may occur. CN102 Transmits the input power of 90 to 263V to the power board. * When a problem occurs: The No Power error may occur. CN101 Connects the function board. * When a problem occurs: The No LED screen and Function failure errors may occur. CN102 VGA signal input terminal * When a problem occurs: The No RGB output error may occur. CN400 Transmits the LVDS signals from the main board to the panel. * When a problem occurs: The Blank screen and No Power errors may occur. 6-4. Cables Use LVDS 30P FFC cable Code BN96-02854N Photo 6-4 6. Wiring Diagram Memo 7-1 7. Schematic Diagram 7. Schematic Diagram 7-1. Circuit Descriptions Location Function Remark Scaler IC200 Besides the ADC, LVDS, and scaling part, an MCU is embedded as well. All of them are integrated into one chip. SE758MRH Flash Memory IC201 Stores the MCU program embedded in the scaler. It is of a flash type and rewritable. MX25LV512 IC203 Stores the OSD and various timing values. 24C08 IC202 The memory to which DIGITAL DDC data is input 24C02 Regulator An IC that receives DC voltage inputs. It is used in circuits that stabilize the DC voltage. NCP117DT18T5G APL1117-33VC 7-2 7. Schematic Diagram 7-2. Schematic Diagrams (Scaler Part) 7-3. Schematic Diagrams (Power Flowchart) 7-3 7. Schematic Diagram 7-4. Schematic Diagrams (IP Board) SMPS Part  7-4 7. Schematic Diagram Inverter Part  7-5 7. Schematic Diagrams 7-5. Schematic Diagrams (Main PBA) This Document can not be used without Samsungs authorization. Scaler : SE758MRH Analgo Part DVI Part Connector 7-6 7. Schematic Diagrams Memo

标签:

版权声明

1. 本站所有素材,仅限学习交流,仅展示部分内容,如需查看完整内容,请下载原文件。
2. 会员在本站下载的所有素材,只拥有使用权,著作权归原作者所有。
3. 所有素材,未经合法授权,请勿用于商业用途,会员不得以任何形式发布、传播、复制、转售该素材,否则一律封号处理。
4. 如果素材损害你的权益请联系客服QQ:77594475 处理。