三星P2250W液晶显示器维修手册和原理图

分类:电子电工 日期: 点击:0
三星P2250W液晶显示器维修手册和原理图-0 三星P2250W液晶显示器维修手册和原理图-1 三星P2250W液晶显示器维修手册和原理图-2 三星P2250W液晶显示器维修手册和原理图-3 三星P2250W液晶显示器维修手册和原理图-4 三星P2250W液晶显示器维修手册和原理图-5 三星P2250W液晶显示器维修手册和原理图-6 三星P2250W液晶显示器维修手册和原理图-7 三星P2250W液晶显示器维修手册和原理图-8 三星P2250W液晶显示器维修手册和原理图-9

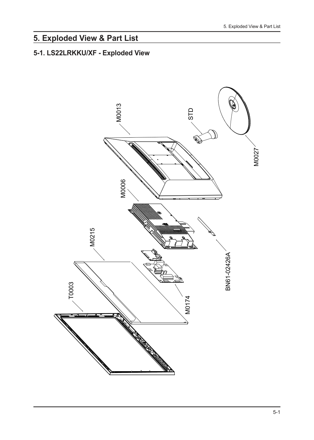
� � � � � � � � �� � � � � �� � � � ������� ������� ������� �������� � �� �� �� ��� � � � � � � ������� � � � ����� ���� ���� ����� � ����� ���� ���� ����� � �������� ������� ������� �������� � ����� ���� ���� ����� � ��������� �������� �������� ��������� � ���� ��� ��� ���� � � � � � � �� ���� ���� ���� ������ � � ����� ����� ����� ������ �� �� �� �� �������� �� �� �� �� ������� � � � � � � � � � � � � � � ��� �� �� ��� � � �� � � � ��� ��� ��� ���� � ���� ���� ���� ����������������������������������������������������������������������������������������������������������������������������������������������� ���� ��� ������ ����������������������������������������������������������������������������������������������������������������������������� ���� ��� ������ ����������������������������������������������������������������������������������������������������������������������������� ���� ��� ������������������������������������������������������������������������������������������������������������������������� ���� ��� ������ ����������������������������������������������������������������������������������������������������������������������������� ���� � ���� ���� ���� ����������������������������������������������������������������������������������������������������������������������������������������������� ���� ��� �������������������������������������������������������������������������������������������������������������������������������������� ���� ��� ��������� ������������������������������������������������������������������������������������������������������������������ ���� ��� ���������������������������������������������������������������������������������������������������������������������������������������������� ���� ��� �� ���� ���������������������������������������������������������������������������������������������������������������������� ���� � ������� ������� ������� ��������������������������������������������������������������������������������������������������������������������������������������� ���� ��� ���������������������������������������������������������������������������������������������������������������������������������������������� ���� � ���� ���� ���� ����������������������������������������������������������������������������������������������������������������������������������������������� ���� ��� ����� � � ������������������������������������������������������������������������������������������������������������������������������� ���� ��� ������� ������������������������������������������������������������������������������������������������������������������������� ���� ��� ����� �� ������������������������������������������������������������������������������������������������������������������ ���� ��� ������� �� ����������������������������������������������������������������������������������������������������������� ���� ��� �������������������������������������������������������������������������������������������������������������������������� ����� ��� �������������������������������������������������������������������������������������������������������������������������������������������������� � �������� �������� �������� �������� ���������������������������������������������������������������������������������������������������������������������������� ���� ���� ��� ��������������������������������������������������������������������������������������������������������������������������������������� ���� ��� ���� ������������������������������������������������������������������������������������������������������������������������������������ ���� � ��� ��� ��� �������������������������������������������������������������������������������������������������������������������������������������������������� ���� ��� �������������������������������������������������������������������������������������������������������������������������������������� ���� ���� ������ ������������������������������������������������������������������������������������������������������������������������������� ���� ���� ������������������������������������������������������������������������������������������������������������������������������������� ���� ���� ��������������������������������������������������������������������������������������������������������������������������������������������� ���� � � � � � � � � � � � � � � � � � � � � � � � � � � � � � � � � � � � � � � � � � � � � � � � � � � � � � �������������� �������� �������� ���������� � �� �� �� ��� �� �� �� ��� ��� �������������������������� ����� ������������������������ ���� ���������������������� ��� ������������������������� ��� ������������������������ ��� ����������������������� ������ ���������������������� � ���������������� � ������������������������ ���� � ������ �������� � � ����� ����� � �������������������� � � �������� � ���� ��������� ������� ������� �������� �������������������������� � �� �� �� �� ������������ ������������ ������������ ������������ ���������� ���������� ���������� ���������� � ������ �� �� ��� �� �� �� �� ��� ������ ������ ������ ������ ����� ����� ����� ����� � ��� ������ ������ ������ ������ ������������������ ������������������ ������������������ ������������������ � ��� �������������� �������������� �������������� �������������� � ��� ����� ��� ����������� ������� ������ ���������� ������ ���������� �� ��������� � �� ������������� ������ ������ ����� � � � � � � � � � �������� ���������� ��������� ������� �������� � � � � � � � � �������� ���� � � � ��� ����� ��� ������������� � � � � ����������� � � �� ������������ � � � � � � � � � �������� � ���� � ��� ����� ��� ������ ��� ���� ������ �� � � �� ������������ � � � � � � �������� ���� � � � ��� ����� ��� ���������� � � � ��������� � ��� � � � �������� � ������ � � � � � � ����������� � � 5-1 5. Exploded View & Part List 5. Exploded View & Part List 5-1. LS22LRKKU/XF - Exploded View T0003 M0215 M0174 BN61-02426A M0006 M0013 STD M0027 5-2 5. Exploded View & Part List 5-1-1. LS22LRKKU/XF - Parts List Location No. Code No. Description & Specification Q’ty SA/SNA Remark M0006 BN96-12310A ASSY SHIELD P-COVER;P2250W,SECC T0.8,22W 1 SNA M0013 BN96-12308A ASSY COVER P-REAR;P2250W,ABS HB,BK23,22i 1 SA M0027 BN96-09629A ASSY STAND P-BASE;ECOFIT,ABS HB,BK23(H/G 1 SC M0174 BN44-00305C IP BOARD;IP-49155B,MC/CR22"w,0.7 ~1.7mA, 1 SA M0215 BN07-00427A LCD-PANEL;M220Z1-L03,CM22Z13A,6bit Hi-FR 1 SA STD BN96-10575A ASSY STAND P-BODY;LAVENDER,ABS,BK23,H/GL 1 SA T0003 BN96-12309A ASSY COVER P-FRONT;P2250W,PMMA+ABS,TTP01 1 SA BN61-02426A BRACKET-SHIELD;S/M 203B,SPTE,T0.3 1 SNA 5-3 5. Exploded View & Part List 5-2. LS22LRKKU/XF - Parts List Service Bom (SA: SERVICE AVAILABLE, SNA: SERVICE NOT AVAILABLE) Level Location No. Code No. Description & Specification Q’ty SA/SNA Remark 0.1 BN90-02351A ASSY COVER FRONT;LAVENDER 22,P2250W 1 SNA ..2 BN68-02416B LABEL-MONITOR-POP;Win7,WW,PET,T0.05,70,1 1 SNA ..2 BN68-02429A LABEL-MONITOR-POP;Lavender 16:10,WW,PET, 1 SNA ..2 T0003 BN96-12309A ASSY COVER P-FRONT;P2250W,PMMA+ABS,TTP01 1 SA ...3 M0960 BN61-05904A HOLDER-BOSS;P2250W,ABS,WH12,16:10 1 SNA ...3 CCM1 BN63-02183D COVER-SHEET;Rhcm,PE Vinyl,T0.04,680mm,20 0.5 SNA ...3 M0112 BN63-06229A COVER-FRONT;P2250W,PMMA ABS,HB,TTP01+TDR 1 SNA ...3 M0175 BN96-10812B ASSY BOARD P-TOUCH FUNCTION;Lavender P19 1 SA ....4 BN94-03172A ASSY PCB MISC-F/PCB,BN96-10812B;LAVENDER 1 SNA .....5 M2893 BN39-01190C LEAD CONNECTOR;Lavender P1950,UL1571#30, 1 SA .....5 BN64-01055A KNOB-CONTROL MIRROR;LAVENDER 23",ASB,HB, 1 SNA .....5 BN64-01056A INLAY-PLATE;LAVENDER,PET SHEET,T0.15 1 SNA .....5 BN64-01056B INLAY-PLATE;LAVENDER,PET SHEET,T0.15,INL 1 SNA .....5 BN74-00029A TAPE-FUNCTION TAPE_BOTTOM;Lavender,Polye 1 SNA .....5 BN74-00030A TAPE-FUNCTION TAPE_TOP;Lavender_top,Poly 1 SNA .....5 T0174 BN97-03447H ASSY SMD;LAVENDER,BN41-01213A 1 SNA ......6 L0405 0601-002331 LED;SMD,(SIDE VIEW ),WHT,2.04mm 6 SNA ......6 AD480 2203-006618 C-CER,CHIP;2200nF,+80-20%,16V,Y5V,TP,160 2 SNA ......6 3711-005743 HEADER-BOARD TO CABLE;BOX,5P,1R,1.25mm,A 1 SA ......6 BN41-01213A PCB SUB-FUNCTION;Lavender Dual,FR-4,2lay 1 SNA ......6 BN81-03259A A/S-MCS-5000 LAVENDER;LAVENDER PROJECT,1 1 SNA ...3 BN68-02382B LABEL-TCO5.0,ENERGY-STAR;TCO5.0,ENERGY-S 1 SNA 0.1 M0002 BN90-02352A ASSY COVER REAR;LAVENDER 24,P2250W,16:10 1 SNA ..2 M0013 BN96-12308A ASSY COVER P-REAR;P2250W,ABS HB,BK23,22i 1 SA ...3 W391 6003-000275 SCREW-TAPTYPE;BH,+,B,M3,L10,ZPC(BLK),SWR 3 SA ...3 M0113 BN61-01581A BRACKET-VESA;BI17/19BS,SECC,T1.0 2 SNA ...3 T0060 BN61-05331A SPRING ETC;LAVENDER 23",SK5,T0.5 1 SNA ...3 CIS4 BN61-05332A HOLDER-STAND;LAVENDER 23",ACETAL,WHITE 1 SNA ...3 CCM1 BN63-02183D COVER-SHEET;Rhcm,PE Vinyl,T0.04,680mm,20 0.5 SNA ...3 M0111 BN63-05625A COVER-STAND;LAVENDER 23W,BK23 1 SNA ...3 M0006 BN63-06230A COVER-REAR;P2250W,ABS,HB,BK23,H/GLOSSY 1 1 SNA ...3 BN63-06231A SHIELD-LAMP;P2250W,SPTE,T0.3,22inch 16:1 1 SNA ...3 BP72-00098A SPONGE-P/J LENS;K780,Poly urethane form, 4 SNA 0.1 BN91-01517P ASSY LCD-CTZ;LS22PEB* 1 SNA ..2 M0215 BN07-00427A LCD-PANEL;M220Z1-L03,CM22Z13A,6bit Hi-FR 1 SA 0.1 M0017 BN91-04562B ASSY CHASSIS-CTZ,W/W;LS22LRKKUV/EN 1 SNA ..2 M0081 6003-000264 SCREW-TAPTYPE;PWH,+,-,B,M3,L6,ZPC(WHT),S 3 SA ..2 M0081 6003-001439 SCREW-TAPTYPE;BH,+,S,M4,L8,ZPC(WHT),SWRC 1 SNA ..2 M0174 BN44-00305C IP BOARD;IP-49155B,MC/CR22"w,0.7 ~1.7mA, 1 SA ..2 AB289 BN61-02426A BRACKET-SHIELD;S/M 203B,SPTE,T0.3 1 SNA ..2 BN94-03171Q ASSY PCB MAIN-CZ,W/W;LS22LRKKUV/EN,W/W 1 SA ...3 0202-001463 SOLDER-WIRE;LFC2-W3.0,-,D3,99.79Sn/0.2Cu 1.372 SNA ...3 0202-001608 SOLDER-WIRE FLUX;LFC7-107,D0.8,99.3Sn/0. 0.003 SNA ...3 0204-002420 SOLVENT;1M-1000,C3H70H,96 3.47 SNA ...3 0204-002607 FLUX;DF-234U,13%,14KG,Gravity 0.82 2.259 SNA ...3 3701-001173 CONNECTOR-DVI;24P,3R,FEMALE,ANGLE,AUF 1 SA 5-4 5. Exploded View & Part List Level Location No. Code No. Description & Specification Q’ty SA/SNA Remark ...3 3701-001219 CONNECTOR-DSUB;15P,3R,FEMALE,ANGLE,AUF 1 SA ...3 3711-004261 HEADER-BOARD TO BOARD;BOX,12P,1R,2mm,ANG 1 SA ...3 BN97-00707A ASSY HDCP;BN46-00018A,BR20/21BS_CS,MSTAR 1 SNA ....4 BN46-00018A KEY CODE-CERTIFICATE;(HDCP KEY)PPM42M5S, 1 SNA ...3 T0174 BN97-03875D ASSY SMD;LS22LRKKUV/EN,BN41-* 1 SNA ....4 0202-001477 SOLDER-CREAM;LST309-M,D20~45um,96.5Sn/3A 0.53 SNA ....4 0401-001056 DIODE-SWITCHING;MMBD4148SE,100V,200mA,SO 11 SA ....4 MZD1 0403-001411 DIODE-ZENER;5.49-5.73V,200mW,SOD-323,TP 8 SA ....4 0406-001061 DIODE-TVS;MMQA5V6T3,5.32/5.6/5.88V,24W,S 2 SA ....4 Q101 0501-000445 TR-SMALL SIGNAL;KTC3875S-Y,NPN,150mW,SOT 4 SA ....4 PQ02 0501-002080 TR-SMALL SIGNAL;2SC2412K,NPN,200mW,SC-59 3 SA ....4 Q409 0505-001165 FET-SILICON;SI3443BDV,P,-20V,+-4.4A,65mo 1 SA ....4 IC112 1103-000129 IC-EEPROM;24C02,2Kbit,256x8,SOP,8P,5x4mm 2 SA ....4 IC112 1103-001410 IC-EEPROM;S-24CS08AFJ-TB-1GE,8Kbit,1Kx8, 1 SA ....4 T0087 1203-003695 IC-POSI.FIXED REG.;NCP1117ST33T3G,SOT-22 1 SA ....4 T0087 1203-003696 IC-POSI.FIXED REG.;NCP1117DT18T5G,DPAK,3 1 SA ....4 IC109 1205-003255 IC-LCD CONTROLLER;SE758MRH-LF,PQFP,128P, 1 SA ....4 KAR21 2007-000070 R-CHIP;0ohm,5%,1/10W,TP,1608 4 SNA ....4 CER02 2007-000071 R-CHIP;22ohm,5%,1/10W,TP,1608 12 SNA ....4 PR6 2007-000072 R-CHIP;47ohm,5%,1/10W,TP,1608 2 SNA ....4 AR30 2007-000074 R-CHIP;100ohm,5%,1/10W,TP,1608 17 SA ....4 FMR4 2007-000080 R-CHIP;2Kohm,5%,1/10W,TP,1608 3 SNA ....4 AVR51 2007-000083 R-CHIP;3Kohm,5%,1/10W,TP,1608 2 SNA ....4 CER04 2007-000084 R-CHIP;4.7Kohm,5%,1/10W,TP,1608 6 SA ....4 R227 2007-000086 R-CHIP;5.6Kohm,5%,1/10W,TP,1608 1 SA ....4 MROP1 2007-000090 R-CHIP;10Kohm,5%,1/10W,TP,1608 23 SA ....4 ARR2 2007-000102 R-CHIP;100Kohm,5%,1/10W,TP,1608 1 SA ....4 KAR11 2007-000124 R-CHIP;2.2Kohm,5%,1/10W,TP,1608 1 SNA ....4 MR112 2007-000309 R-CHIP;10ohm,5%,1/10W,TP,1608 2 SA ....4 HR13 2007-000821 R-CHIP;390ohm,1%,1/10W,TP,1608 2 SNA ....4 AAR20 2007-001002 R-CHIP;510ohm,5%,1/10W,TP,1608 1 SNA ....4 WR15B 2007-001044 R-CHIP;56ohm,5%,1/10W,TP,1608 2 SA ....4 ZR10 2007-001164 R-CHIP;75ohm,1%,1/10W,TP,1608 3 SNA ....4 R1 2007-002425 R-CHIP;1ohm,5%,1/10W,TP,1608 5 SNA ....4 C258 2203-000236 C-CER,CHIP;0.1nF,5%,50V,C0G,1608 3 SA ....4 C134 2203-000257 C-CER,CHIP;10nF,10%,50V,X7R,TP,1608 1 SA ....4 C409 2203-000292 C-CER,CHIP;0.01nF,5%,50V,C0G,1608 2 SA ....4 C3 2203-000384 C-CER,CHIP;0.015nF,5%,50V,C0G,1608 1 SNA ....4 ZC14 2203-000626 C-CER,CHIP;0.022nF,5%,50V,C0G,1608 1 SNA ....4 AAC14 2203-000888 C-CER,CHIP;4.7nF,10%,50V,X7R,TP,1608 6 SA ....4 DC108 2203-005005 C-CER,CHIP;100nF,10%,16V,X7R,1608 48 SC ....4 C100 2203-005065 C-CER,CHIP;1000nF,+80-20%,10V,Y5V,1608 3 SNA ....4 C125 2203-006361 C-CER,CHIP;10000nF,10%,10V,X5R,TP,2012 17 SC ....4 X202 2801-003667 CRYSTAL-SMD;14.31818MHz,30ppm,28-AAN,16p 1 SA ....4 T0568 3301-001407 BEAD-SMD;30ohm,1608,300mA,TP,,,0.4ohm 3 SNA ....4 AC510 3708-001150 CONNECTOR-FPC/FFC/PIC;30P,1mm,SMD-A,SN,Y 1 SA ....4 BN97-03853W ASSY MICOM-CTZ,W/W;LS22LRKKUV/EN,BN41-* 1 SNA .....5 IC115 1107-001614 IC-FLASH MEMORY;MX25L1005,1Mbit,1Mx1,SOP 1 SNA ....4 T0077 BN41-01172B PCB MAIN;Lavender,CEM-3,2layer,1.0,1.6T, 1 SNA ..2 M0214 BN96-02854Y ASSY CABLE P-FLAT;Mckinley,Flat cable,17 1 SA ..2 M0006 BN96-12310A ASSY SHIELD P-COVER;P2250W,SECC T0.8,22W 1 SNA 5-5 5. Exploded View & Part List Level Location No. Code No. Description & Specification Q’ty SA/SNA Remark ...3 BN61-02429D STUD-PEM;PNB,M2.8,D7,L20,ZPC(SIL),SUM24L 1 SNA ...3 T0514 BN61-05905A BRACKET-SUPPORT;P2250W,SECC,T0.8,16:10 1 SNA ...3 M0107 BN63-04351A SHIELD-COVER;LS20AQ,CPT,SECC,T0.8 1 SNA ...3 T0139 AA65-30105C CLAMPER CORE-WIRE;ALL MODEL,NYLON 66,V2, 1 SNA ...3 M0909 BN63-02972A GASKET;GASKET EMI,Polyurethane Sponge+Po 4 SNA 0.1 BN91-04568A ASSY SHIELD;LAVENDER 24,P2250W,16:10 Pan 1 SNA ..2 CIS1 BN74-00021A TAPE-FILAMENT;Filament tape,clear,#8915, 0.12 SNA 0.1 BN92-03547X ASSY LABEL;LS22EFHKFV/ZC 1 SNA ..2 CCM1 BN68-01907B LABEL RATING;WW,PET,T0.05,65,35 1 SNA 0.1 BN92-05368T ASSY P/MATERIAL;LS22LRKKUV/EN 1 SNA ..2 T0214 0203-001595 TAPE-OPP MASKING;OPP-2,0.075,75,800M,CLR 1.46 SNA ..2 6902-000061 BAG AIR;LDPE,T0.2,W500,L1000,TRP,370.000 1 SNA ..2 6902-000379 BAG AIR;LDPE,T0.2,W1000,L1800,TRP,1260.0 1 SNA ..2 6902-000604 BAG WRAPPING;LDPE,T0.02,W500,L10000,TRP, 1.11 SNA ..2 6902-000609 BAG ROLL;LDPE,T0.05,W2400,L1000,TRP,30.0 0.03 SNA ..2 T0527 BH68-40364A LABEL-SUMMARY;G52,G72,ART,100G,WHT,BLK,W 1 SNA ..2 BH69-00457E PACKING INNER-00,PAD;32S8,EPE,COMM,EPE-F 1 SNA ..2 T0527 BN68-00129A LABEL SHIPPING-00;LABEL SHIPPING,ART-PAP 1 SNA ..2 BN69-00391Y PAD-ANGLE;CB,T5,W2100,L50,YEL,403g 1 SNA ..2 BN69-01058P PALLET-PACKING;MGM 27,WOODEN,1185,855,12 1 SNA ..2 BN69-03565D PAD-PLATE;LD220,CB,SW,YEL,W1150,D800,520 1 SNA ..2 T0246 BN69-04213A CUSHION-SET;P2250W,EPS,16.7g/l 1 SNA ..2 T0524 6902-000969 BAG PE;HDPE/HDPE/NITRON,T0.015/T0.015/T0 1 SNA 0.1 M0045 BN92-05420T ASSY ACCESSORY;LS22LRKKU/XF 1 SNA ..2 M0114 BN39-00244G CBF SIGNAL;D-sub cable,15P/15P,20276N,15 1 SA ..2 M0027 BN96-09629A ASSY STAND P-BASE;ECOFIT,ABS HB,BK23(H/G 1 SC ...3 CIS4 BN61-01717A HOLDER-STAND;BIZET,NI PLT,CH,+,M4,L11(5) 1 SNA ...3 BN61-05087A BRACKET-STAND BOTTOM;ECOFIT 23",SECC T0. 1 SNA ...3 CCM1 BN63-02183K COVER-SHEET;Rhcm,PE Vinyl,T 0.04,250MM,2 0.3 SNA ...3 M0111 BN63-05425A COVER-STAND BASE;ECOFIT 23",ABS,HB,BK23, 1 SNA ...3 AR011 BN73-00077A RUBBER FOOT;MATISSE,BUMPON,#13.5,T2.0,60 4 SNA ...3 M0081 6003-001001 SCREW-TAPTYPE;FH,+,B,M3,L8,ZPC(BLK),SWRC 4 SNA ...3 T0524 6902-000109 BAG PE;HDPE,T0.015,W350,L430,TRP,28,2,4. 1 SNA ...3 BN68-02009B MANUAL FLYER-STAND;Ecofit,Lavender,Mojo 1 SNA ...3 BN68-02304C LABEL-STICKER;WW,T0.05,50,10,LAVERDER 19 1 SNA ..2 STD BN96-10575A ASSY STAND P-BODY;LAVENDER,ABS,BK23,H/GL 1 SA ...3 T0524 6902-000023 BAG PE;LDPE,T0.08,W150,L120,TRP,1.650g 1 SNA ...3 BN61-05333A STAND-BAR;LAVENDER 23",ABS,BK23,H/Glossy 1 SNA ....4 BN61-05459A STAND-BAR;LAVENDER 23',ABS,IN 1 SNA .....5 BN61-02932E BRACKET-STOPPER NUT;ECOFIT 20,M4,D8,L12, 1 SNA ...3 CCM1 BN63-02183B COVER-SHEET;Rhcm,PE Vinyl,T0.04,150mm,20 0.12 SNA ...3 BN68-02304C LABEL-STICKER;WW,T0.05,50,10,LAVERDER 19 1 SNA ..2 M0045 BN96-12370R ASSY ACCESSORY;LS22LRKKU/XF 1 SA ...3 T0268 3903-000455 CBF-POWER CORD;DT,CN,IP3/Y(A),IEC320 C13 1 SA ...3 T0527 AA68-00764A LABEL-PASSING;SAMSUNG ALL,ART PAPER,CLR, 1 SNA ...3 M9889 BN63-02368B CLOTH-CLEAN;cloth,120,160,sea blue,ToC 1 SNA ...3 T0527 BN68-00513A LABEL-E,PASS;ALL MODEL,YUPO(110G),50X15, 1 SNA ...3 BN68-01118D MANUAL-TCO 5.0 CARD;COMM,W/W,Mojo 100g,2 1 SNA ...3 BN68-01789A MANUAL FLYER-WARRANTY CARD;Chinese,Art 1 1 SNA ...3 BN68-02125K MANUAL FLYER-BOOK;P2250W,SC,Mojo 80g,148 1 SNA ...3 BN68-02186A MANUAL FLYER-TOC GUIDE;COMM,SAMSUNG,10 L 1 SNA 5-6 5. Exploded View & Part List Level Location No. Code No. Description & Specification Q’ty SA/SNA Remark ...3 BN68-02377A MANUAL FLYER-GLOSSY BEZELS;comm,Samsung, 1 SNA ...3 T0010 BN96-06529A ASSY HOLDER P-WIRE;MCKINLEY,ABS HB,BK23 1 SNA ....4 6902-000336 BAG ZIPPER;LDPE,T0.05,W70,L80,TRP,0.500g 1 SNA ....4 M0114 BN61-03555A HOLDER-WIRE;MCKINLEY,ABS HB,BK26 1 SNA ...3 T0524 6902-000110 BAG PE;LDPE,T0.05,W250,L400,TRP,28,2,9.2 1 SNA 0.1 BN92-05426Q ASSY BOX;LS22LRKKU/XF 1 SNA ..2 T0077 BH68-00329D LABEL BAR CODE-02;NO CE,NO WT`Y,MPRII,LA 1 SNA ..2 BH68-00659H LABEL BOX-00;ALL MODEL,MOJO 90G,90,95,WH 1 SNA ..2 BN68-02317A HIC-LABLE-STICKER;CHINA BACKUP2,CHINA,MO 1 SNA ..2 BN69-04261A BOX-01,SET;P2250W,CB,A-01,W579,D417,H111 1 SNA ..2 M0245 BN96-02895A ASSY MISC P-01,HANDLE PACKING;ALL MODEL, 1 SNA ...3 BN66-00007A LEVER-TOP;ALL MODEL,LDPE,WHITE,5.8g 1 SNA ...3 BN66-00008A LEVER-BOTTOM;ALL MODEL,LDPE,WHITE,4.01g 1 SNA 1-1 1. Precautions 1. Precautions 1-1. Safety Precautions Follow these safety, servicing and ESD precautions to prevent damage and to protect against potential hazards such as electrical shock. 1-1-1. Warnings For continued safety, do not attempt to modify the circuit board. 1. Disconnect the AC power and DC power jack before servicing. 2. 1-1-2. Servicing the LCD Monitor When servicing the LCD Monitor, Disconnect the AC line cord from the AC outlet. 1. It is essential that service technicians have an accurate voltage meter available at all times. Check the calibration of 2. this meter periodically. 1-1-3. Fire and Shock Hazard Before returning the monitor to the user, perform the following safety checks: Inspect each lead dress to make certain that the leads are not pinched or that hardware is not lodged between the 1. chassis and other metal parts in the monitor. Inspect all protective devices such as nonmetallic control knobs, insulating materials, cabinet backs, adjustment and 2. compartment covers or shields, isolation resistorcapacitor networks, mechanical insulators, etc. Leakage Current Hot Check (Figure 1-1): 3. WARNING : Do not use an isolation transformer during this test. Use a leakage current tester or a metering system that complies with American National Standards Institute (ANSI C101.1, Leakage Current for Appliances), and Underwriters Laboratories (UL Publication UL1410, 59.7). With the unit completely reassembled, plug the AC line cord directly into a 120V AC outlet. With the unit’s AC switch 4. first in the ON position and then OFF, measure the current between a known earth ground (metal water pipe, conduit, etc.) and all exposed metal parts, including: metal cabinets, screwheads and control shafts. The current measured should not exceed 0.5 milliamp. Reverse the power-plug prongs in the AC outlet and repeat the test. 1-1-4. Product Safety Notices Some electrical and mechanical parts have special safetyrelated characteristics which are often not evident from visual inspection. The protection they give may not be obtained by replacing them with components rated for higher voltage, wattage, etc. Parts that have special safety characteristics are identified by on schematics and parts lists. A substitute replacement that does not have the same safety characteristics as the recommended replacement part might create shock, fire and/or other hazards. Product safety is under review continuously and new instructions are issued whenever appropriate. DEVICE UNDER TEST (READING SHOULD) NOT BE ABOVE 0.5mA LEAKAGE CURRENT TESTER TEST ALL EXPOSED METAL SURFACES 2-WIRE CORD *ALSO TEST WITH PLUG REVERSED (USING AC ADAPTER PLUG AS REQUIRED) EARTH GROUND Figure 1-1. Leakage Current Test Circuit 1-2 1. Precautions 1-2. Servicing Precautions WARNING: An electrolytic capacitor installed with the wrong polarity might explode. Caution: Before servicing units covered by this service manual, read and follow the Safety Precautions section of this manual. Note: If unforeseen circumstances create conflict between the following servicing precautions and any of the safety precautions, always follow the safety precautions. 1-2-1 General Servicing Precautions Always unplug the unit’s AC power cord from the AC power source and disconnect the DC Power Jack before 1. attempting to: (a) remove or reinstall any component or assembly, (b) disconnect PCB plugs or connectors, (c) connect a test component in parallel with an electrolytic capacitor. Some components are raised above the printed circuit board for safety. An insulation tube or tape is sometimes 2. used. The internal wiring is sometimes clamped to prevent contact with thermally hot components. Reinstall all such elements to their original position. After servicing, always check that the screws, components and wiring have been correctly reinstalled. Make sure that 3. the area around the serviced part has not been damaged. Check the insulation between the blades of the AC plug and accessible conductive parts (examples: metal panels, 4. input terminals and earphone jacks). Insulation Checking Procedure: Disconnect the power cord from the AC source and turn the power switch ON. 5. Connect an insulation resistance meter (500 V) to theblades of the AC plug. The insulation resistance between each blade of the AC plug and accessible conductive parts (see above) should be greater than 1 megohm. Always connect a test instrument’s ground lead to the instrument chassis ground before connecting the positive lead; 6. always remove the instrument’s ground lead last. 1-3. Static Electricity Precautions Some semiconductor (solid state) devices can be easily damaged by static electricity. Such components are commonly called Electrostatically Sensitive Devices (ESD). Examples of typical ESD are integrated circuits and some field-effect transistors. The following techniques will reduce the incidence of component damage caused by static electricity. Immediately before handling any semiconductor components or assemblies, drain the electrostatic charge from your 1. body by touching a known earth ground. Alternatively, wear a discharging wrist-strap device. To avoid a shock hazard, be sure to remove the wrist strap before applying power to the monitor. After removing an ESD-equipped assembly, place it on a conductive surface such as aluminum foil to prevent 2. accumulation of an electrostatic charge. Do not use freon-propelled chemicals. These can generate electrical charges sufficient to damage ESDs. 3. Use only a grounded-tip soldering iron to solder or desolder ESDs. 4. Use only an anti-static solder removal device. Some solder removal devices not classified as “anti-static” can generate 5. electrical charges sufficient to damage ESDs. Do not remove a replacement ESD from its protective package until you are ready to install it. Most replacement ESDs 6. are packaged with leads that are electrically shorted together by conductive foam, aluminum foil or other conductive materials. Immediately before removing the protective material from the leads of a replacement ESD, touch the protective 7. material to the chassis or circuit assembly into which the device will be installed. Caution: Be sure no power is applied to the chassis or circuit and observe all other safety precautions. Minimize body motions when handling unpackaged replacement ESDs. Motions such as brushing clothes together, 8. or lifting your foot from a carpeted floor can generate enough static electricity to damage an ESD. 1-3 1. Precautions 1-4. Installation Precautions For safety reasons, more than two people are required for carrying the product. 1. Keep the power cord away from any heat emitting devices, as a melted covering may cause fire or electric shock. 2. Do not place the product in areas with poor ventilation such as a bookshelf or closet. The increased internal 3. temperature may cause fire. Bend the external antenna cable when connecting it to the product. This is a measure to protect it from being exposed 4. to moisture. Otherwise, it may cause a fire or electric shock. Make sure to turn the power off and unplug the power cord from the outlet before repositioning the product. Also check 5. the antenna cable or the external connectors if they are fully unplugged. Damage to the cord may cause fire or electric shock. Keep the antenna far away from any high-voltage cables and install it firmly. Contact with the highvoltage cable or the 6. antenna falling over may cause fire or electric shock. When installing the product, leave enough space (10cm) between the product and the wall for ventilation purposes. 7. A rise in temperature within the product may cause fire. 1-4 1. Precautions Memo 2-1 2. Product specifications 2. Product specifications 2-1. Feature & Specifications Model P2250W Feature Panel Specifications: 300cd/m2, 2ms, CR 1000:1(DC), 170/160(CR>10) ሪ DPMS : <0.7W ሪ Magic Bright3, Magic Tune, Windows Vista authentication ሪ DC 70,000: 1 applied ሪ Supports fixed vertical and horizontal ratios ሪ Supports camera effect mode: Black and white/Sepia/Aqua/Green ሪ Specifications Item Description Model P2250W LCD Panel TFT-LCD panel, RGB vertical stripe, normally white transmissive, 22” wide Viewable 0.282(H) mm x 0.282(V)mm pixel pitch Scanning Frequency Horizontal : 30 kHz ~ 81 kHz (Automatic) Vertical: 56Hz ~ 75Hz Display Colors 16.7 Million colors Maximum resolution Horizontal: 1680 Pixels Vertical: 1050 Pixels Input Signal 22” Dual Input Sync Signal Seperate H/V sync, Composite H/V, Sync-on-Green Level: TTL level Maximum Pixel Clock rate 164MHz Active Display (Horizontal/Vertical) 473.76(H) x 296.1(V) AC power voltage & Frequency AC 110V~130V, 60Hz & AC, 200V~240V 50Hz Power Consumption 40W Dimensions Set (W x D x H) 519.5 x 189.4 x 425.0 mm (with Stand) 519.5 x 63.0 x 356.0 mm (without Stand) Weight (Set/Package) 5.4 Kg (with Stand) 5.0 Kg (without Stand) Environmental Considerations Operating Temperature: 10˚C ~ 40˚C(50˚F ~ 104˚F) Operating Humidity : 10% ~ 80% Operating Temperature: -25˚C ~ 45˚C(-13˚F ~ 113˚F) Operating Humidity: 5% ~ 90% Note: Designs and specifications are subject to change without prior notice. 2-2 2. Product specifications 2-2. Spec Comparison to the Old Models Model P2250W P2050(G) / P2250(G) / P2350(G) Design Resolution 1680 x 1050 1600x900 (P2050) 1920x1080 (P2250/P2350) Input Analog / DVI Digital Analog / DVI Digital Response Time 2ms 2ms Viewing Angle 170/160(CR>10) 170/160(CR>10) Brightness 300cd/m² 300cd/m² Contrast 70,000:1(DC) 50,000:1(DC) MagicBright 7 step 7 step Feature Magic Color Color Effect Image Size Magic Bright3 Magic Tune (Premium) Magic Color Color Effect Image Size Magic Bright3 Magic Tune (Premium) *Color Effect - Grey scale: Images are displayed in a grey tone on the screen. - Green: Images are displayed in a green tone on the screen. - Aqua: Images are displayed in a blue tone on the screen. - Sepia: Images are displayed in a brown tone on the screen. Image Size : If the resolution is not wide resolution, this option allows the screen size to be selected as normal or wide. 2-3 2. Product specifications 2-3. Accessories Product Description Ccde. No Remark Quick Setup Guide BN68-01925C Samsung Electronics Service center Warranty Card (Not available in all locations) BN68-00226R User’s Guide, Monitor Driver, Natural Color Pro Software BN96-10917A Stand Body BN96-10575A Stand Base BN96-09629A D-sub Cable 1,500mm(1.5M) BN39-00244G Power Cord 1,830mm(1.8M) 3903-000452 Cleaning Cloth 160mm x 120mm BN63-02368B 2-4. Accessories (Sold separately) Product Description Ccde. No Remark DVI Cable 1,500mm(1.5M) BN39-00246N Samsung Electronics Service center 2-4 2. Product specifications Memo � ����� � ���� � �� ���� ���� ���� ����� ����� ���� ���� ���� ����� ��� ������ ����������� � ����� ���� ����� ������ ������ ������ ��������� ��� �������� ���������� � ��� ������ � �������� ��������� �������� ��� �������� ���� �� ����� ��������� ���� ���� ��� �������� ��� ��������� � � � ������� ���� � � ������������� � � � � ����� ���� ��� ����� ����� ����� ������ � ��� ������������� ������ ��� ������ � ������ ������������� ������ ��� ���� � ��� �� ����� �� ����� � ��� �� �������������� � ��������� ������������������� � � � � ��� � ��� � �� ����������� � �� �� �� �� ������������� ������� � ������� ������ � ������ �� � ���� ���� ��� � ������� ������ � ����� �� �� �� ����� ������� �� ����� ������� �� �� ������ �� � � ��� �� �� � � � ������� ���� � �� �� �� ������������ �� � ����� � ���� ����� ��������� ��������� ��������� ���������� � � � � � ����� ���� ����� ������� ������� ������� ������� �� �� �� �� � ��� ��� ��� ���� ��� ��� ��� ������ � ������ � ��� ��� ���� �� ��� ��� ������� ��� ����� ������� � ��� ���� ������������ � ����������������� �� �� � � � � � � � � � � � � � � � ��� � ��� � �� ����������� � �� �� �� �� �� �� �� �� ���� ���� � ���� ��� ��� ��� �� � �� ����� ��� �� �� ����� ��������������� � ����� ��� � ��� �� ���� ����� � � ����� ��� � � � ���� ��� ���� � ��� ���� ���� � ���� � ���� �� ����� ������ �� ����� ������ ��� ��������� ������ ��� �� �� ��� ���� ������ � ���������� ���� ����� � �� ��������� �� ����������� � ����� � ���� ������� ��������� ��������� ��������� ��������� �� �� �� �� � � � ����� ���� ������� ������������ ������������ ������������ ������������ �� �� �� �� � � � � ����� � ���� ����� ������� ������� ������� ������� �� �� �� �� � � ��� ��� ��� ���� ��� ��� ��� ������ � ������ � ��� ��� ���� �� ��� ��� ������� ��� ��� ������� � ��� ���� ������������ � ����������������� �� �� � � � � � � � ��� � ��� � �� ����������� � �� �� �� �� �� ��� ���� ���� ���� � ���� �������� � ����� ��� � ��� �� ���� ����� � � ����� ��� � � � ���� ��� ���� � ��� ���� ���� ���� � ���� ����� �� ����� ������ ���� �� ��� �� ������ ��� �� �� ��� ���� ������ � ���������� ���� ����� � �� ��������� �� ����������� � ����� ���� ������� ������������� ������������� ������������� ������������� �� �� �� �� � � � ����� � ���� ������� ������������� ������������� ������������� ������������� �� �� �� �� � � � ����� ����� ��� ��������� ��������� ��������� ���������� � ����� �������� ��� � �� ���� ��� �� � � �� �� ���� ��� ��������� ���������������� � � � ���� �� ������� � ������������������ ���� � � � �� ������ ������� �� ������ � � �� �� ���� ����������� ���������������� ���������� � � � ���� ��������� ���� �� �������������� � ��������������� ������������ � � � � � ����� � ����� ����� �� �� �� ��� ����� ������ ������ ������ ������� ������������� � ��������������� � � ����������������� � � ���������� � � ��������� �� � ��� � � � � � � � � � �� �� � � � � � � � � ��� �� � � � � � � � � � � ������ � �� � �� � ����� � � � � ����� � �������������� � �� �� ������ � � ��� �� ������� � � ����������� ��� ���� � � ��������������� � � ����������� ����� � � � �� �������� � � �������������������� ������ �� ��� ���� ����� ��� �� � � ����������� ���� � � � � � � � � � � � � � � � � � � � � � � � � � � � � � � � � � � � � � � � � � � � � � � � � � � � � � � � � � � � � � � �������� � ��������� ��� ���� ������ �� ��� � � � ������ ���� � � � � ����� ����� ������������ ������ ������ ������� � ������� � ��� ��������������������� � ��� �������� �� � ������������ � �� � ������ ���������������� � �� � � ������������ � � � �� � ������������ � �� � ��������� ���� � � ��� ����� ��������������������� ������������ ��� ��������� �������� � � � � ����� � ������� ��������� ��� ������� � ����� ��� ����� ���� � ���� �� � ��� ������������� � � ����� � ����� �������� �������� � � � � � � � � � � � � � � � � � ������� � ����� �������������� � � � �� ����� ���� � ��������� � � � � � � � � � � � � � � � � � � � � � � � � � � � � � � � � � � � � � � � � � � � � � � � � � � � � � � ������ �� � ����� ����� �� ��� ��� � � � � � � � � � � � � � � � � � � �� ��� ��� �������� ����� � � ���������� � � ������ � � ���� ��� �� � � � ����������������� � � ����������� � � � � � � � � � � � � � � � � � � ������������ � �������� ������� ��������� � � ����� � ����� �� ��� ��� � � � � � � � � � � � � � � � � � � � ������� ��� ������ ����� ������������������������� ����� ������������ ����� ������������ � � � � � � � � � � � � � � � � � � � �� ���� ��� �� ��� ���� ����������� � ����� ����� � � � � � � � � � � � � � � � � � � � �������� � � � � � � � � � � � � � � � � � � � � ������� �������� � � � ����� � ����� � ���� ���� � � � � � � � � � � � � � � � � � � � � � � ��� ��������������� � � � � � � � � � � � � � � � � � � � � � ��� �� ���� �� � � ����� ����� � � � � � � � � � � � � � � � � � � � � ��� �� ���� ������� ���������� �� � � � � � � � � � � � � � � � � � � � � � � ��� �� ���� ��� � 6-1 6. Wiring Diagram 6. Wiring Diagram 6-1. Wiring Diagram - Main Board 6-2 6. Wiring Diagram NO Block Role Description Remarks 1 Scaler IC200 The ADC, TMDS, Scaling and Controller are integrated on a single chip. SE758MRH 2 FLASH MEMORY IC201 Stores the firmware for the Scaler. The information can be updated. 3 EEPROM IC203 Stores the OSD, Timing etc. NVRAM 24C08 4 EEPROM IC202, IC204 Stores the EDID data. 24C02 5 Regulator IC601, IC602 The IC for a stable DC power supply. NCP1117ST NCP1117DT 6-3 6. Wiring Diagram 6-2. Wiring Diagram - IP Board Function Connector (Connect to IP-Board) RGB Connector (Connect to PC) LVDS Connector (Connect to Panel) 3708-001150 Scaler SE758MRH 3701-001219 IP board 3701-001173 DVI Connector (Connect to PC) 3711-003847 6-4 6. Wiring Diagram 6-3. Connector Functions Connector Functions CN600 Supplies 5V from the power board to the main board and transmits the PWM output from the power board to the inverter. *When a problem occurs: The No Power and Blank Screen errors may occur. CN1 ~ CN4 In Transmits the lamp current (6mA ~ 7mA) generated in the inverter to the lamp of the panel. * When a problem occurs: The Blank Screen error may occur. CN103 VGA signal input terminal * When a problem occurs: The No RGB output error may occur. CN400 Transmits the LVDS signals from the main board to the panel. * When a problem occurs: The Blank screen and No Power errors may occur. 6-4. Cables Use LVDS 30P FFC cable Code BN96-02854Y Photo

标签:

版权声明

1. 本站所有素材,仅限学习交流,仅展示部分内容,如需查看完整内容,请下载原文件。
2. 会员在本站下载的所有素材,只拥有使用权,著作权归原作者所有。
3. 所有素材,未经合法授权,请勿用于商业用途,会员不得以任何形式发布、传播、复制、转售该素材,否则一律封号处理。
4. 如果素材损害你的权益请联系客服QQ:77594475 处理。