三星E1920NRX液晶显示器维修手册和原理图

分类:电子电工 日期: 点击:0
三星E1920NRX液晶显示器维修手册和原理图-0 三星E1920NRX液晶显示器维修手册和原理图-1 三星E1920NRX液晶显示器维修手册和原理图-2 三星E1920NRX液晶显示器维修手册和原理图-3 三星E1920NRX液晶显示器维修手册和原理图-4 三星E1920NRX液晶显示器维修手册和原理图-5 三星E1920NRX液晶显示器维修手册和原理图-6 三星E1920NRX液晶显示器维修手册和原理图-7 三星E1920NRX液晶显示器维修手册和原理图-8 三星E1920NRX液晶显示器维修手册和原理图-9

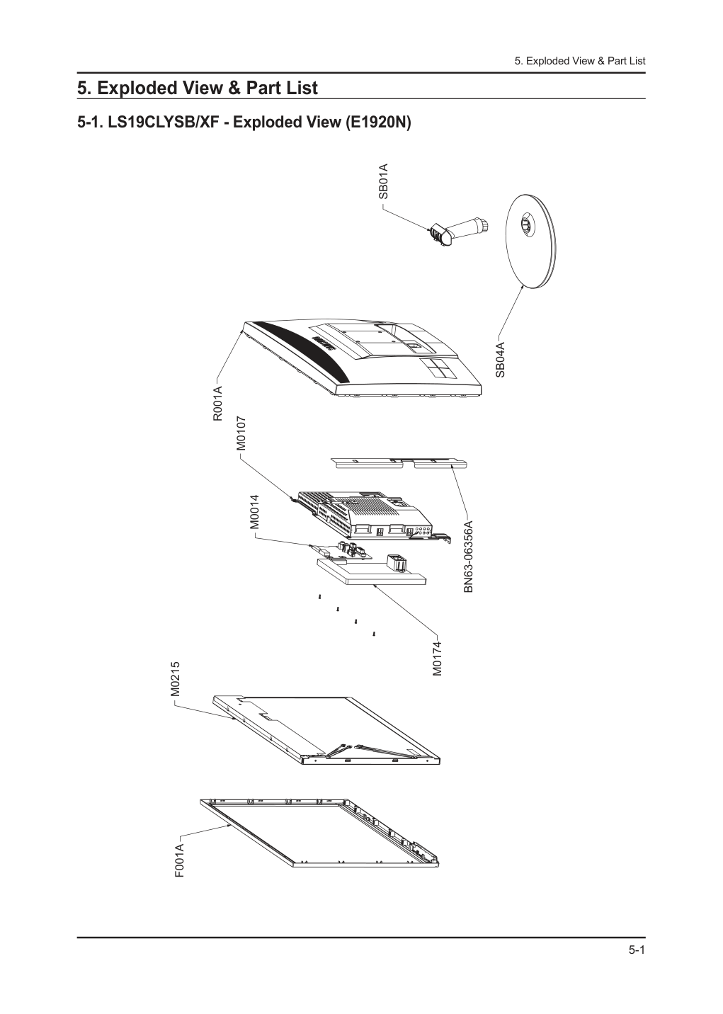
� � � � � � � �� � � � � �� ������� ������� ������� �������� � �� �� �� ��� � � � � � ������������������������������������ � ���������������������������� � � ����������������������������������� � ����������������� � � ����� ���� ���� ����� � �� � � ���� ��� ��� ���� � �������� ������� ������� �������� � ����� ���� ���� ����� � ��������� �������� �������� ��������� � ���� ��� ��� ���� � � �������� ��� ���� ������ ��� � � ����� ����� ����� ������ �� �� �� �� �������������������� � �������������������� �������������������� �������� �� �� �� �� ���������������������� � ������������������� � ��������������������� � ��������������������� � ������������������� � � ������������������� � �������� � � � � ��� �� �� ��� � � �� � � ��� ��� ��� ���� � � ���� ���� ���� ����� ��� ������ �������������������������������������������������������������������������������������������������������������������������� ���� ��� ������ �������������������������������������������������������������������������������������������������������������������������� ���� ��� ������ �������������������������������������������������������������������������������������������������������������������������� ���� ��� ������ �������������������������������������������������������������������������������������������������������������������������� ���� � ���� ���� ���� ����� ��� ����������������������������������������������������������������������������������������������������������������������������������� ���� ��� ��������� ��������������������������������������������������������������������������������������������������������������� ���� ��� ������������������������������������������������������������������������������������������������������������������������������������������� ���� � ����� ����� ����� ������ ��� ������������������������������������������������������������������������������������������������������������������������������������������� ���� � ���� ���� ���� ����� ��� �������������������������������������������������������������������������������������������������������������������������������������� ���� ��� ����������������������������������������������������������������������������������������������������������������������������������� ���� ��� ������������������������������������������������������������������������������������������������������������������������������ ���� ��� ������������������������������������������������������������������������������������������������������������������������������ ���� ��� ������������������������������������������������������������������������������������������������������������������������������������������� ���� � �������� �������� �������� ��������� ��� ��� ������������������������������������������������������������������������������������������������������������������������������������� ���� ��� ������������� ��������������������������������������������������������������������������������������������������������������� ���� ��� ������������������������������������������������������������������������������������������������������������������������������ ���� ��� ������������� ��������������������������������������������������������������������������������������������������������������� ���� ��� �������������������������������������������������������������������������������������������������������������������������������� ��� ���������������������������������������������������������������������������������������������������������������������������� ����� ��� ���������������������������������������������������������������������������������������������������������������������������� ����� ��� �������������������������������������������������������������������������������������������������������������������������� ����� � ��� ��� ��� ���� ��� ����������������������������������������������������������������������������������������������������������������������������������� ���� ��� ������ �� ������������������������������������������������������������������������������������������������������������������������ ���� ��� ����������������������������������������������������������������������������������������������������������������������������������� ���� ��� ������������������������������������������������������������������������������������������������������������������������������������������� ���� � � � � � � � � � � � � � � � � � � � � � � � � � � � � � � � � � � � � ���� ��������� � � �� �� �� ��� �� �� �� ��� ��� ��������������������������������� ��� ������������������������������� ���� ����������������������������� ��� �������������������������������� ��� ������������������������������� ��� ������������������������������ ������ ����������������������������� � � � ���������������� ������� �������������������� � ���� �� ��������� � ������ ����� ��� ��������������� � � �������� � ���� ������� ����� ����� ������ � ������������������������ � �� �� �� �� ������������ ������������ ������������ ������������ ���������� ���������� ���������� ���������� � � ������ �� �� ��� � �� �� �� �� ��� ������ ������ ������ ������ ����� ����� ����� ����� � ��� ������ ������ ������ ������ ������������������ ������������������ ������������������ ������������������ � ��� ����������� ����������� ����������� ����������� � � ��� ��� ��� ������ � � � � � � � � � � �������������������� ����������������� � � � � ����������������� � � � � � � � � � �������� ���� � � � ��� ��� ��� ��������� � � � � � � � � � � � � � � � � � � � � � �������� � ���� � ��� ��� ��� ������������� � � � � � � � � � � � � � � � � � � � � � � � � � � � � � � � � � ���� ���� ������ ����� ��� � � � � ��� � � � � � � � � � � � � � � � � � � � � � � � � � � � ����� � � � � ���� � � ���� ��� �� � � � ���������� � ��� � � � � �������� ���� � � � ��� ��� ��� ���������� � ��� ��� ��� � � � � � � � � � � � � � � � � � � � � � � � � � � � � � � � � � � � ������������ �� � � � �� �� � � � � � � � � � � � � � � � � � � ��� � � ����������� � � 5-1 5. Exploded View & Part List 5. Exploded View & Part List 5-1. LS19CLYSB/XF - Exploded View (E1920N) F001A M0215 M0014 M0107 R001A SB01A SB04A BN63-06356A M0174 5-2 5. Exploded View & Part List 5-1-1. Parts List Location No. Code No. Description & Specification Q’ty SA/SNA Remark F001A BN96-13091A ASSY COVER P-FRONT;Cobalt 18.5W,ABS,HB,B 1 SA M0014 BN94-03397D ASSY PCB MAIN-STZ;E1920N,STZ 1 SA M0107 BN63-06355C SHIELD-COVER;PLUM 18.5",SECC,T0.8,18.5" 1 SNA M0174 BN44-00325B IP BOARD;IP-22155A,PLUM15.6",18.5"w(2Lam 1 SA M0215 BN07-00703A LCD-PANEL;LTM185AT01,SS8YTSV,6bit Hi-FRC 1 SA R001A BN96-13090F ASSY COVER P-REAR;Cobalt 18.5W,HIPS,HB,B 1 SA SB01A BN96-12853A ASSY STAND P-BODY;COBALT,HIPS,BK23,ETCH 1 SA SB04A BN96-12816A ASSY STAND P-BASE;COBALT 17~20,HIPS HB,B 1 SA BN63-06356A SHIELD-LAMP;PLUM 18.5'',SPTE,T0.3 1 SNA 5-3 5. Exploded View & Part List 5-2. LS19CLYSB/XF - Parts List (E1920N) Service Bom (SA: SERVICE AVAILABLE, SNA: SERVICE NOT AVAILABLE) Level Location No. Code No. Description & Specification Q’ty SA/SNA Remark 0.1 R001A BN90-02725B ASSY COVER REAR;E1920N,BLACK,AMLCD 1 SNA ..2 R001A BN96-13090F ASSY COVER P-REAR;Cobalt 18.5W,HIPS,HB,B 1 SA ...3 W391 6003-000275 SCREW-TAPTYPE;BH,+,B,M3,L10,ZPC(BLK),S WR 2 SA ...3 M0113 BN61-01581A BRACKET-VESA;BI17/19BS,SECC,T1.0 2 SNA ...3 T0060 BN61-05331A SPRING ETC;LAVENDER 23",SK5,T0.5 1 SNA ...3 CIS4 BN61-05332A HOLDER-STAND;LAVENDER 23",ACETAL,WHITE 1 SNA ...3 M0111 BN63-05625A COVER-STAND;LAVENDER 23W,BK23 1 SNA ...3 R001 BN63-06842E COVER-REAR;Cobalt 18.5W,HIPS,HB,BK23,SIM 1 SNA ...3 M0126 BN73-00170A RUBBER- FOOT;943BW,2043BW,RUBBER,8*8,1.5, 3 SNA ...3 BN96-13846A ASSY SHIELD P-LAMP;Cobalt 18.5",STPE,T0. 1 SNA ....4 BN63-06356A SHIELD-LAMP;PLUM 18.5'',SPTE,T0.3 1 SNA ....4 M0131 BP63-00786A GASKET;HLS6187WX/XAA,Conductive Adhesive 1 SNA 0.1 BN91-02220X ASSY LCD;LS19CFNKFY/ZA,BN07-00703A 1 SNA ..2 M0215 BN07-00703A LCD-PANEL;LTM185AT01,SS8YTSV,6bit Hi-FRC 1 SA 0.1 M0017 BN91-05223N ASSY CHASSIS-STZ;E1920NX 1 SNA ..2 M0174 BN44-00325B IP BOARD;IP-22155A,PLUM15.6",18.5"w(2Lam 1 SA ..2 M0014 BN94-03397D ASSY PCB MAIN-STZ;E1920N,STZ 1 SA ...3 0202-001463 SOLDER-WIRE;LFC2-W3.0,-,D3,99.79Sn/0.2Cu 1.814 SNA ...3 0202-001608 SOLDER-WIRE FLUX;LFC7-107,D0.8,99.3Sn/0. 0.003 SNA ...3 0204-002420 SOLVENT;1M-1000,C3H70H,96 3.47 SNA ...3 0204-002607 FLUX;DF-234U,13%,14KG,Gravity 0.82 2.259 SNA ...3 3701-001510 CONNECTOR-DSUB;15P,3R,FEMAIL,STAMPED PIN 1 SNA ...3 CN906 3711-005847 CONNECTOR- HEADER;BOX,9P,1R,2MM,ANGLE,SN, 1 SNA ...3 BN97-04137D ASSY SMD;E1920N,STZ,BN94-03397D 1 SNA ....4 0202-001477 SOLDER-CREAM;LST309- M,D20~45um,96.5Sn/3A 0.462 SNA ....4 DS01A 0401-001056 DIODE-SWITCHING;MMBD4148SE,100V,200m A,SO 3 SA ....4 DR01A 0402-001614 DIODE-RECTIFIER;S1G,400V,1A,DO-214AC,TP 1 SA ....4 MZD1 0403-001411 DIODE-ZENER;5.49-5.73V,200mW,SOD-323,TP 8 SA ....4 0403-001712 DIODE-ZENER;QZX363C6V8,6.47/7.14V,200mW, 1 SNA ....4 PQ02 0501-002080 TR-SMALL SIGNAL;2SC2412K,NPN,200mW,SC-59 1 SA ....4 Q409 0505-001165 FET-SILICON;Si3443CDV,P,-20V,+-4.4A,65mo 1 SA ....4 IC112 1103-000129 IC-EEPROM;24C02,2Kbit,256x8,SOP,8P,5x4mm 1 SA ....4 IC112 1103-001410 IC-EEPROM;S-24CS08AFJ-TB-1GE,8Kbit,1Kx8, 1 SA ....4 T0087 1203-006118 IC-POSI.FIXED REG.;S-1172B18-U5T1G,SOT-8 1 SA ....4 T0087 1203-006141 IC-POSI.FIXED REG.;S-1172B33-U5T1G,SOT-8 1 SA ....4 IC109 1205-003895 IC-LCD CONTROLLER;SE919LM- NT,QFP,64P,7x7 1 SA ....4 DR1 2007-000043 R-CHIP;1Kohm,1%,1/10W,TP,1608 4 SA ....4 CER02 2007-000071 R-CHIP;22ohm,5%,1/10W,TP,1608 2 SNA ....4 AR30 2007-000074 R-CHIP;100ohm,5%,1/10W,TP,1608 20 SA ....4 AVR51 2007-000083 R-CHIP;3Kohm,5%,1/10W,TP,1608 1 SNA 5-4 5. Exploded View & Part List Level Location No. Code No. Description & Specification Q’ty SA/SNA Remark ....4 CER04 2007-000084 R-CHIP;4.7Kohm,5%,1/10W,TP,1608 2 SA ....4 MROP1 2007-000090 R-CHIP;10Kohm,5%,1/10W,TP,1608 14 SA ....4 AR108 2007-000097 R-CHIP;47Kohm,5%,1/10W,TP,1608 5 SA ....4 ARR2 2007-000102 R-CHIP;100Kohm,5%,1/10W,TP,1608 2 SA ....4 ZR24 2007-000109 R-CHIP;1Mohm,5%,1/10W,TP,1608 1 SNA ....4 KAR11 2007-000124 R-CHIP;2.2Kohm,5%,1/10W,TP,1608 3 SNA ....4 HR13 2007-000821 R-CHIP;390ohm,1%,1/10W,TP,1608 1 SNA ....4 ZR10 2007-001164 R-CHIP;75ohm,1%,1/10W,TP,1608 3 SNA ....4 R1 2007-002425 R-CHIP;1ohm,5%,1/10W,TP,1608 6 SNA ....4 C134 2203-000257 C-CER,CHIP;10nF,10%,50V,X7R,TP,1608 1 SA ....4 C409 2203-000292 C-CER,CHIP;0.01nF,5%,50V,C0G,1608 2 SA ....4 C3 2203-000384 C-CER,CHIP;0.015nF,5%,50V,C0G,1608 1 SNA ....4 ZC14 2203-000626 C-CER,CHIP;0.022nF,5%,50V,C0G,1608 1 SNA ....4 6MC22 2203-000975 C-CER,CHIP;47nF,10%,25V,X7R,TP,1608,- 6 SNA ....4 DC108 2203-005005 C-CER,CHIP;100nF,10%,16V,X7R,1608 24 SC ....4 PC11 2203-006141 C-CER,CHIP;1000nF,10%,16V,X5R,1608 2 SNA ....4 C125 2203-006361 C-CER,CHIP;10000nF,10%,10V,X5R,TP,2012 19 SC ....4 X202 2801-003773 CRYSTAL-SMD;12MHz,30ppm,28- AAN,20pF,50oh 1 SA ....4 L2011 3301-001145 BEAD-SMD;60ohm,4516,TP,70ohm/45MHz,82o hm 4 SNA ....4 T0568 3301-001407 BEAD-SMD;30ohm,1608,300mA,TP,,,0.4ohm 2 SNA ....4 AC510 3708-001150 CONNECTOR-FPC/FFC/PIC;30P,1mm,SMD- A,SN,Y 1 SA ....4 HB01A 3711-005743 HEADER-BOARD TO CABLE;BOX,5P,1R,1.25mm,A 1 SA ....4 T0077 BN41-01323A PCB MAIN;PLUM B1630N,CEM-3,2,MP1.0,1.6,5 1 SNA ....4 BN97-04136D ASSY MICOM;E1920N,STZ,BN94-03250* 1 SNA .....5 IC115 1107-001580 IC-FLASH MEMORY;MX25L4005,4Mbit,512Kx8,S 1 SNA ..2 M0006 BN96-12503C ASSY SHIELD P-COVER;PLUM 18.5",SECC,T0.8 1 SNA ...3 BN61-05973A STUD-PEM;PLUM23'',M4,D8,L20 2 SNA ...3 M0107 BN63-06355C SHIELD-COVER;PLUM 18.5",SECC,T0.8,18.5" 1 SNA ...3 T0073 AA63-01141A GASKET-EMI;42D5,Conductive Fabric,1.5mm, 2 SNA ...3 M0131 BN63-00049A GASKET;RB17AS,Conductive Fabric,1.5MM,10 3 SNA ...3 M0114 BN61-02500A HOLDER-WIRE;NYLON6.6,NATURAL 1 SNA ..2 T0081 6001-002408 SCREW-MACHINE;BH,+,WT,M4,L12,ZPC(WHT ),SW 2 SA ..2 M0081 6003-000264 SCREW-TAPTYPE;PWH,+,- ,B,M3,L6,ZPC(WHT),S 2 SA ..2 M0214 BN96-02854W ASSY CABLE P-FLAT CABLE;MCKINLEY,FLAT CA 1 SA 0.1 BN91-05285A ASSY SHIELD;E1920 1 SNA ..2 CIS1 BN74-00021A TAPE-FILAMENT;Filament tape,clear,#8915, 0.3 SNA 0.1 BN92-05486D ASSY LABEL;Cobalt, BLACK 1 SNA ..2 CCM1 BN68-01570A LABEL RATING;ALL,SS,PE,T0.05,90,45,Dark 1 SNA 0.1 BN92-05547L ASSY P/MATERIAL;S19S3,W/W 1 SNA ..2 T0214 0203-001595 TAPE-OPP MASKING;OPP-2,0.075,75,800M,CLR 1.31 SNA ..2 6902-000061 BAG AIR;LDPE,T0.2,W500,L1000,TRP,370.000 1 SNA ..2 T0524 6902-000241 BAG PE;HDPE/NITRON,T0.5/T0.012,W600,L600 1 SNA ..2 6902-000379 BAG AIR;LDPE,T0.2,W1000,L1800,TRP,1260.0 1 SNA ..2 6902-000604 BAG WRAPPING;LDPE,T0.02,W500,L10000,TRP, 1.5 SNA ..2 6902-000609 BAG ROLL;LDPE,T0.05,W2400,L1000,TRP,30.0 0.02 SNA ..2 AA69-00243G PAD-PLATE;CB SW-2,YEL,990,990,-,-,SP43J5 1 SNA 5-5 5. Exploded View & Part List Level Location No. Code No. Description & Specification Q’ty SA/SNA Remark ..2 T0527 BH68-40364A LABEL-SUMMARY;G52,G72,ART,100G,WHT,BL K,W 1 SNA ..2 BH69-00457A PACKING INNER-00,PAD;COMM,T3.0,1130,1180 1 SNA ..2 T0527 BN68-00129A LABEL SHIPPING-00;LABEL SHIPPING,ART-PAP 1 SNA ..2 BN69-00139L PALLET- PACKING;LN17HO,WOODEN,W:1030,D:10 1 SNA ..2 BN69-00391Y PAD-ANGLE;CB,T5,W2100,L50,YEL,403g 1 SNA ..2 BN69-04618A CUSHION-SET;COBALT18.5",SIMPLE,EPS,T0.01 1 SNA 0.1 BN92-05761L ASSY BOX;E1920NX,LS19CLYSB/XF 1 SNA ..2 T0077 BH68-00329D LABEL BAR CODE-02;NO CE,NO WT`Y,MPRII,LA 1 SNA ..2 BH68-00651U LABEL BOX-00;ALL MODEL,MOJO 90G,90,95,WH 1 SNA ..2 BN68-02258K LABEL-STICKER HIC;MODEL7,CHINA,MOJO,80G, 1 SNA ..2 BN69-04812A BOX-01,SET;Cobalt18.5"(SIMPLE),PAPER,SW, 1 SNA 0.1 ACCE1 BN92-05916B ASSY ACCESSORY;LS20CLYSB/XF 1 SNA ..2 EC29 BN39-00244H CBF SIGNAL-D-SUB TO D-SUB;D-sub cable,15 1 SA ..2 SB04A BN96-12816A ASSY STAND P-BASE;COBALT 17~20,HIPS HB,B 1 SA ...3 T0524 6902-000109 BAG PE;HDPE,T0.015,W350,L430,TRP,28,2,4. 1 SNA ...3 CIS4 BN61-01717A HOLDER-STAND;BIZET,NI PLT,CH,+,M4,L11(5) 1 SNA ...3 BN63-06716A COVER-STAND BASE;COBALT 17~20,HIPS,HB,BK 1 SNA ...3 BN68-02691A MANUAL FLYER-STAND;COBALT,Mojo 80g,148,2 1 SNA ...3 BN68-02822G LABEL-STICKER;W/W,ART PAPER,T0.05,50,10, 1 SNA ...3 AR011 BN73-00077A RUBBER FOOT;MATISSE,BUMPON,#13.5,T2.0 ,60 6 SNA ..2 SB01A BN96-12853A ASSY STAND P-BODY;COBALT,HIPS,BK23,ETCH 1 SA ...3 W392 6003-000282 SCREW-TAPTYPE;BH,+,-,B,M3,L8,ZPC(BLK),SW 2 SA ...3 T0524 6902-000023 BAG PE;LDPE,T0.08,W150,L120,TRP,1.650g 1 SNA ...3 BN61-06067A STAND-BAR;COBALT 21.5,HIPS,BK23 1 SNA ....4 BN61-06068A STAND-BAR IN;COBALT,HIPS,BK23,IN 1 SNA ...3 BN61-06334A BRACKET-PLATE;COBALT,SECC,1.0,SIMPLE 1 SNA ...3 BN68-02822J LABEL-STICKER;W/W,ART PAPER,T0.05,50,10, 1 SNA ..2 ACCE1 BN96-13553Y ASSY ACCESSORY;LS17CLASB/XF 1 SA ...3 T0268 3903-000455 CBF-POWER CORD;DT,CN,IP3/Y(A),IEC320 C13 1 SA ...3 T0524 6902-000110 BAG PE;LDPE,T0.05,W250,L400,TRP,28,2,9.2 1 SNA ...3 T0527 AA68-00764A LABEL-PASSING;SAMSUNG ALL,ART PAPER,CLR, 1 SNA ...3 T0527 BN68-00513A LABEL-E,PASS;ALL MODEL,YUPO(110G),50X15, 1 SNA ...3 BN68-01118D MANUAL-TCO 5.0 CARD;COMM,W/W,Mojo 80g,21 1 SNA ...3 BN68-01789A MANUAL FLYER-WARRANTY CARD;Chinese,Art 1 1 SNA ...3 BN68-02528A MANUAL FLYER-CHINA MANUAL;Cobalt,SyncMas 1 SNA 0.1 BN90-02693A ASSY COVER FRONT;E1920,BLACK 1 SNA ..2 F001A BN96-13091A ASSY COVER P-FRONT;Cobalt 18.5W,ABS,HB,B 1 SA ...3 F001 BN63-06843A COVER-FRONT;Cobalt 18.5W,ABS,HB,BK23,SIM 1 SNA ...3 AL093 BN67-00281A LENS-LED;Cobalt Project,PC CLEAR,TP26 1 SNA ...3 BN68-02382B LABEL-TCO5.0,ENERGY- STAR;TCO5.0,ENERGY-S 1 SNA ...3 M0007 BN64-01309A KNOB-FUNCTION;Cobalt Project,ABS,BK23 1 SNA 5-6 5. Exploded View & Part List Level Location No. Code No. Description & Specification Q’ty SA/SNA Remark ...3 FB01A BN96-13682E ASSY BOARD P-FUNCTION;Cobalt,FUNCTION,20 1 SA ....4 BN94-03497D ASSY PCB FUNCTION-BN96- 13682E;COBALT,BN9 1 SNA .....5 0202-001463 SOLDER-WIRE;LFC2-W3.0,-,D3,99.79Sn/0.2Cu 1.814 SNA .....5 0202-001608 SOLDER-WIRE FLUX;LFC7-107,D0.8,99.3Sn/0. 0.003 SNA .....5 0204-002420 SOLVENT;1M-1000,C3H70H,96 3.47 SNA .....5 0204-002607 FLUX;DF-234U,13%,14KG,Gravity 0.82 2.259 SNA .....5 EC13 BN39-01298D LEAD CONNECTOR;Cobalt,UL 1061 #28,UL/CSA 1 SA .....5 T0174 BN97-04306A ASSY SMD;COBALT, FUNCTION 1 SNA ......6 0202-001477 SOLDER-CREAM;LST309- M,D20~45um,96.5Sn/3A 0.462 SNA ......6 L0405 0601-001896 LED;SMD,BLUE,1.6x0.8x0.4mm,470,1.6x0.8x0 1 SA ......6 AHR40 2007-000088 R-CHIP;7.5Kohm,5%,1/10W,TP,1608 2 SNA ......6 KAR11 2007-000124 R-CHIP;2.2Kohm,5%,1/10W,TP,1608 2 SNA ......6 T0313 3404-001379 SWITCH-TACT;12V,50mA,250gf,4.9x4.9x1.5mm 6 SA ......6 HB01A 3711-005743 HEADER-BOARD TO CABLE;BOX,5P,1R,1.25mm,A 1 SA ......6 BN41-01400B PCB SUB-FUNCTION;Cobalt(all),FR-4,2,1.1, 1 SNA 1-1 1. Precautions 1. Precautions 1-1. Safety Precautions Follow these safety, servicing and ESD precautions to prevent damage and to protect against potential hazards such as electrical shock. 1-1-1. Warnings For continued safety, do not attempt to modify the circuit board. 1. Disconnect the AC power and DC power jack before servicing. 2. 1-1-2. Servicing the LCD Monitor When servicing the LCD Monitor, Disconnect the AC line cord from the AC outlet. 1. It is essential that service technicians have an accurate voltage meter available at all times. Check the calibration of 2. this meter periodically. 1-1-3. Fire and Shock Hazard Before returning the monitor to the user, perform the following safety checks: Inspect each lead dress to make certain that the leads are not pinched or that hardware is not lodged between the 1. chassis and other metal parts in the monitor. Inspect all protective devices such as nonmetallic control knobs, insulating materials, cabinet backs, adjustment and 2. compartment covers or shields, isolation resistorcapacitor networks, mechanical insulators, etc. Leakage Current Hot Check (Figure 1-1): 3. WARNING : Do not use an isolation transformer during this test. Use a leakage current tester or a metering system that complies with American National Standards Institute (ANSI C101.1, Leakage Current for Appliances), and Underwriters Laboratories (UL Publication UL1410, 59.7). With the unit completely reassembled, plug the AC line cord directly into a 120V AC outlet. With the unit’s AC switch 4. first in the ON position and then OFF, measure the current between a known earth ground (metal water pipe, conduit, etc.) and all exposed metal parts, including: metal cabinets, screwheads and control shafts. The current measured should not exceed 0.5 milliamp. Reverse the power-plug prongs in the AC outlet and repeat the test. 1-1-4. Product Safety Notices Some electrical and mechanical parts have special safetyrelated characteristics which are often not evident from visual inspection. The protection they give may not be obtained by replacing them with components rated for higher voltage, wattage, etc. Parts that have special safety characteristics are identified by on schematics and parts lists. A substitute replacement that does not have the same safety characteristics as the recommended replacement part might create shock, fire and/or other hazards. Product safety is under review continuously and new instructions are issued whenever appropriate. DEVICE UNDER TEST (READING SHOULD) NOT BE ABOVE 0.5mA LEAKAGE CURRENT TESTER TEST ALL EXPOSED METAL SURFACES 2-WIRE CORD *ALSO TEST WITH PLUG REVERSED (USING AC ADAPTER PLUG AS REQUIRED) EARTH GROUND Figure 1-1. Leakage Current Test Circuit 1-2 1. Precautions 1-2. Servicing Precautions WARNING: An electrolytic capacitor installed with the wrong polarity might explode. Caution: Before servicing units covered by this service manual, read and follow the Safety Precautions section of this manual. Note: If unforeseen circumstances create conflict between the following servicing precautions and any of the safety precautions, always follow the safety precautions. 1-2-1 General Servicing Precautions Always unplug the unit’s AC power cord from the AC power source and disconnect the DC Power Jack before 1. attempting to: (a) remove or reinstall any component or assembly, (b) disconnect PCB plugs or connectors, (c) connect a test component in parallel with an electrolytic capacitor. Some components are raised above the printed circuit board for safety. An insulation tube or tape is sometimes 2. used. The internal wiring is sometimes clamped to prevent contact with thermally hot components. Reinstall all such elements to their original position. After servicing, always check that the screws, components and wiring have been correctly reinstalled. Make sure that 3. the area around the serviced part has not been damaged. Check the insulation between the blades of the AC plug and accessible conductive parts (examples: metal panels, 4. input terminals and earphone jacks). Insulation Checking Procedure: Disconnect the power cord from the AC source and turn the power switch ON. 5. Connect an insulation resistance meter (500 V) to theblades of the AC plug. The insulation resistance between each blade of the AC plug and accessible conductive parts (see above) should be greater than 1 megohm. Always connect a test instrument’s ground lead to the instrument chassis ground before connecting the positive lead; 6. always remove the instrument’s ground lead last. 1-3. Static Electricity Precautions Some semiconductor (solid state) devices can be easily damaged by static electricity. Such components are commonly called Electrostatically Sensitive Devices (ESD). Examples of typical ESD are integrated circuits and some field-effect transistors. The following techniques will reduce the incidence of component damage caused by static electricity. Immediately before handling any semiconductor components or assemblies, drain the electrostatic charge from your 1. body by touching a known earth ground. Alternatively, wear a discharging wrist-strap device. To avoid a shock hazard, be sure to remove the wrist strap before applying power to the monitor. After removing an ESD-equipped assembly, place it on a conductive surface such as aluminum foil to prevent 2. accumulation of an electrostatic charge. Do not use freon-propelled chemicals. These can generate electrical charges sufficient to damage ESDs. 3. Use only a grounded-tip soldering iron to solder or desolder ESDs. 4. Use only an anti-static solder removal device. Some solder removal devices not classified as “anti-static” can generate 5. electrical charges sufficient to damage ESDs. Do not remove a replacement ESD from its protective package until you are ready to install it. Most replacement ESDs 6. are packaged with leads that are electrically shorted together by conductive foam, aluminum foil or other conductive materials. Immediately before removing the protective material from the leads of a replacement ESD, touch the protective 7. material to the chassis or circuit assembly into which the device will be installed. Caution: Be sure no power is applied to the chassis or circuit and observe all other safety precautions. Minimize body motions when handling unpackaged replacement ESDs. Motions such as brushing clothes together, 8. or lifting your foot from a carpeted floor can generate enough static electricity to damage an ESD. 1-3 1. Precautions 1-4. Installation Precautions For safety reasons, more than two people are required for carrying the product. 1. Keep the power cord away from any heat emitting devices, as a melted covering may cause fire or electric shock. 2. Do not place the product in areas with poor ventilation such as a bookshelf or closet. The increased internal 3. temperature may cause fire. Bend the external antenna cable when connecting it to the product. This is a measure to protect it from being exposed 4. to moisture. Otherwise, it may cause a fire or electric shock. Make sure to turn the power off and unplug the power cord from the outlet before repositioning the product. Also check 5. the antenna cable or the external connectors if they are fully unplugged. Damage to the cord may cause fire or electric shock. Keep the antenna far away from any high-voltage cables and install it firmly. Contact with the highvoltage cable or the 6. antenna falling over may cause fire or electric shock. When installing the product, leave enough space (10cm) between the product and the wall for ventilation purposes. 7. A rise in temperature within the product may cause fire. 1-4 1. Precautions Memo 2-1 2. Product specifications 2. Product specifications 2-1. Feature & Specifications Feature Model E1720NR / E1720NRX E1920N / E1920NX E1920NR / E1920NRX Brightness(Typical) 250 cd/m2 Response Time(Typical) 5ms Contrast Ratio(Typical) DC 50000:1 (Typ.500:1) Viewing Angle (Horizontal/Vertical) 170˚/160˚ (CR>10) Stand by Power(DPMS) <0.3W Special Features MagicBright3, MagicEco, MagicAngle, Off timer, Image Size, Color Effect,Customized key, Windows Vista Basic Specifications Model E1720NR / E1720NRX E1920N / E1920NX E1920NR / E1920NRX LCD Panel TFT-LCD panel, RGB vertical stripe, normally white transmissive 17”Normal 0.264 mm(H) x 0.264 mm(V) pixel pitch 18.5”Wide 0.3 mm(H) x 0.3 mm(V) pixel pitch 19”Normal 0.294 mm(H) x 0.294 mm(V) pixel pitch Scanning Frequency Horizontal : 30 ~ 81 kHz Vertical : 56 ~ 75 Hz Color Supported 16.7M Resolution 1280 x 1024 1360 x 768 1280 x 1024 Input Signal 17”Normal Analog 18.5” Analog 19”Normal Analog Input Sync. Signal Separate H/V sync, Composite H/V, Sync-on-Green Level:TTL level Maximum Pixel Clock 135 MHz 89 MHz 135 MHz Active Display (Horizontal/Vertical) 337.92(H) x 270.336(V) 409.8(H) x 230.4(V) 376.32(H) x 301.056(V) AC power voltage & Frequency AC 110~130V, 60Hz & AC 200~240V, 50Hz Power consumption Less than 22W Less than 22W Less than 24W Dimension Set (W x H x D) 373.5 x 395.9 x 179.8mm 443.4 x 355 x 179.8mm 417.2 x 426.4 x 179.8mm Weight 3.5Kg 3.45Kg 4.2Kg Environmental Considerations Operating Temperature: 10˚C ~ 40˚C(50˚F ~ 104˚F) Operating Humidity : 10% ~ 80% Operating Temperature: -25˚C ~ 45˚C(-13˚F ~ 113˚F) Operating Humidity: 5% ~ 90% Note: Designs and specifications are subject to change without prior notice. 2-2 2. Product specifications Feature Model E1920NW / E1920NWX E2020N / E2020NX E2220N / E2220NX Brightness(Typical) 300 cd/m2 250 cd/m2 300 cd/m2 Response Time(Typical) 5ms Contrast Ratio(Typical) DC 70000:1 (Typ. 1000:1) DC 50000:1 (Typ. 1000:1) DC 70000:1 (Typ. 1000:1) Viewing Angle (Horizontal/Vertical) 160˚/160˚ (CR>10) 170˚/160˚ (CR>10) Stand by Power(DPMS) <0.3W Special Features MagicBright3, MagicEco, MagicAngle, Off timer, Image Size, Color Effect,Customized key, Windows Vista Basic Specifications Model E1920NW / E1920NWX E2020N / E2020NX E2220N / E2220NX LCD Panel TFT-LCD panel, RGB vertical stripe, normally white transmissive 19”Wide 0.2835 mm(H) x 0.2835 mm(V) pixel pitch 20” Wide 0.2768 mm(H) x 0.2768 mm(V) pixel pitch 21.5” Wide 0.24825 mm(H) x 0.24825 mm(V) pixel pitch Scanning Frequency Horizontal : 30 ~ 81 kHz Vertical : 56 ~ 75 Hz Color Supported 16.7M Resolution 1440 x 900 1600 x 900 1920 x 1080 Input Signal 19” Analog 20” Analog 21.5” Analog Input Sync. Signal Separate H/V sync, Composite H/V, Sync-on-Green Level : TTL level Maximum Pixel Clock 137 MHz 150 MHz 162 MHz Active Display (Horizontal/Vertical) 408.24 mm x 255.15 mm 442.8 mm x 249.075 mm 476.64 mm x 268.11 mm AC power voltage & Frequency AC 110~130V, 60Hz & AC 200~240V, 50Hz Power consumption Less than 39W Less than 28W Less than 50W Dimension Set (W x H x D) 443.0 x 375.0 x 179.8mm 475.1 x 368.95 x 179.8mm 513.2 x 388.5 x 179.8mm Weight 3.6Kg 3.95Kg 4.1Kg Environmental Considerations Operating Temperature: 10˚C ~ 40˚C(50˚F ~ 104˚F) Operating Humidity : 10% ~ 80% Operating Temperature: -25˚C ~ 45˚C(-13˚F ~ 113˚F) Operating Humidity: 5% ~ 90% Note: Designs and specifications are subject to change without prior notice. 2-3 2. Product specifications Feature Model E2220NW Brightness(Typical) 300 cd/m2 Response Time(Typical) 5ms Contrast Ratio(Typical) DC 70000:1 (Typ. 1000:1) Viewing Angle (Horizontal/Vertical) 170˚/160˚ (CR>10) Stand by Power(DPMS) <0.3W Special Features MagicBright3, MagicEco, MagicAngle, Off timer, Image Size, Color Effect,Customized key, Windows Vista Basic Specifications Model E2220NW LCD Panel TFT-LCD panel, RGB vertical stripe, normally white transmissive 22”Wide, 0.282 mm(H) x 0.282 mm(V) pixel pitch Scanning Frequency Horizontal : 30 ~ 81 kHz Vertical : 56 ~ 75 Hz Color Supported 16.7M Resolution 1680 x 1050 Input Signal 22” Analog Input Sync. Signal Separate H/V sync, Composite H/V, Sync-on-Green Level : TTL level Maximum Pixel Clock 146 MHz Active Display (Horizontal/Vertical) 473.76 mm x 296.1 mm AC power voltage & Frequency AC 110~130V, 60Hz & AC 200~240V, 50Hz Power consumption Less than 50W Dimension Set (W x H x D) 510.7 x 421.35 x 179.8mm Weight 4.55Kg Environmental Considerations Operating Temperature: 10˚C ~ 40˚C(50˚F ~ 104˚F) Operating Humidity : 10% ~ 80% Operating Temperature: -25˚C ~ 45˚C(-13˚F ~ 113˚F) Operating Humidity: 5% ~ 90% Note: Designs and specifications are subject to change without prior notice. 2-4 2. Product specifications 2-2. Spec Comparison to the Old Models Model E1720NR/ E1720NRX/ E1920N/ E1920NX/ E1920NR/ E1920NRX/ E1920NW/ E1920NWX/ E2020N/ E2020NX/ E2220N/ E2220NX/ E2220NW 743A/943SN/943N/943NW 2043SN/2243SN/2243NW Design Resolution 1280 x 1024 (E1720NR/E1920NR) 1360 x 768 (E1920N) 1440 x 900 (E1920NW) 1600 x 900 (E2020N) 1920 x 1080 (E2220N) 1680 x 1050 (E2220NW) 1280 x 1024 (743A/943N) 1360 x 768 (943SN) 1440 x 900 (943NW) 1600 x 900 (2043SN) 1920 x 1080 (2243SN) 1680 x 1050 (2243NW) Input Analog Analog Response Time 5ms 5ms Viewing Angle 160˚/160˚ (CR>10) (E1920NW) 170˚/ 160˚ (CR>10) (E1720NR/E1920N/E1920NR E2020N/E2220N/E2220NW) 160˚/160˚ (CR>10) (943NW) 170˚/ 160˚ (CR>10) (743A/943SN/943N 2043SN/2243SN/2243NW) Brightness 250 m² (E1720NR/E1920N/E1920NR/E2020N) 300 m² (E1920NW/E2220N/E2220NW) 250 m² (743A/943SN/943N/2043SN) 300 m² (943NW/2243SN/2243NW) Contrast 50,000:1(DC) (E1720NR/E1920N/E1920NR/E2020N) 70,000:1(DC) (E1920NW/E2220N/E2220NW) 50,000:1(DC) (743A/943SN/943N/2043SN) 70,000:1(DC) (943NW/2243SN/2243NW) MagicBright 5 Step 7 Step 2-5 2. Product specifications Model E1720NR/ E1720NRX/ E1920N/ E1920NX/ E1920NR/ E1920NRX/ E1920NW/ E1920NWX/ E2020N/ E2020NX/ E2220N/ E2220NX/ E2220NW 743A/943SN/943N/943NW 2043SN/2243SN/2243NW Feature MagicBright3 MagicEco MagicAngle Off timer Image Size Color Effect MagicBright3 Off timer Image Size Color Effect *Color Effect - Grey scale: Images are displayed in a grey tone on the screen. - Green: Images are displayed in a green tone on the screen. - Aqua: Images are displayed in a blue tone on the screen. - Sepia: Images are displayed in a brown tone on the screen. Image Size : If the resolution is not wide resolution, this option allows the screen size to be selected as normal or wide. *MagicAngle - Lean Back Mode1: Select when viewing from a slightly lower angle. - Lean Back Mode2: Select when viewing from the bottom. - Standing Mode: Select when viewing from the top. - Side Mode: Select when viewing from the left or right. - Custom: When is selected, settings for is applied by default. User can set suitable picture quality as needed. *MagicEco - 100%: the power consumption is 100% of Default Setting. - 75%: the power consumption is 75% of Default Setting. - 50%: the power consumption is 50% of Default Setting. 2-6 2. Product specifications 2-3. Accessories Product Description Ccde. No Remark Quick Setup Guide BN68-02508A Samsung Electronics Service center Warranty Card (Not available in all locations) BN68-00226R User’s Guide, Monitor Driver, Natural Color Pro Software BN59-00990A D-sub Cable 1,500mm(1.5M) BN39-00244H Power Cord 1,830mm(1.8M) 3903-000452 Cleaning Cloth 160mm x 120mm (option for high-glossy Models) BN63-02368B � ����� � ���� � �� ���� ���� ���� ����� ����� ���� ���� ���� ����� ��� ��������� ����������� � ���������������� ������� �������� ��� ���� ����� ���� ������ ���� ������� ��� ���� ���� ���� ������ ���� ��������� ��� ���� ���� ���� ������ ���� ��������� � ������� ������� �������� ��� ���� ���� ���� ������ ���� ������� ��� ���� ����� ���� ������ ���� ��������� ��� ���� ����� ���� ������ ���� �������� � � ��� �������� ���������� � � ��� ������ � �������� ��������� �������� ��� �������� ���� �� ����� ��������� ���� ���� ��� �������� � ��� �������� � � � � ����� ��� � � ������������ � � � � � � � � � � � � � � � � � � � � � � � � � � � � � � ����� ���� ��� ����� ����� ����� ������ � � ��� ������������� ������ ��� ������ � ������ ������������� ������ ��� ���� � ��� �� ����� �� ����� � ��� �� �������������� � ��������� ������������������� � ��� � ��� � �� ����������� � �� �� �� �� ����� ������ � � � ��� �� ��� � � ��� ���� ���� � �� �� �� ����� ������� ������������ ������������ ��������� � �� �� �� ����� ������� ������������ ������ ��������������� � �� � ��������� ������������ � ����� � ���� ����� ��������� ��������� ��������� ���������� � � � � � ����� ���� ����� ������� ������� ������� �������� ��� ��� ��� ���� ��� ��� ��� ������ � ������ � ��� ��� ���� �� ��� ��� ������� ��� ����� ������� � ��� ���� ������������ � ����������������� �� �� � ��� � ��� � �� ����������� � �� ���������� ���� ����� � �� ���� ������ � �� �� ��� ���� ���� � ���� ������ ����� ���� ������ ���������� � �� �� �� ����� ������ �������������� ��������� � �� �� ��� ��������� ������ ��� ���������� � � ����������� � �� �� �� ����� ������ �� ����� ��� �� �� �� ������������� ��� � �� ����������� �� ��������� � ����� � ���� ������� ��������� ��������� ��������� ���������� � � ����� ���� � � � � ����� � ���� ������� ������������ ������������ ������������ ������������� � � ����� ���� ����������� ������� ������� �������� � ����� �������� ��� � �� ������ ������� � ������� � � �� �� ���� ����������� ���������������� ���������� � � � ���� ��������� ���� �� �������������� � ��������������� ������������ � � � � � ����� � ���� ����� �� �� �� ��� ����� ������ ������ ������ ������� � ������������� � ��������������� � � ����������������� � � ���������� � � ��������� �� � � ��� � � � � � � � �� �� � � � � � � � � � � ��� �� � � � � � � � � � � ������ � �� � �� � ����� � � � � � ����� � �������������� � �� �� ������ � � ��� �� ������� � � ����������� ��� ���� � � ��������������� � � ����������� ����� � � � �� �������� � � �������������������� ������ �� ��� ����� ��� �� � � ����������� ���� � � � �������� � � ������ �� ��� � � ��������� ��� ���� � � � � � ������ ���� � � � � � ����� ����� ������������ ������ ������ ������� �� ������� ���� ��� ����� ��� �������� � � ���� ��� ��� ���������� � � ����������� � � � ��������� ��� �� � � ������������� ��������� � ������� � � ���������������� ������������� � �� ������������ ������� � � � � � ����� � � ������� ��������� ��� ������ � ����� ��� ����� ���� � �� ���� �� � ��� ����� ���� � � � � � � � � � � � � � � � � � ����� � ����� �������� �������� � � � � � � � � � � � � � � � � � ������ � ����� �������������� � � � �� ����� ���� � ��������� � � � � � � � � � � � � � � � � � � � � � � � � � � � � � � � � � � � � � � � � � � � � � � � � � � � � � ������ �� � ����� ����� � �� �� ��� ��� � � � � � � � � � � � � � � � � � �� ��� ��� �������� ������ ������������ � �������� � ���� ��� �� � � ������������������� � ������������� � � � � � � � � � � � � � � � � � �������������� � �������� ������� ��������� � � ����� � ����� � � ��� ��� ��� � �� ���������� ������� � ��� �� ��� ��� � � � � � � � � � � � � � � � � ��������� ���� ������������� ��� �� ����� �� ����� � � � � � � � � � � � ����� ����� � � �������� � � � � � � � � � � � � � � � � � � � �� ��� ���� ������ � �� � � � � ����� � ����� � � ������ � � � � � � � � � � � � � � � � � � � ��������� �������� � � � ����� ����� � ���� 6-1 6. Wiring Diagram 6. Wiring Diagram 6-1. Wiring Diagram - Main Board E1720NR / E1720NRX / E1920NR / E1920NRX / E1920NW / E1920NWX / E2020N / E2020NX / E2220N / E2220NX / E2220NW 6-2 6. Wiring Diagram E1920N / E1920NX 6-3 6. Wiring Diagram NO Block Role Description Remarks 1 Scaler IC200 The ADC, TMDS, Scaling and Controller are integrated on a single chip. SE919LM-NT 2 FLASH MEMORY IC401 Stores the firmware for the Scaler. The information can be updated. 3 EEPROM IC402 Stores the OSD, Timing etc. NVRAM 24C08 4 EEPROM IC202 Stores the EDID data. 24C02 5 Regulator IC601, IC602 The IC for a stable DC power supply. S-1172B33-U5T1G S-1172B18-U5T1G 6-4 6. Wiring Diagram 6-2. Wiring Diagram - IP Board IP board CN400 IC400 CN600 CN200 CN401 LVDS Connector (Connect to Panel) RGB Connector (Connect to PC) Function Connector (Connect to IP-Board) 6-5 6. Wiring Diagram 6-3. Connector Functions Connector Functions CN802  CN600 Supplies 5V from the power board to the main board and transmits the PWM output from the power board to the inverter. *When a problem occurs: The No Power and Blank Screen errors may occur. CN1 ~ CN4 In Transmits the lamp current (6mA ~ 7mA) generated in the inverter to the lamp of the panel. * When a problem occurs: The Blank Screen error may occur. CN200 VGA signal input terminal * When a problem occurs: The No RGB output error may occur. CN400 Transmits the LVDS signals from the main board to the panel. * When a problem occurs: The Blank screen and No Power errors may occur. 6-4. Cables Use LVDS 30P FFC cable Code BN96-02854X(E1720NR/ E1720NRX) Photo Code BN96-02854W (E1920N/ E1920NX/E1920NW/ E1920NWX/E2020N/ E2020NX) Photo Code BN96-02854Y(E1920NR/ E1920NRX/ E2220N/ E2220NX) Photo Code BN96-12447G(E2220NW) Photo 6-6 6. Wiring Diagram Memo

标签:

版权声明

1. 本站所有素材,仅限学习交流,仅展示部分内容,如需查看完整内容,请下载原文件。
2. 会员在本站下载的所有素材,只拥有使用权,著作权归原作者所有。
3. 所有素材,未经合法授权,请勿用于商业用途,会员不得以任何形式发布、传播、复制、转售该素材,否则一律封号处理。
4. 如果素材损害你的权益请联系客服QQ:77594475 处理。