飞利浦107E5显示器原理图

分类:电子电工 日期: 点击:0
飞利浦107E5显示器原理图-0 飞利浦107E5显示器原理图-1 飞利浦107E5显示器原理图-2 飞利浦107E5显示器原理图-3 飞利浦107E5显示器原理图-4 飞利浦107E5显示器原理图-5 飞利浦107E5显示器原理图-6 飞利浦107E5显示器原理图-7 飞利浦107E5显示器原理图-8

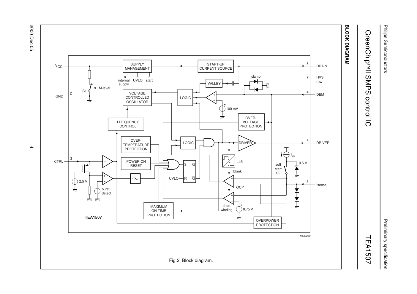
Buffers Output Color Hi Z Input Buffers DC Offset IIC Interface Vblank OSD All Blocks Attenuator Bias to Hblank (PLL) (Gain) Attenuator (ABL) Contrast Auto Beam Limit Amp Switch Video DC Restoration Synchronization + Phase Locked Loop On Screen Display H & V Blanking PLL DACs (OSD) C 10 P 24 O 21 20 15 16 6706 D11 6707 E11 6708 C11 6709 D11 6710 G12 6711 H12 6712 H14 6713 H14 7301 B4 7701 B9 7702 D9 8301 C7 8302 C4 S001 D15 S002 D14 8 7 K L 17 R P All rights reserved. Reproduction in whole or in parts toestemming van de auteursrechthebbende. 8 7 E 14 12 E B M 19 28 5706 D12 5707 D14 5708 H15 6314 E4 6701 D11 6702 E11 6703 B11 6704 C11 6705 C11 M 11 28 C F N 6 1 20 15 12 gedeeltelijk, is niet toegestaan dan met schriftelijke O N T Q D S S 19 20 4 3712 D14 3713 H15 4701 D9 5301 D4 5701 A8 5703 D10 5704 C10 5705 D10 21 4 T 13 5 O 18 owner. A Alle rechten voorbehouden. Verveelvuldiging, geheel of 14 25 3310 D8 3311 D4 3312 D4 3313 E3 3314 E4 3315 B7 3316 D8 3701 D10 3702 D11 3703 E11 3704 C10 3705 C11 3706 C11 3707 C10 3708 D11 3709 D11 3710 H13 3711 E14 R Q M 11 A 14 27 D 26 27 16 18 N 2709 E12 2710 H13 2711 C11 2712 C12 2713 D11 2714 D12 2715 D13 2716 E14 2717 D15 2718 I14 3301 C2 3302 C2 3303 B2 3304 B2 3305 C2 3306 C2 3307 B4 3308 C4 3309 C4 B P 9 13 is prohibited without the written consent of the copyright 1 24 L 3 13 2301 C3 2302 C3 2303 B3 2304 B4 2305 C4 2306 C3 2307 D3 2309 C7 2311 C7 2312 C7 2314 E8 2315 E8 2316 E9 2317 E10 2318 E10 2319 E10 2321 E9 2701 B8 2 K 22 C 26 25 24 2702 B9 2703 B9 2704 B9 2708 D11 1711-C D15 1711-D B13 1711-E C13 1711-F D13 1711-G B13 1711-H D15 1711-I D13 1712 E14 1714 G15 1715-A D14 1715-B C13 1715-C D14 1715-D B13 1715-E C13 1715-F C13 1715-G B13 1715-H D15 1715-I D13 9 J 4 6 O 28 18 H 21 21 3 C F21 G15 F22 G15 F23 H15 F24 H15 F25 H15 F26 H15 F27 H15 F28 H15 F29 A12 1301 B2 1703 A13 1711-A D14 1711-B C13 J 26 25 G 23 H G 13 G H D E P 3 K 23 F9 C12 F10 C12 F11 D13 F12 D13 F13 D14 F14 E15 F15 D15 F16 D15 F17 G15 F18 G15 F19 G15 F20 G15 E D B 17 1 H N 10 11 12 17 I E F F 19 18 2 12 Q R S 23 8 6 7 8 9 10 11 12 13 14 15 16 17 5 2 11 F C B F L I 10 T 15 16 A 14 1 15 25 20 9 9 I J 6 5 1 2 3 4 5 K L 27 26 27 28 G 5 6 7 8 J I B C D E F G H I J K L F1 B2 F2 B2 F3 C2 F4 C2 F5 C2 F6 C2 F7 B12 F8 B12 10 4 24 23 M 3 19 22 17 22 160 1u 2711 R S 22 7 16 2 T Q I J L A 5706 1SS133 47R 3705 50 2304 100n 6701 2309 50 2u2 6710 1SS133 1SS133 6711 F18 50 2710 2n2 3710 1K5 9 F20 0u47 5705 100n 2702 50 1715-E 25 47u 2701 +83 1K 3316 50 2302 100n 100n 2703 100 3315 2K2 100n 2715 50 100 47u 2704 5707 F14 50 10u 2307 F23 +5A F22 2303 50 F24 100n F12 F13 JFE63931 1703 1 3304 33R 3707 100R GND 5 VBB 8 VCC 4 Vin1 9 Vin2 7 Vin3 6 Vout1 1 Vout2 2 Vout3 3 B 7701 LM2469 2713 1u 160 5701 3702 47R 5708 1 Vcc_Digital 18 Vref_CAP 2 Vref_Rext 3 100n 2306 100 3309 6K2 DAC3 14 DAC4 13 GND0 4 GND1 17 Green_In 7 Green_out 19 H_FBK 24 PLL_Filter 9 PLL_GND 8 PLL_Vcc 10 Red_In 6 Red_out 20 SCL 12 SDA 11 V_Flyback 7301 LM1237 ABL 22 Blue_In 5 Blue_Out 21 Clamp 23 DAC1 16 DAC2 15 F25 F27 1715-H 12 F6 F7 F10 F11 13 1711-F 10 1711-A 5 1711-I 6314 1SS133 F5 3310 4K7 C 3708 47R 3713 18K 47K 100n 2314 50 DSP-201M-D04F 2709 3709 6702 1SS133 +83 +83 B +83 +12A 100 2319 100n F17 0u47 5703 2708 1u 160 3701 100R F9 F1 16 100u 2312 1715-C 7 1715-I 13 3307 4K7 F3 1715-F 10 1715-D 8 100R 3704 330p 2716 500 15K 3712 Bbias_in 3 Bbias_out 6 GND 4 Gbias_in 2 Gbias_out 7 Rbias_in 1 Rbias_out 8 Vcc 5 A 7702 LM2480 5704 0u47 3303 75R 1 2 3 4 5 6 50 2315 100n +5A 1301 JFE635V F26 +5A +83 6705 1SS133 2321 3308 10K 1 10 11 12 2 3 4 5 6 7 8 9 100 10u F2 +83 JFE626H 1714 C 3302 75R 100n 2311 50 100R 3312 3311 100R 8302 1 1SS133 6713 SB140 F28 6708 11 10 220u 2718 1715-G 8301 1 3711 47R Sparkgap 1.0 mm S002 100n 2301 50 F15 1SS133 6704 33R 3305 1SS133 6707 2n2 2305 50 1715-B 6 +5A 1711-C 7 F19 1711-H 12 3301 75R 5301 F16 Sparkgap 1.8 mm +83 +12A S001 U 4701 F29 3306 33R +83 F4 **-**-** ******** ******** **-**-** * * 130 * * * * **-**-** **-**-** **-**-** **-**-** **-**-** **-**-** A1 VIDEO BOARD 107E5 3313 10K 3138 103 57211 CHECK DATE NAME * SUPERS. * CLASS_NO CHN SETNAME ******** 1 ****** 1 02-07-24 KONINKLIJKE PHILIPS ELECTRONICS N.V. 2000 Ivy Su 8 1711-G 11 1711-B 6 1711-D 47K 3706 1711-E 9 6706 1SS133 1715-A 5 F21 F8 1SS133 6709 10n 2717 2000 1 +83 6712 RGP10D 1712 3703 47K 100n 2316 50 DSP-201M-D04F 2714 3314 4K7 2712 DSP-201M-D04F 100n 2318 100 100 2317 100n A 1SS133 6703 F1 F2 G2 EHT +t C POWER AMPLIFIER _ + FLYBACK GENERATOR THERMAL PROTECTION /PWM7 /HOUT /VOUT /PWM13 /PWM12 /PWM11 /PWM10 /PWM9 /PWM8 /SCL1 /SAD1 /AD0 /AD1 /AD2 /CLAMP /3V3 /HFI /HFO /SDA2 /SCL2 /PAT /SOGIN /AD3 /PWM4 /PWM5 /PWM6 COM F603 E18 F604 F18 F605 F18 F606 F18 F607 F18 F608 F18 F609 G18 F610 G18 F611 H18 F612 I18 F613 F21 F614 H21 F615 H21 F801 L2 F802 L2 F803 L2 F804 L2 F124 L17 F125 M17 F126 M17 F127 N17 F128 N17 F129 N17 F130 N18 F401 O9 F402 P9 F403 B15 F404 B14 F405 K9 F406 K10 F501 G2 F502 G2 F503 G2 F504 G2 1/2W 28 (R) 16 12 F505 H2 F506 H2 F507 H2 F508 H2 F509 H2 F510 H2 F511 H2 F601 I17 F602 E18 +350V A 9102 K19 F101 J11 F102 K11 F103 J12 F104 K12 F105 J13 F106 K13 F107 K16 F108 K16 F109 L16 F110 M16 F111 M16 F112 N17 F113 K15 F114 L11 1/2W S F115 L11 F116 M13 F117 L15 F118 L14 F119 J17 F120 K17 F121 K17 F122 K17 F123 L17 4 M 1/2W is prohibited without the written consent of the copyright 3W 7604 F12 7605 C13 7606 B17 7607 B17 7608 B19 7609 B20 7610 D18 7611 D19 7612 D20 7613 E13 7614 F13 7615 F15 7616 G17 7801 H4 7802 I2 7803 K3 9101 L19 24 1% 1% toestemming van de auteursrechthebbende. 1% 6801 L6 6802 M6 6803 M7 6804 M7 6805 M7 7101 M15 7102 M13 7103 N11 7105 O16 7151 M20 7152 N19 7153 N21 7154 P19 7155 P17 7401 P8 7402 K8 7403 J9 7404 K9 7501 B6 7502 C2 7601 D10 7602 E11 7603 E11 A 2 1% 1/4W +58V 1/4W G P 6402 D3 6501 C2 6502 C2 6503 C2 6504 C3 6505 C3 6506 C8 6507 F8 6601 D10 6602 B11 6603 C12 6605 C14 6606 B16 6607 C16 6608 C18 6609 C20 6610 C21 6611 F16 6612 G17 6613 H17 6615 H21 P 1/2W gedeeltelijk, is niet toegestaan dan met schriftelijke 26 7 VR37 11 R K 5611 E15 5612 I18 6101 K15 6102 M16 6103 N16 6104 N14 6105 O14 6106 M11 6151 K18 6152 K19 6153 K19 6154 L19 6155 L19 6156 M20 6157 M21 6158 M19 6159 O20 6160 P19 6161 P17 6162 M18 6401 N7 23 6 1% R 1% 8 (R) 17 27 4602 H14 4603 F14 4604 B20 5101 K12 5151 K21 5152 K21 5153 L21 5154 L21 5155 N20 5156 J17 5501 C8 5601 C12 5602 C12 5603 B14 5604 C14 5605 D14 5606 C15 5607 C15 5608 A16 5609 C17 5610 E18 L T H 1/2W VR37 I 1% 1% 3809 K5 3810 J5 3811 K5 3812 K6 3813 K6 3814 L6 3816 K6 3817 L6 3818 L6 3819 L2 3820 L3 3821 K3 3822 K2 3823 H6 3824 H6 3825 L3 4101 L15 4401 P6 4601 H15 1/2W VR37 1/2W 15 Alle rechten voorbehouden. Verveelvuldiging, geheel of Q 3647 I21 3648 I21 3649 I21 3650 J21 3651 J21 3652 I21 3653 I22 3654 H17 3655 C17 3656 C18 3657 C20 3801 H3 3802 I3 3803 I3 3804 I2 3805 J2 3806 K2 3807 H6 3808 H6 B D 24 23 1/4W 1% B 13 K 3628 D19 3629 C21 3630 C20 3631 D21 3632 F13 3633 E14 3634 F14 3635 F14 3636 F15 3637 F16 3638 F16 3639 H18 3640 G16 3641 G16 3642 G16 3643 G17 3644 G17 3645 H22 3646 H22 1/2W Q C 5 13 M 1/4W 1% 3609 E12 3610 D11 3611 D12 3613 E10 3614 E11 3615 E12 3616 D15 3617 B16 3618 A18 3619 B18 3620 B17 3621 B16 3622 D17 3623 C18 3624 C18 3625 D18 3626 C19 3627 C19 E 22 1% 14 S F 1 O DDCSDA 2W 3514 E4 3515 F4 3516 F4 3517 F6 3520 B7 3521 C7 3522 C7 3523 D7 3524 D7 3525 F5 3601 C9 3602 C9 3603 D10 3604 C10 3605 B10 3606 C10 3607 C12 3608 D13 18 H-yoke 18 DDC5V 1/4W 1/2W 27 3410 P9 3411 K8 3412 J8 3413 K8 3414 K9 3415 O6 3416 D3 3501 B2 3502 C2 3503 D2 3504 C2 3505 C3 3506 C3 3507 B5 3508 C5 3509 D5 3510 D5 3512 E5 3513 E5 Hin 21 N 1/2W 20 C 3153 K20 3154 M21 3155 P17 3156 P17 3157 O18 3158 O19 3159 O19 3160 O19 3161 P18 3162 P18 3163 P20 3164 O20 3165 P18 3401 N7 3402 O6 3403 O6 3404 P7 3405 K9 3406 P8 3407 O9 3408 P8 3409 P8 1/2W 25 +160V 1/2W 1/2W 9 T 4 All rights reserved. Reproduction in whole or in parts 2811 L3 2812 L4 3101 K12 3102 K12 3103 K16 3104 M15 3105 N14 3106 N15 3107 N15 3108 N15 3109 N15 3110 N14 3111 O14 3112 O14 3113 N12 3114 N10 3115 K15 3116 L12 3151 J18 3152 K19 1/2W 540V~-170V selftest 26 12 1/2W 19 1/2W 5 17 GND 2625 G17 2626 G15 2627 E14 2628 F16 2629 F16 2630 H17 2631 I21 2632 B18 2633 B17 2801 I3 2802 I3 2803 I3 2804 J3 2805 H5 2806 H6 2807 K6 2808 J6 2809 K6 2810 M6 5W 14 I 15 1/2W 2607 C13 2608 B14 2609 E16 2610 C14 2611 B15 2612 B16 2613 C16 2614 D15 2615 B17 2616 C16 2617 C17 2618 B17 2619 B20 2620 D16 2621 C17 2622 C19 2623 C20 2624 I17 1/2W -200V 1/2W V-yoke 16 2W 21 2506 D5 2507 D5 2509 E5 2510 E5 2511 E4 2512 F5 2513 C7 2514 D7 2515 D7 2516 E7 2517 E7 2518 F8 2601 C9 2602 C11 2603 B11 2605 E10 2606 E12 25 1/2W 28 E 1% 10 F D H 2163 O21 2164 M21 2165 M21 2166 M18 2401 N6 2402 N7 2403 O6 2404 P7 2405 P6 2406 P7 2408 O8 2409 K8 2410 D3 2501 B5 2502 C5 2503 C5 2504 C5 2505 D5 11 L G J 20 22 2104 K14 2105 K15 2106 L11 2107 K16 2108 M16 2109 N15 2110 M12 2111 N12 2112 N17 2113 N14 2114 N11 2151 J18 2152 K18 2153 K20 2154 L20 2155 M20 2156 N20 2157 O19 2158 O19 2159 O19 2160 O20 2161 P17 2162 P20 N 10 O 6 7 H I J K L N P A B C D E F G H I J K L M 1/2W 2 2W DDCSCL 1 3 7 8 9 10 11 12 13 14 15 16 17 18 19 20 21 22 23 24 A B C D E F +1200V 1% 1/2W +1200V 2W 5 6 7 8 9 10 11 12 13 14 15 16 17 18 19 20 21 22 23 24 1 2 3 4 (R) 1% 1/2W 9 owner. 5 6 O P Q 1101 L10 1102 J11 1103 M12 1105-A L11 1105-B L11 1109 B14 1112 I14 1113 I14 1114 I14 1401 J10 1501 G1 1601-A B15 1601-C O9 1601-D P9 1602 I17 1801 I4 1802 L8 1803 L2 2101 K12 2102 K12 2103 K14 1% J 1 2 3 4 (R) F805 L7 F806 L7 F807 L7 F808 L7 F809 L7 F810 L7 F811 L7 S001 F21 Vin 8 3 19 N 100R 3817 R 4602 16 1000u 2155 MTZ J 5.6B 6805 2518 47n 100 F510 L 4101 F508 F509 10K 3114 1n 2806 50 1602 49386 1 7612 BC548C 10K 3164 620K 3110 1113 1 1114 1 680R 3601 12 7403 BC517 F807 4604 U F406 F806 15R 3405 1105-B 3 50 22u 2114 4601 L 50 2512 100p Vcc 29 Veht 18 Vfocus 32 21 Vgnd Voscf 19 Vout 23 Vref 13 Vsync 2 Xray 25 1K 3517 Hflyb 12 Hgnd 7 Hmoire 11 4 Hoscf Hout 26 HposSS 10 Hsync 1 PLL1f 9 PLL2C 5 Ro 8 SCL 30 SDA 31 Vagc 20 Vblnk 3 Vcap 22 7501 STV6888(TDA9112) Bcomp 14 Bout 28 Breg 15 Bsens 16 Co 6 EWout 24 GND 27 Heht 17 MTZ J 5.6B 6505 2620 22R 3634 3616 10R 2000 100p F405 2504 100 1n F810 F811 F808 F809 3650 50 2805 47p 220K 1SS133 6106 500 2617 2n2 50 1u 2622 5101 1 4 3 2 3626 47K 7616 MPSA44 6804 MTZ J 5.6B F403 +12 F511 F114 F115 F112 F113 F126 1R 3636 7404 BC516 1601-D JFE63935 4 3654 4M7 3506 100R +12 3609 33K 56R 3522 100p 2158 500 2625 5n6 1000 2164 47u 16 3802 4K7 5501 1n 2403 50 2K2 3403 2402 47u 50 9102 5602 U 4401 390R 3617 3653 220K +12 BC338-40 7151 F103 F610 F102 56R 3521 F101 50 2631 100n 270K 3647 3810 1K2 270R 3819 3822 47K 3821 12K 6162 RGP10D 2166 10u 1SS133 6503 6161 BZX79-C7V5 470R 3105 F106 +5 F105 50 2510 31DF4-FC5 6151 3818 100R 1n 100 2611 10n 4K7 3161 2629 33u 250 15R 3112 3163 15K 5154 TL431 7155 A 2 K 1 R 3 F802 +5 RGP10J 6613 3102 470K 3652 6802 MTZ J 5.6B 50 2601 100n 560K +6 2630 10u 250 9101 400 2618 270n F122 Sparkgap 1.8 mm S001 F120 F121 F119 2153 47u 160 150K 3153 F129 F127 F128 2u2 50 2807 1K 3113 F108 6153 BYV36C F612 F107 F104 F611 1601-C JFE63935 3 F606 F604 F605 +12 5153 5612 RGP10D 6507 220K 3649 2621 1u 50 3627 10K G1 1K 3515 100R 3602 +5 2626 4u7 16 47R 3507 2803 22p RGP10G 6608 +12 2802 100u 16 50 BYV27-50 6603 F803 F804 1101 4 5 2 GND L 1 N 3 3505 82K AC-INLET 3501 3K3 3806 100R F402 F130 F401 47u 2162 25 F607 1K5 3637 F124 100 2109 470n 330n 2408 100 F123 3406 1R 2409 2u2 50 2K2 3404 7610 BC548C 22K 3614 5605 +5 7601 BSN254A 50 2605 22n 47R 3155 2151 6157 BZX79-B8V2 2614 3u3 63 R47 3109 6156 RGP10D CTRL 3 DEMAG 4 8 DRAIN DRIVER 6 GND 2 NC 7 SENSE 5 VCC 1 RGP10D 6158 3508 470R 7102 TEA1507 7152 BT169B 1 A 2 G 3 K 2401 470u 16 47K 3103 47K 3623 +12 -12 6160 1SS133 SSS7N60B 7101 2R2 3408 SRW16ES-T19V003 5609 W1 1 W3 3 W4 4 W5 5 W6 6 +6 10n 2161 100 47K 3629 +12 50 4u7 2506 6615 1SS133 +12 2509 16 47u SDT112DM 1 2 3 4 BYD33J 6102 1103 22K 3635 4K7 3646 22p 2804 50 3639 1R 4n7 2613 250 BF423 7502 2808 50 2u2 F125 2513 100u 7402 BC548C 2505 2405 50 1n 4K7 3804 100 10n 1 3633 2R2 1601-A BC558C 7603 F111 +12 F109 F110 1 2 3 4 220R 3613 1803 JFE63173 5606 3m7 -178 50 2615 100n 8K2 3606 MTZ J 5.6B 6803 1K 3160 470u 16 3104 15R 2404 100 2410 15n TTC05501JIA 3410 2507 4u7 50 470R 3156 20R 3621 50 4u7 2163 560R 3809 470K 3101 250 2107 10n 6101 GBP308H 7103 BC338-40 47K 3641 7 22R 3604 RGP10G 6610 61246 1802 1 2 3 4 5 6 3K9 3415 +83 IRF640B 7607 3K3 3801 7609 IRF630B 43K 3525 3516 4K7 1SS244 6606 7613 BC338-40 7614 1 4 3 2 BC338-40 -12 7105 TCET1103G 400 100u 2105 +50 220K BC548 7803 +6 3651 1 2 3 2 3 4 5 JFE63172 1401 3520 54A-8074 5608 4K7 3510 50 100p 2501 50 2810 100n 1SS133 6502 100K 3157 82K 3513 1 11 14 16 2 3 4 5 6 7 8 9 3401 PHFQ-02 5610 1K 3644 2R2 2n2 2104 250 5604 6402 1SS133 BYV27-100 6155 10K 3416 4K7 3812 3813 4K7 160 47u 2152 2517 3807 100R 2516 100 470n 16 47u 4K7 3803 6501 1SS133 5R6 3618 100n 2812 50 4K7 3814 50 2809 3411 8K2 +12 +12 2u2 6506 1SS133 2 3503 62K RGP15K 6612 3413 10K 2K2 3412 6105 1SS133 10K 3624 1K 3154 5152 10K 3603 2106 2113 1K 3414 1SS133 6104 DGC2 3116 3409 2R4 10R 3816 7602 BC548C 5155 10n 2503 100 3823 4K7 4K3 3509 MC78L05ACP 7153 2 GND 1 IN 3 OUT +6 180K 3638 3151 2627 47u 16 DATE NAME * SUPERS. * CLASS_NO CHN SETNAME ******** 1 ****** 1 ******** ****-**-** KONINKLIJKE PHILIPS ELECTRONICS N.V. 2000 **** *** ***** CT **-**-** ******** ******** **-**-** * * RGP10G 6152 *** ** *** * * * * **-**-** **-**-** **-**-** **-**-** **-**-** **-**-** A1 **** TITLE **** 107E5 3138.103.57201 CHECK MGr 3648 220K 100 2406 22n 500 2628 220p F507 G1 275 2101 680n 3655 150K 100R 3808 TIP122 7604 120R 3605 RGP10G 6602 7154 BC548C 3811 10K F805 F615 F603 3108 R47 F614 16 1R5 3107 BC548C 7611 2801 10u 1K5 3632 3825 2K2 100K 3524 39K 3611 22K 3631 1SS133 6601 3502 39K IRF630B 7608 1105-A 1 100R 3619 4n7 2112 2156 470u 16 2159 6801 SB140 2514 100n 8 9 275 2102 680n 1000 2108 100p 1 10 11 12 2 3 4 5 6 7 330K 3111 JFE635V 1501 EGP30G 6611 2502 100 100n 7606 BC338-40 2154 1000u 16 3512 100K 3152 IRF630 7615 18K 3165 12M 2511 50 100n F609 61S1208 1801 1112 1 F608 +12 12K 3402 F506 630 2610 5n6 F505 1 3 4 2 50 2606 470p 2602 10u 160 5601 VALUE 2603 4u7 100 500 2624 100p 22n 2616 250 7401 TDA8172 FBgen 3 GND 4 Output 5 Vb 6 Vin1 1 Vin7 7 Vs 2 F504 5607 130uH F502 F503 F501 22K 3820 +50 -178 8K2 3610 50 1u 2165 16 2 3 4 5 6 7 8 9 PT-000137 5156 1 10 12 14 SCK104 3115 3620 5R6 6609 RGP10G 6154 SB140 3504 2K2 2111 27n F602 12 F601 820n 2619 250 +5 U 4603 3657 150K 150K 3656 T4AH 1102 250V +83 100 2157 5n6 1K8 3640 100K +6 +83 5603 3622 DMV32F5 6605 1600 2608 4n7 1SS133 6159 3805 250 2612 4n7 3643 430K 100R 9K1 3514 6103 RGP10D 2623 1u 50 7605 BU2522AF 2K2 3158 2110 47u 25 6504 1SS133 2160 4700u 10 F117 F118 6607 1SS244 F116 1 E0 2 E1 3 E2 6 SCL 5 SDA 8 VCC 4 VSS 7 WC 250 2103 2n2 7802 M24C04-BN6 1R2 3607 680n 2633 250 3K 3615 5611 130uH 5151 19 PC5 18 PC6 17 PC7 33 PD0 34 PD1 35 PD2 36 PD3 37 PD4 38 PD5 4 PWM0 3 PWM1 2 PWM2 39 PWM3 5 RESET 6 VDD 41 VIN PA3 29 PA4 30 PA5 31 PA6 32 PA7 15 PB0 14 PB1 13 PB2 12 PB3 11 PB4 10 PB5 24 PC0 23 PC1 22 PC2 21 PC3 20 PC4 1 D+ 42 D- 7 GND 40 HIN 16 IRQ 9 OSCI 8 OSCO 25 PA0 26 PA1 27 PA2 28 4K7 3824 WT62P1 7801 3645 4K7 3642 4M7 2515 100 150n F613 F404 F801 BYV27-100 6401 50 2811 100n 3608 560R 3162 +12 150n 2607 100 10R 14K 200n 2632 250 2609 47u 3523 G1 5 G2 6 1 2 3 4 270R 3407 1109 SS019P1230AJ 3K9 3159 56K 3106 10K 3630 22K 3625 3628 22K +12 Vout SCL SDA ABL Vref ABL Subsize Mute Subsize 5Vsense Vfly Vfly 5Vsense Vref Degauss off Vfly Hflb clamp VidABL Rotation Hflb Lin SCL SDA Vref Vout Q2 Q1 Q3 clamp degauss off Mute Q3 Q2 Q1 Rotation Lin SCL SDA Vref VidABL LM1237 150 MHz I2C Compatible RGB Preamplifier with Internal 254 Character OSD and 4 DACs General Description The LM1237 pre-amp is an integrated CMOS CRT preamp. It has an I2C compatible interface which allows control of all the parameters necessary to directly setup and adjust the gain and contrast in the CRT display. Brightness and bias can be controlled through the DAC outputs which are well matched to the LM2479 and LM2480 integrated bias clamp ICs. The LM1237 preamp is also designed to be compatible with the LM246x high gain driver family. Black level clamping of the video signal is carried out directly on the AC coupled input signal into the high impedance preamplifier input, thus eliminating the need for additional clamp capacitors. Horizontal and vertical blanking of the outputs is provided. Vertical blanking is optional and its duration is register programmable. The IC is packaged in an industry standard 24 lead DIP molded plastic package. Features n I2C compatible microcontroller interface n Internal 254 character OSD usable as either (a) 190 2-color plus 64 4-color characters, (b) 318 2-color characters, or (c) some combination in between. n OSD override allows OSD messages to override video and the use of burn-in screens with no video input n 4 DAC outputs (8-bit resolution) for bus controlled CRT bias and brightness n Spot killer which blanks the video outputs when VCC falls below the specified threshold n Suitable for use with discrete or integrated clamp, with software configurable brightness mixer n H and V blanking (V blanking is optional and has register programmable width) n Power Saving Mode with 80% power reduction n Matched to LM246x driver and LM2479/80 drivers Applications n Low end 15" and 17" bus controlled monitors with OSD n 1024x768 displays up to 85 Hz requiring OSD capability n Very low cost systems with LM246x driver Block and Connection Diagram 20023401 FIGURE 1. Order Number LM1237AAF/NA See NS Package Number N24D September 2002 LM1237 150 MHz I2C Compatible RGB Preamplifier with Internal 254 Character OSD and 4 DACs © 2002 National Semiconductor Corporation DS200234 www.national.com LM2469 Monolothic Triple 9nS High Gain CRT Driver General Description The LM2469 is an integrated high voltage CRT driver circuit designed for use in color monitor applications. The IC con- tains three high input impedance wide band amplifiers, which directly drive the RGB cathodes of a CRT. Each channel has its gain internally set to -20 and can drive CRT capacitive loads as well as resistive loads present in other applications, limited only by the package’s power dissipation. The IC is packaged in an industry standard 9 lead TO-220 molded plastic package. Features n Higher gain to match LM126X CMOS preamplifiers n 0V to 3.75V input range n Stable with 0-20pF capacitive loads and inductive peaking networks n Maintains standard LM243X Family Pinout which is designed for easy PCB layout n Convenient TO-220 staggered 9 lead package style Applications n Up to 1024 X 768 at 70Hz n Pixel clock frequencies up to 75MHz n Monitors using video blanking Schematic Diagram Connection Diagram DS200006-1 FIGURE 1. Simplified Schematic Diagram (One Channel) DS200006-2 Note: Tab is at GND. FIGURE 2. Top View Order Number: LM2469TA NS package Number: TA09A October 2000 LM2469 Monolothic Triple 9nS High Gain CRT Driver © 2000 National Semiconductor Corporation DS200006 www.national.com LM2480 80V Triple Bias Clamp General Description The LM2480 driver is an Integrated 80V triple bias clamp circuit for DC recovery of each of the AC coupled outputs of a CRT driver. It is well matched with the DAC outputs of the LM126X family of pre-amplifiers. Each amplifier has its gain internally set to -18. The IC is packaged in an industry standard 8 lead molded DIP package. Features n Wide range integrated triple bias clamp n High input impedance n Single supply operation n Matched to the LM126X family of preamplifiers Recommended Applications n CRT monitors requiring DC restoration at the cathodes Block Diagrams Package Pinout DS200083-1 FIGURE 1. Simplified Schematic (One Channel) DS200083-2 FIGURE 2. LM2480 Package Pinout Order Number LM2480NA NS Package Number: N08E December 2000 LM2480 80V Triple Bias Clamp © 2000 National Semiconductor Corporation DS200083 www.national.com TDA9112 5/49 2 - BLOCK DIAGRAM TDA9112 Horizontal VCO Phase/frequency comparator Horizontal position Lock detection PLL1 V-sync detection Input selection Polarity handling Vertical oscillator with AGC S-correction C-correction PLL2 Phase comparator Phase shifter H duty controller Pin cushion asymm. Parallelogram Top corner asymm. Bottom corner asymm. Hor. duty cycle H-drive buffer HV-dynamic correction (focus,brightness) HVDyCor V-amplitude HVDyCor H-amplitude HVDyCor H-symmetry H-moiré controller H-moiré amplitude V-sync extraction & detection Geometry tracking V-dynamic correction (focus, bright.) VDyCor amplitude H-sync detection Polarity handling V-blank H-lock 3 HLckVBk Safety processor 25 XRay 11 HVDyCor 32 VDyCor 19 VOscF 21 VGND 2 VSyn 27 GND 26 HOut 5 HPLL2C 12 HFly 4 HOscF 6 C0 8 R0 9 HPLL1F 10 HPosF 7 HGND H/HVSyn 1 I2C Bus interface 31 SDA SCL 30 Supply supervision Reference generation 13 RefOut 29 Vcc I2C Bus registers B+ DC/DC converter controller B+ ref. 28 BOut 16 BIsense 15 BRegIn 14 BComp VAGCCap 20 22 VCap V-ramp control Tracking EHT Vertical size Vertical position Vertical moiré 18 VEHTIn 23 VOut 17 HEHTIn EW generator Pin cushion Keystone Top corners Bottom corners 24 EWOut Internal ref. : Functions controlled via I2C Bus H size TDA9112 6/49 3 - PIN FUNCTION REFERENCE Pin Name Function 1 H/HVSyn TTL compatible Horizontal / Horizontal and Vertical Sync. input 2 VSyn TTL compatible Vertical Sync. input 3 HLckVBk Horizontal PLL1 Lock detection and Vertical early Blanking composite output 4 HOscF High Horizontal Oscillator sawtooth threshold level Filter input 5 HPLL2C Horizontal PLL2 loop Capacitive filter input 6 CO Horizontal Oscillator Capacitor input 7 HGND Horizontal section GrouND 8 RO Horizontal Oscillator Resistor input 9 HPLL1F Horizontal PLL1 loop Filter input 10 HPosF Horizontal Position Filter and soft-start time constant capacitor input 11 HVDyCor Horizontal and Vertical Dynamic Correction output 12 HFly Horizontal Flyback input 13 RefOut Reference voltage Output 14 BComp B+ DC/DC error amplifier (Comparator) output 15 BRegIn Regulation feedback Input of the B+ DC/DC converter controller 16 BISense B+ DC/DC converter current (I) Sense input 17 HEHTIn Input for compensation of Horizontal amplitude versus EHT variation 18 VEHTIn Input for compensation of Vertical amplitude versus EHT variation 19 VOscF Vertical Oscillator sawtooth low threshold Filter (capacitor to be connected to VGND) 20 VAGCCap Input for storage Capacitor for Automatic Gain Control loop in Vertical oscillator 21 VGND Vertical section GrouND 22 VCap Vertical sawtooth generator Capacitor 23 VOut Vertical deflection drive Output for a DC-coupled output stage 24 EWOut E/W Output 25 XRay X-Ray protection input 26 HOut Horizontal drive Output 27 GND Main GrouND 28 BOut B+ DC/DC converter controller Output 29 Vcc Supply voltage 30 SCL I2C bus Serial CLock Input 31 SDA I2C bus Serial DAta input/output 32 VDyCor Vertical Dynamic Correction output 2000 Dec 05 5 Philips Semiconductors Preliminary specification GreenChipII SMPS control IC TEA1507 PINNING SYMBOL PIN DESCRIPTION VCC 1 supply voltage GND 2 ground CTRL 3 control input DEM 4 input from auxiliary winding for demagnetization timing, OVP and OPP Isense 5 programmable current sense input DRIVER 6 gate driver output HVS 7 high voltage safety spacer, not connected DRAIN 8 drain of external MOS switch, input for start-up current and valley sensing handbook, halfpage MGU231 TEA1507 1 2 3 4 VCC GND CTRL DEM DRAIN HVS DRIVER Isense 8 7 6 5 Fig.3 Pin configuration. FUNCTIONAL DESCRIPTION The TEA1507 is the controller of a compact flyback converter, with the IC situated at the primary side. An auxiliary winding of the transformer provides demagnetization detection and powers the IC after start-up. The TEA1507 operates in multi modes. The next converter stroke is started only after demagnetization of the transformer current (zero current switching), while the drain voltage has reached the lowest voltage to prevent switching losses (green function). The primary resonant circuit of primary inductance and drain capacitor ensures this quasi-resonant operation. The design can be optimized in such a way that zero voltage switching can be reached over almost the universal mains range. To prevent very high frequency operation at lower loads, the quasi-resonant operation changes smoothly in fixed frequency PWM control. At very low power (standby) levels, the frequency is controlled down, via the VCO, to a minimum frequency of about 6 kHz. Typically, 3 Watts can be achieved for a 75 W converter with an output power of 100 mW. Start-up, mains enabling operation level and undervoltage lock out (see Figs. 10 and 11) Initially, the IC is self supplying from the rectified mains voltage via pin DRAIN. Supply capacitor CVCC is charged by the internal start-up current source to a level of about 4 V or higher, depending on the drain voltage. Once the drain voltage exceeds the M-level (mains-dependent operation-enabling level), the start-up current source will continue charging capacitor CVCC (switch S1 will be opened), see Fig.2. The IC will activate the power converter as soon as the voltage on pin VCC passes the VCC(start) level. The IC supply is taken over by the auxiliary winding as soon as the output voltage reaches its intended level and the IC supply from the mains voltage is subsequently stopped for high efficiency operation (green function). The moment the voltage on pin VCC drops below the VUVLO (undervoltage lock out) level, the IC stops switching and enters a safe restart from the rectified mains voltage. Inhibiting the auxiliary supply by external means causes the converter to operate in a stable, well-defined burst mode. Supply management All (internal) reference voltages are derived from a temperature compensated, on-chip band gap circuit. handbook, halfpage VCO fixed quasi resonant power MGU232 f 6 kHz 175 kHz Fig.4 Multi mode operation. 2000 Dec 05 4 Philips Semiconductors Preliminary specification GreenChipII SMPS control IC TEA1507 This text is here in white to force landscape pages to be rotated correctly when browsing through the pdf in the Acrobat reader.This text is here in _white to force landscape pages to be rotated correctly when browsing through the pdf in the Acrobat reader.This text is here inThis text is here in white to force landscape pages to be rotated correctly when browsing through the pdf in the Acrobat reader. white to force landscape pages to be ... BLOCK DIAGRAM andbook, full pagewidth SUPPLY MANAGEMENT internal supply UVLO start M-level VCC 1 2 3 GND S1 CTRL FREQUENCY CONTROL VOLTAGE CONTROLLED OSCILLATOR LOGIC LOGIC OVER- VOLTAGE PROTECTION OVERPOWER PROTECTION short winding soft start S2 OVER- TEMPERATURE PROTECTION S Q R UVLO Q MAXIMUM ON-TIME PROTECTION POWER-ON RESET −1 VALLEY TEA1507 100 mV clamp DRIVER START-UP CURRENT SOURCE 0.75 V 0.5 V 5 Isense 6 DRIVER MGU230 4 DEM 8 DRAIN 7 HVS n.c. OCP LEB blank Iss 2.5 V burst detect Fig.2 Block diagram.

标签:

版权声明

1. 本站所有素材,仅限学习交流,仅展示部分内容,如需查看完整内容,请下载原文件。
2. 会员在本站下载的所有素材,只拥有使用权,著作权归原作者所有。
3. 所有素材,未经合法授权,请勿用于商业用途,会员不得以任何形式发布、传播、复制、转售该素材,否则一律封号处理。
4. 如果素材损害你的权益请联系客服QQ:77594475 处理。