TCL LA560A-1液晶显示器维修手册和原理图

分类:电子电工 日期: 点击:0
TCL LA560A-1液晶显示器维修手册和原理图-0 TCL LA560A-1液晶显示器维修手册和原理图-1 TCL LA560A-1液晶显示器维修手册和原理图-2 TCL LA560A-1液晶显示器维修手册和原理图-3 TCL LA560A-1液晶显示器维修手册和原理图-4 TCL LA560A-1液晶显示器维修手册和原理图-5 TCL LA560A-1液晶显示器维修手册和原理图-6 TCL LA560A-1液晶显示器维修手册和原理图-7 TCL LA560A-1液晶显示器维修手册和原理图-8 TCL LA560A-1液晶显示器维修手册和原理图-9

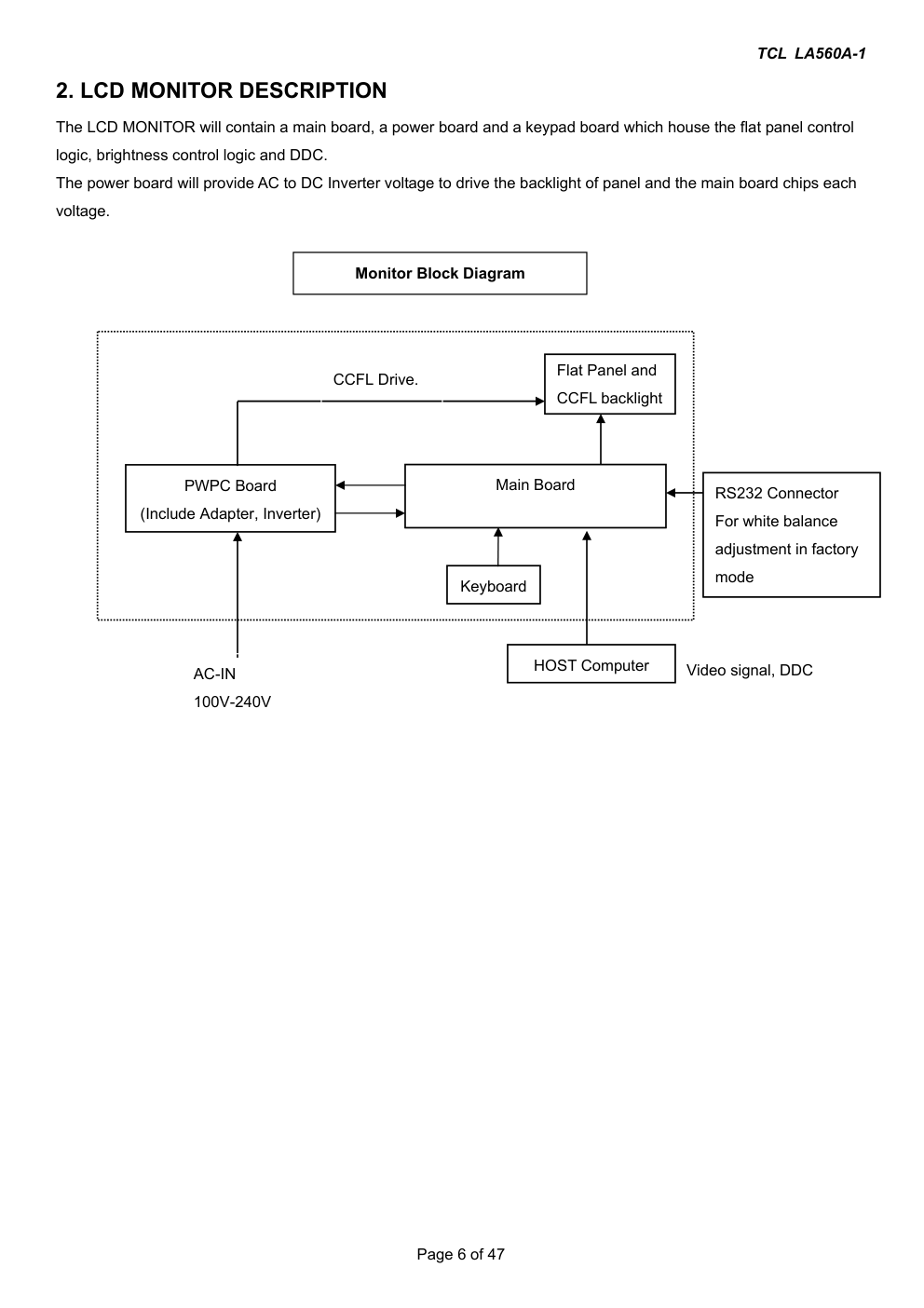
TCL LA560A-1 Page 1 of 47 SERVICE MANUAL TCL MONITOR LA560A-1 THESE DOCUMENTS ARE FOR REPAIR SERVICE INFORMATION ONLY.EVERY REASONABLE EFFORT HAS BEEN MADE TO ENSURE THE ACCURACY OF THIS MANUAL; WE CANNOT GUARANTEE THE ACCURACY OFTHIS INFORMATION AFTER THE DATE OF PUBLICATION AND DISCLAIMS RELIABILITY FOR CHANGES, ERRORS OR OMISSIONS. MANUFACTURE DATA :Mar-30-2005 TCL LA560A-1 Page 2 of 47 Table Contents TABLE CONTENTS......................................................................................................................................................... 2 REVISION LIST ............................................................................................................................................................... 4 1. MONITOR SPECIFICATIONS ..................................................................................................................................... 5 2. LCD MONITOR DESCRIPTION .................................................................................................................................. 6 3. OPERATING INSTRUCTIONS.................................................................................................................................... 7 3.1 GENERAL INSTRUCTIONS................................................................................................................................... 7 3.2 CONTROL BUTTON............................................................................................................................................... 7 3.3 ADJUSTING THE PICTURE................................................................................................................................... 7 4. INPUT/OUTPUT SPECFICATION............................................................................................................................... 9 4.1 INPUT SIGNAL CONNECTOR ............................................................................................................................... 9 4.2 FACTORY PRESET DISPLAY MODES: ............................................................................................................ 10 4.3 POWER SUPPLY FEATURES ................................................................................................................................. 10 4.4 PANEL SPECIFICATION ...................................................................................................................................... 10 4.4.1 General Description ....................................................................................................................................... 10 4.4.2 DISPLAYS CHARACTERISTICS....................................................................................................................11 4.4.3 OPTICAL CHARACTERISTICS......................................................................................................................11 4.4.4 Backlight unit.................................................................................................................................................. 12 5. BLOCK DIAGRAM .................................................................................................................................................... 13 5.1 SOFTWARE FLOW CHART ................................................................................................................................. 13 5.2 MONITOR EXPLODED VIEWING ...................................................................................................................... 14 5.3 ELECTRICAL BLOCK DIAGRAM....................................................................................................................... 145 5.3.1 SCALAR BOARD BLOCK DIAGRAM............................................................................................................ 15 5.3.2 INVERTER/POWER BOARD BLOCK DIAGRAM ......................................................................................... 16 6.SCHEMATIC ............................................................................................................................................................... 18 6.1 MAIN BOARD ....................................................................................................................................................... 18 6.2 POWER BOARD................................................................................................................................................... 24 7. PCB LAYOUT ............................................................................................................................................................ 26 7.1 MAIN BOARD ....................................................................................................................................................... 26 7.2 POWER BOARD....................................................................................................................................................... 26 8. MAINTAINABILITY.................................................................................................................................................... 27 8.1 EQUIPMENT AND TOOLS REQUIREMENT........................................................................................................ 27 8.2 TROUBLE SHOOTING......................................................................................................................................... 28 8.2.1 MAIN BOARD ................................................................................................................................................ 29 8.2.2 KEYPAD BOARD........................................................................................................................................... 31 8.2.3 POWER/INVERTER BOARD ........................................................................................................................ 32 TCL LA560A-1 Page 3 of 47 9 WHITE-BALANCE, LUMINANCE ADJUSTMENT .................................................................................................... 34 10. EDID CONTENT ...................................................................................................................................................... 35 11. BOM LIST ................................................................................................................................................................ 36 TCL LA560A-1 Page 4 of 47 Revision List Revision Date Change Description TCL LA560A-1 Page 5 of 47 1. MONITOR SPECIFICATIONS Monitor Modes TCL LA560A-1 Type 15.0”TFT MAX DISPLAY AREA 304.128mm×228.096mm(W×H) MAX RESOLUTION 1024×768(W×H) DOT PITCH 0.099mm×0.297mm(W×H) PIXEL PITCH 0.297mm×0.297mm(W×H) COLOUR 16,777,216 (6Bit) VIEWING ANGLE UP/ DOWN 40°/ 60° LEFT/ RIGHT 60°/ 60° CONTRAST 400:1 BRIGHTNESS 250cd/m2 RESPONSE TIEM 25ms HORIZONTAL FREQUENCY 30~60kHz VERTICAL FREQUENCY 55~75 Hz INPUT SIGNAL RBG ANALOG(D-sub15) Signal Standard VESA DPMS Drug & play VESA DDC2B Picture control OSD Power Consumption Max 25W(in save modes less than 3W) Power AC220V Weight 3kg Dimension 356mm×150mm×355mm(W×D×H) Operating temperature 5℃~35℃ Operating humidity 10%~85% Storing temperature -20℃~60℃ Storing humidity 5%~85% TCL LA560A-1 Page 6 of 47 2. LCD MONITOR DESCRIPTION The LCD MONITOR will contain a main board, a power board and a keypad board which house the flat panel control logic, brightness control logic and DDC. The power board will provide AC to DC Inverter voltage to drive the backlight of panel and the main board chips each voltage. Video signal, DDC PWPC Board (Include Adapter, Inverter) Flat Panel and CCFL backlight Main Board Keyboard RS232 Connector For white balance adjustment in factory mode HOST Computer CCFL Drive. AC-IN 100V-240V Monitor Block Diagram TCL LA560A-1 Page 7 of 47 3. OPERATING INSTRUCTIONS 3.1 GENERAL INSTRUCTIONS Press the power button to turn the monitor on or off. The other control buttons are located at the front of the monitor. By changing these settings, the picture can be adjusted to your personal preferences. - The power cord should be connected. - Connect the video cable from the monitor to the video card. - Press the power button to turn on the monitor, the power indicator will light up. 3.2 CONTROL BUTTON Item Description ① AUTO/EXIT ・Auto configuration (contains CLOCK,PHASE,H POSITION,V POSITION) ・Exit OSD or back to previous menu ② ・Brightness ・< ・Hot key to Brightness Adjust ・Move the cursor to left or Decrease value ③ ・Contrast ・> ・Hot key to Contrast Adjust ・Move the cursor to right or Increase value ④ MENU ・Enter the OSD main menu ・Select Function or select Sub menu ⑤ ・LED Indication ・indicate the condition of power ⑥ ・Power ・Turn the monitor ON or OFF 3.3 ADJUSTING THE PICTURE ① ② ③ ④ ⑤ TCL LA560A-1 Page 8 of 47 The description for control function: Item Sub items Description Contrast Adjust the screen Contrast。 Luminance Brightness Adjust the screen Brightness。 Focus Adjust Picture Phase to reduce Horizontal-Line noise Image Setup Clock Adjust picture Clock to reduce Vertical-Line noise H. Position Adjust the horizontal position of the picture Image Position V. Position Adjust the vertical position of the picture N/A Warm Recall Warm Color Temperature from EEPROM N/A Cool Recall Cool Color Temperature from EEPROM Color Temp N/A User Red Gain from Digital-register. Auto Config N/A Auto Config Auto configuration contains Clock、Focus、 H. Position、V. Position H. Position Adjust the horizontal position of the OSD. V. Position Adjust the vertical position of the OSD. OSD Setup OSD Timeout Adjust the OSD timeout. Language N/A Language OSD language selection Information N/A Information Show the resolution, H/V frequency and input port of current input timing. Reset N/A Reset Reset to the factory preset mode Exit N/A Exit Set and save and then quit the OSD TCL LA560A-1 Page 9 of 47 4. INPUT/OUTPUT SPECFICATION 4.1 INPUT SIGNAL CONNECTOR PIN NO. DESCRIPTION PI N NO. DESCRIPTION 1. Red Video 9. +5 v 2. Green Video 10. Logic Ground 3. Blue Video 11. RS-232 RX 4. RS-232 TX 12. DDC-Serial Data 5. DDC-Return 13. H-Sync. 6. Red Ground 14. V-Sync. 7. Green Ground 15. DDC-Serial Clock 8. Blue Ground VGA Connector layout 1 5 6 10 11 15 TCL LA560A-1 Page 10 of 47 4.2 FACTORY PRESET DISPLAY MODES: VESA MODES Mode Resolution Total Horizontal Frequency +/- 0.5kHz Vertical Frequency +/- 1 Hz Nominal Pixel Clock (MHz) 640x480@60Hz 800 x 525 31.469 59.940 25.175 640x480@72Hz 832 x 520 37.861 72.809 31.500 VGA 640x480@75Hz 840 x 500 37.500 75.00 31.500 800x600@56Hz 1024 x 625 35.156 56.250 36.000 800x600@60Hz 1056 x 628 37.879 60.317 40.000 800x600@72Hz 1040 x 666 48.077 72.188 50.000 SVGA 800x600@75Hz 1056x625 46.875 75.000 49.500 1024x768@60Hz 1344x806 48.363 60.004 65.000 1024x768@70Hz 1328x806 56.476 70.069 75.000 XGA 1024x768@75Hz 1312x800 60.023 75.029 78.750 IBM MODES Mode Resolution Total Horizontal Frequency +/- 0.5kHz Vertical Frequency +/- 1 Hz Nominal Pixel Clock (MHz) DOS 720x400@70Hz 900 x 449 31.469 70.087 28.322 DOS 640x350@70Hz 800 x 449 31.469 70.087 25.175 XGA 1024x768@72Hz 1304x798 57.515 72.100 75.000 MAC MODES VGA 640x480@67Hz 864x525 35.000 66.667 30.240 SVGA 832x624@75Hz 1152x667 49.725 74.551 57.2832 XGA 1024x768@75Hz 1328x804 60.241 74.927 80.000 4.3 POWER SUPPLY Features A/C Line voltage range : 100 V ~ 240 V A/C Line frequency range : 50 ± 3Hz, 60 ± 3Hz Current : 0.6A max. at 100V , 0.35A max. at 240 V <0.3A Peak surge current : < 55A peak at 240 VAC and cold starting Leakage current : < 3.5mA 4.4 PANEL SPECIFICATION 4.4.1 General Description TCL LA560A-1 Page 11 of 47 4.4.2 DISPLAYS CHARACTERISTICS The following items are characteristics summary on the table under 25 ℃ condition: 4.4.3 OPTICAL CHARACTERISTICS The optical characteristics are measured under the conditions as follows: Ta=25℃, Vcc=3.3V, IBL=7.5mArms/lamp, Display mode: XGA, Horizontal cycle=48.363KHz, Vertical cycle=60.000Hz. TCL LA560A-1 Page 12 of 47 4.4.4 Backlight unit TCL LA560A-1 Page 13 of 47 5. BLOCK DIAGRAM 5.1 SOFTWARE FLOW CHART (1) (2) (3) (4) (5) (7) (6) (8) (10) (11) (12) (9) Y N Y N 1) Initialize MCU settings, including I/O, Timer, ISR and Serial Port settings. 2) Read EEPROM content to recover monitor settings, including brightness, contrast, color temperature and OSD position etc. 3) Initialize system variable, including system flag, OSD timeout counter, burin mode status… etc. 4) Initialize OSD menu variable for user operation 5) Initialize device on the board, now only MST scalar chip will be initialized 6) Check if system is in power off status from first AC power up. If yes, then go to 7, else go to 8. 7) If yes, system will be forced to enter power off status Mode detection 8) Check if input timing has been changed, if yes then go to 10, else go to 11 9) Setup MST scalar for display according input timing 10) OSD handler for OSD operation. 11) Debug handler, only debug only BU1527 Page 14 of 47 5.2 Monitor Exploded Viewing BU1527 Page 15 of 47 5.3 ELECTRICAL BLOCK DIAGRAM 5.3.1 SCALAR BOARD BLOCK DIAGRAM LCD Interface (LVDS) Scalar TSU16AK-LF (Include ADC,OSD) MCU W78E65P-40 OSD Control Interface (Keypad) D-Sub Connector EEPROM RXD TXD RGB DB15_SDA DB15_SCL Crystal 14.31818 MHz Crystal 24MHz TCL LA560A-1 Page 17 of 47 5.3.2 INVERTER/POWER BOARD BLOCK DIAGRAM Inverter Block Diagram TCL LA560A-1 Page 18 of 47 Power Block Diagram TCL LA560A-1 Page 19 of 47 6. SCHEMATIC 6.1 MAIN BOARD B1 3.INPUT RIN GIN BIN VSYNC GNDR GNDG GNDB ST_DET1 HSYNC SOG DDC_CLK DDC_DAT ST_DET2 R+ R- G- G+ B+ B- CLK+ CLK- TXD RXD VCC2.5 VAA1 VAA2 VCC2.5 VLCD B3 6.MCU onBACKLITE ST_DET2 onPANEL_5V/3.3V SDA INT CSZ DDC_DAT ST_DET1 SCL HWRESET DDC_CLK Volume VCC5V VCC12V VCPU RXD TXD AD0 AD1 AD2 AD3 VCC3.3 VLCD VCPU VAA3 B5 5.PANEL INTERFACE VLCD PB[0..9] PA[0..9] PB[0..9] VCPU VAA3 VAA1 PA[0..9] VCC12V VCC5V VAA4 VAA4 B2 4.SCALER RIN GIN SOG BIN GNDR GNDG GNDB HSYNC VSYNC R+ R- G- G+ B+ B- CLK+ CLK- CSZ SCL SDA HWRESET INT Volume AdjBACKLITE PA[0..9] PB[0..9] VCC2.5 VCC3.3 VAA1 VAA2 VAA3 VAA4 AD0 AD1 AD2 AD3 VCC3.3 VAA2 VCC5V B4 2.POWER onPanel_5V/3.3V onBACKLITE AdjBACKLITE VCC3.3 VCC2.5 VAA1 VAA2 VAA3 VAA4 VCC5V VCC12V VLCD VCPU VCC12V TCL LA560A-1 Page 20 of 47 VCC2.5 Q204 PMBS3904 3 2 1 C212 0.1uF VCC5V R206 10K 1/16W   VCC3.3 ON_OFF VCC5V+ GND VCC12V R216 4.7K 1/16W   + C202 220uF/25V SOT-252 VCC5V+ C216 0.1uF TO-263 VAA3 VAA1 4 VCC12V U202 AIC1084-33M 3 1 2 VIN ADJ VOUT VCC12V 6 C217 0.068uF VCC3.3 AdjBACKLITE 4 VCC5V Q203 AO3401 DIM C210 0.1uF Q201 PMBS3904 3 2 1 onBACKLITE 6 VCC5V R204 10K 1/16W   GND D201 SS14 R203 1K 1/16W   GND onPanel_5V/3.3V 6 U201 RT9164 3 2 1 VI VO GND VAA1 R210 NC VCPU R208 10K 1/16W   VCPU 6 C207 0.1uF VLCD NEW Circuit R202 10K 1/16W   VCC2.5 4 Q202 PMBS3904 3 2 1 R211 10K 1/16W   R215 100K 1/16W   CN201 CONN 2 4 6 8 10 12 1 3 5 7 9 11 VAA3 4 VCC12V VCC5V R209 0 1/16W   + C211 47uF/16V VCC5V R213 NC D202 GS1D VCC5V C205 0.1uF VCC3.3 4 FB201 600 OHM C201 0.1uF VCC12V R214 delete GND VAA2 4 VCC5V R201 4.7K 1/16W   VCC5V R205 4.7K 1/16W   VAA2 C203 0.1uF C214 0.1uF R212 4.7K 1/16W   VCC5V+ + C208 100uF/16V VAA4 4 C B E + C215 47uF/16V VCC5V 3,4,6 VLCD 5 C B E VAA4 C206 1uF/25V + C204 220uF/25V GND GND R207 4.7K 1/16W   Brightness TCL LA560A-1 Page 21 of 47 DVI5V R327 75 1/16W   D311 BAV99 3 1 2 R309 100 1/16W   DAT_DDC2 R317 10K 1/16W   C314 0.1uF RIN 4 B- 4 R312 100 1/16W   VCC5V VSI C312 220pF C310 0.047uF R308 10K 1/16W   D303 BAV99 3 1 2 C311 33pF D313 BAV99 3 1 2 G+ 4 R326 75 1/16W   DVI5V R315 100 1/16W   D312 BAV99 3 1 2 D301 BAV99 3 1 2 ST_DET2 6 D305 BAV70 1 2 3 PC5V FB304 150 OHM R306 100 1/16W   R303 100 1/16W   D314 LL5232B 5.6V 5% D320 TZMC5V6-GS08 C308 0.047uF CN301 DB15 1 6 2 7 3 8 4 9 5 11 12 13 14 15 10 CN302 JACK 1 2 3 4 5 6 7 8 25 28 9 10 11 12 13 14 15 16 26 29 17 18 19 20 21 22 23 24 27 DAT2- DAT2+ 2/4shield DAT4- DAT4+ DDC SCL DDC SDA VSYNC R HSYNC DAT1- DAT1+ 1/3shield DAT3- DAT3+ +5V SYNC GND HPD G RGB GND DAT0- DAT0+ 0/5shield DAT5- DAT5+ clk shield clk+ clk- B D318 TZMC5V6-GS08 TXD 6 R324 10K 1/16W   C301 NC R325 75 1/16W   R307 100 1/16W   R301 100 1/16W   D309 BAV99 3 1 2 R- 4 FB301 0 1/16W   R319 100 1/16W   U301 M24C02WMN6 1 2 3 4 5 6 7 8 A0 A1 A2 GND SDA SCL WP VCC R+ 4 C305 0.047uF D315 LL5232B 5.6V 5% R302 100 1/16W   GIN 4 PC5V VSYNC 4 R322 100 1/16W   D323 TZMC5V6-GS08 D308 BAV99 3 1 2 D317 TZMC5V6-GS08 D310 BAV99 3 1 2 GNDR 4 C313 0.1uF R320 100 1/16W   R304 470 1/16W   HSYNC 4 D322 TZMC5V6-GS08 BIN 4 VCC5V R311 1K 1/16W   VGA_CON VCC5V R323 10K 1/16W   C302 NC RXD 6 G- 4 C303 NC C304 0.047uF VCC5V DDC_DAT 6 C309 0.047uF R316 100 1/16W   R321 10K 1/16W   D302 BAV99 3 1 2 U302 M24C02WMN6 1 2 3 4 5 6 7 8 A0 A1 A2 GND SDA SCL WP VCC C315 0.1uF D319 TZMC5V6-GS08 DAT_DDC VCC5V DDC_CLK 6 D304 BAV70 1 2 3 D321 TZMC5V6-GS08 FB303 0 1/16W   D306 BAV99 3 1 2 CLK+ 4 CLK_DDC D316 LL5232B 5.6V 5% C307 0.001uF R314 10K 1/16W   GNDB 4 R305 100 1/16W   D307 BAV99 3 1 2 SOG 4 HSI C306 0.047uF B+ 4 R318 10K 1/16W   R310 1K 1/16W   FB302 0 1/16W   R313 2.2K 1/16W   CLK_DDC2 ST_DET1 6 GNDG 4 CLK- 4 TCL LA560A-1 Page 22 of 47 VCC3.3 PB6 R405 10K 1/16W   + C424 10uF/16V C408 0.1uF VAA1 3-WIRE GIN 3 B+ 3 PA6 R404 10K 1/16W   VDPLL PB7 VAA4 2 4.7K AD3 6 CLK- 3 PA7 VDD VPO PA[0..9] VCC5V R402 100 1/16W   C412 0.1uF X401 14.318MHz HSYNC 3 R402 VDVI FB405 600 OHM + C419 10uF/16V PB0 PB8 + C422 10uF/16V VAA2 2 AD0 6 VPLL Direct Bus PB3 C404 0.1uF C425 0.1uF C401 0.1uF PA2 C409 0.1uF C403 22pF BIN 3 VAD FB403 600 OHM VAA3 2 CSZ 6 4.7K + C427 10uF/16V PA5 C402 22pF VAD R406 10K 1/16W   PA8 C406 0.1uF CLK+ 3 G- 3 VSYNC 3 C423 0.1uF PB1 VCC3.3 Volume 6 C407 0.1uF PB4 + C405 10uF/16V FB402 600 OHM C418 0.1uF R401 NC PA1 B- 3 VDVI C411 0.1uF FB404 600 OHM R- 3 GNDG 3 PA0 VDVI C413 0.1uF VAA4 G+ 3 VPLL FB406 600 OHM PB9 C428 0.1uF AD1 6 VCC2.5 R+ 3 VCC3.3 2 PA3 C420 0.1uF PB[0..9] 5 VDD R407 10K 1/16W   VAA3 + C414 10uF/16V GNDR 3 C417 0.1uF PB5 C415 0.1uF C426 0.1uF VAA1 2 PA[0..9] 5 NC U401 MST8031/8131 63 60 61 58 62 59 57 37 38 40 41 43 44 46 47 49 50 52 66 67 69 70 71 32 72 73 74 107 55 35 45 3 51 11 21 84 94 104 114 126 18 87 97 117 39 56 36 2 54 42 10 20 85 95 115 127 19 86 96 105 116 33 34 108 109 110 111 112 113 118 119 120 121 122 123 124 125 128 1 29 28 30 31 53 65 64 48 106 103 102 68 77 78 6 RIN0 GIN0 SOGIN0 BIN0 RIN0M GIN0M BIN0M HSYNC0 VSYNC0 R+ R- G+ G- B+ B- CK+ CK- REXT REFP REFM CSZ SDA SCL HWRESETZ INT PWM0 PWM1 LVACKM AVDD AVDD_MPLL AVDD_DVI BYPASS AVDD_DVI VDDP VDDP VDDP VDDP VDDP VDDP VDDP VDDC VDDC VDDC VDDC AVSS_DVI AVSS AVSS_MPLL AVSS_LPLL AVSS_PLL AVSS_DVI GNDP GNDP GNDP GNDP GNDP GNDP GNDC GNDC GNDC GNDP GNDC XIN XOUT LVA2P LVA2M LVA1P LVA1M LVA0P LVA0M NC/LVB3P NC/LVB3M NC/LVBCKP NC/LVBCKM NC/LVB2P NC/LVB2M NC/LVB1P NC/LVB1M NC/LVB0P NC/LVB0M DDC1_CLK/GPO8 DDC1_DAT/GPO7 ADO/NC AD3/NC AVDD_PLL AVDD AVSS AVSS_DVI LVACKP LVA3M LVA3P AVSS AD1/NC AD2/NC BUS TYPE/NC RIN 3 VCC2.5 2 SCL 6 PB[0..9] SCALER D MST8031/ MST8131 for AOC B 4 6 Wednesday, April 14, 2004 Title Size Document Number Rev Date: Sheet of AD2 6 NC AdjBACKLITE 2 VPO R403 390 1/16W   PA9 VDPLL GNDB 3 PA4 INT 6 SOG 3 C410 0.1uF FB401 600 OHM C416 0.1uF R401 HWRESET 6 VAA2 PB2 C421 0.1uF SDA 6 TCL LA560A-1 Page 23 of 47 PB8 PA[0..9] 4 LVA3P LVA3P PB0 LVA2P LVB2P VLCD 2 RXOC- PA2 LVA0P RXO3+ PB6 LVB3M RXO3- LVB0P LVA1M LVB3P VLCD LVBCKP LVB1P PB1 LVB0M LVA3M PB3 PB5 LVBCKP PB[0..9] 4 LVACKP LVA2M RXEC+ PB9 RXO1+ LVA0P LVA2M LVA0M PA5 PA8 RXE2- RXOC+ PA0 LVB3P RXE0- LVBCKM PA7 LVB1M LVACKM PB4 RXE0+ PA3 RXO2+ PA4 C510 0.1uF LVA2P LVACKM LVB2M RXO0+ PA9 RXEC- PB[0..9] CN503 CONN 2 4 6 8 10 12 14 16 18 20 22 24 1 3 5 7 9 11 13 15 17 19 21 23 LVA0M RXE1+ + C509 22uF/16V R502 0 1/16W   RXO1- PA6 RXE3- LVA1P LVB2M LVACKP C511 0.1uF PB7 LVA1P LVB1P LVB0M LVBCKM PB2 LVA3M RXE1- LVB3M PA[0..9] PA1 RXO0- LVB1M LVB2P LVB0P RXE3+ LVA1M RXO2- RXE2+ TCL LA560A-1 Page 24 of 47 VCC12V R640 NC LED_G C602 22pF R630 NC DDC_CLK 3 AD3 4 POWER X601 20MHz VCC12V 2 VCPU C617 100pF CSZ 4 HWRESET 4 R637 10K 1/16W   INT 4 ENTER Volume 4 C614 NC R622 470 1/16W   OUT-R- OUT-L- onBACKLITE 2 C601 0.1uF Reset Circuit VCPU VCPU R628 0 1/16W   LED_B AD2 4 SCL 4 DVI-DSUB SELECT R621 470 1/16W   R638 NC ST_DET1 3 VCPU C611 1uF/25V Q603 PMBS3906 3 2 1 C607 0.001uF DVI-DSUB SELECT FB601 600 OHM RN601 10K 1/16W   1 2 3 4 8 7 6 5 RXD 3 VCPU Q601 PMBS3906 3 2 1 RIGHT SDA 4 OUT-R+ R613 10K 1/16W   R610 NC R633 NC AUTO R614 10K 1/16W   C606 0.001uF onPANEL_5V/3.3V 2 AUTO RIGHT VCC5V 2,3,4 Q604 NC 3 2 1 U602 AT24C16N-10SC-2.7 1 2 3 4 5 6 7 8 A0 A1 A2 GND SDA SCL WP VCC R603 10K 1/16W   R602 10K 1/16W   R627 10K 1/16W   POWER R643 NC LED_GRN C605 0.1uF VCC5V Q602 PMBS3906 3 2 1 R624 470 1/16W   R639 100 1/16W   DDC_DAT 3 Mute R625 10K 1/16W   LEFT C612 0.1uF R618 470 1/16W   C613 0.1uF FB602 600 OHM R641 NC R623 470 1/16W   R636 0 1/16W   Standby OUT-L+ R631 NC VCPU R620 470 1/16W   R611 NC VCPU VCPU Mute_key R615 10K 1/16W   C604 22pF R619 4.7K 1/16W   CN601 CON14A 2 4 6 8 10 12 14 1 3 5 7 9 11 13 R617 470 1/16W   LED_B R608 100 1/16W   VCPU LED_ORANGE R605 10K 1/16W   R626 10K 1/16W C616 1uF/25V AD1 4 R604 10K 1/16W   LEFT + C603 10uF/16V LED_G OUT-R+ R601 10K 1/16W   VCPU 2 R607 10K 1/16W   AD0 4 ENTER CN603 1 2 3 4 R606 10K 1/16W   OUT-L+ Mute_key C610 0.001uF R616 4.7K 1/16W   R609 100 1/16W   OUT-R- U601 8051-PLCC 35 21 20 10 14 15 16 17 2 3 4 5 6 7 8 9 43 42 41 40 39 38 37 36 24 25 26 27 28 29 30 31 19 18 32 33 13 11 22 44 12 EA/VP XTAL1 XTAL2 RESET INT0/P3.2 INT1/P3.3 T0/P3.4 T1/P3.5 P1.0 P1.1 P1.2 P1.3 P1.4 P1.5 P1.6 P1.7 P0.0 P0.1 P0.2 P0.3 P0.4 P0.5 P0.6 P0.7 P2.0 P2.1 P2.2 P2.3 P2.4 P2.5 P2.6 P2.7 P3.7/RD P3.6/WR PSEN ALE/P P3.1/TXD P3.0/RXD VSS VCC P4.3 C618 0.1uF CN602 CON16A 2 4 6 8 10 12 14 16 1 3 5 7 9 11 13 15 FB603 600 OHM C609 0.001uF R635 100 1/16W   R634 100 1/16W   R612 NC C608 0.001uF D601 LL4148-GS08 LED_O C615 NC OUT-L- R632 NC ST_DET2 3 R629 4.7K 1/16W   TXD 3 LED_BLUE VCC5V U603 MAX810STR (NC) 1 2 3 GND RST VCC VCC5V LED_O RN602 10K 1/16W   1 2 3 4 8 7 6 5 R642 0 1/16W   TCL LA560A-1 Page 25 of 47 6.2 POWER BOARD R232 1K 1/16W   is signal GND R227 1K 1/16W   DIM D201 SM240A C204 0.1uF +12V R214 2.2K 1/16W   CN201 CONN 1 2 R216 220 1/16W   D203 RLZ11B C216 39pF/3KV U201 TL1451 1 2 3 4 5 6 7 8 9 10 11 12 13 14 15 16 CT RT 1IN+ 1IN- 1FBK 1DTC 1OUT GND Vcc 2OUT 2DTC 2FBK 2IN- 2IN+ SCP REF R236 620 1/10W   R212 3.9K 1/16W   C221 0.47uF/25V PT201 POWER X'FMR 5 9 3,4 6 7 1 2 TP3 HVL 1 R238 12K 1/16W   Q209 2SC5706 1 2 3 C213 .15uF/160V TP1 HVO 1 R219 1K 1/16W   R226 1K 1/16W   R224 1K 1/16W   is power GND Q205 MPS3904 R201 37.5K L202 TRANSFORMER 1 4 2 3 + C201 470uF/16V R218 100 1/16W   C209 1uF/25V Q202 DTA144WKA C219 1uF/25V C205 0.1uF/25V D207 1N4148 C225 1uF/25V R208 4.7K 1/16W   L201 L C215 39pF/3KV D209 1N4148 R210 12K 1/16W   R240 51K 1/16W   Q210 2SC5706 1 2 3 C226 39pF/3KV R205 47K  Q207 MPS3906 C202 0.1uF/25V C208 330pF R220 15K  R225 1K 1/16W   NO/OFF CN202 CONN 1 2 TP4 HVL 1 D205 1N4148 C227 39pF/3KV R204 10K 1/16W   Q201 DTC144WKA Q203 SI4431DY-T1 4 8 5 6 7 3 2 1 C211 1uF/25V R207 NC C203 1uF/25V R234 910 1/16W   R222 12K 1/16W   + C207 33uF/50V TCL LA560A-1 Page 26 of 47 D903 1N4148 Q902 2PC945P R907 1M 1/4W   ON/OFF R928 1K 1/10W   O O O T901 POWER X'FMR 1 9 3 5 6 7,8 7,8 10,11 R924 11K 1/10W   R904 1M 1/4W   D902 PS102R R919 0.39 2W   R930 470 1/4W   C935 0.01uF D906 1N4148 C912 NC TO INVERTER + C926 470uF/16V R925 18K 1/10W   R902 1M 1/16W   R927 1K 1/10W   GND R920 47 1/2W   IC902 PC123FY2 4P 1 2 4 3 C910 0.1uF GND D904 1N4148 R912 100 1/16W   INL + C922 1000uF/16V R917 JUMPER 1 2 R901 1M 1/16W   DIM C906 0.0015uF/2KV R903 100K 2W   R909 4.7K 1/16W   F901 FUSE 5V + C907 22uF/50V R916 24K 1/10W   Q903 2SK2996 12V ZD902 HZ12B2 R926 24K 1/10W   R913 NC GND C908 0.1uF GND SW_ON/OFF CN902 NC 1 2 D912 31DQ06 R922 47 1/4W   + C925 1000uF/16V R908 10 1/16W   R905 1M 1/4W   ZD903 HZ5C1 CN102 CONN 1 2 3 4 5 6 7 8 9 10 11 12 C902 0.001uF/160V R915 10K 1/16W   Q901 2PA733P IC903 HTL431 + C924 470uF/16V R906 1M 1/4W   INR CN901 SOCKET 1 2 3 R931 1K 1/16W   D910 31DQ10 R918 20K 1/4W   FB903 BEAD - + BD901 2KBP06M 1 4 3 2 C920 0.001uF/500V R911 4.7K 1/16W   L902 L 1 4 2 3 SG6841 IC901 SG6841 1 3 4 7 2 5 6 8 D901 FR107 t NR901 NTCR C904 0.47uF/250V 5VA ZD904 SML4737A/1 C921 0.001uF/500V C913 0.0047uF/250V R914 NC D905 1N4148 CN302 CONN 1 2 3 C928 0.1uF C909 0.1uF + C905 100uF/450V ZD901 RLZ20B C936 0.1uF F902 FUSE C901 0.001uF/160V R929 0 1/16W   FB902 BEAD L904 CN301 PHONEJACK 5 1 2 4 3 C911 0.001uF C927 0.1uF L903 ZD905 RLZ20B R910 4.7K 1/16W   FB901 BEAD GND TCL LA560A-1 Page 27 of 47 7. PCB LAYOUT 7.1 MAIN BOARD 7.2 Power Board TCL LA560A-1 Page 28 of 47 8. MAINTAINABILITY 8.1 EQUIPMENT AND TOOLS REQUIREMENT 1、Voltmeter. 2.、Oscilloscope. 3、Pattern Generator. 4、DDC Tool with a IBM Compatible Computer. 5、Alignment Tool 6、LCD Color Analyzer. 7、Service Manual. 8、User Manual TCL LA560A-1 Page 29 of 47 7.2 TROUBLE SHOOTING 7.2.1 MAIN BOARD No power No power Press power key and look if the picture is normal Please reinsert and make sure the AC of 100-240V is normal Measure U201 PIN2=2.5V U202 PIN2=3.3V Reinsert or check the power section X401 and X601 oscillate waveforms are normal Check Correspondent component. Replace U401 Replace U601 Replace X401, X601 OK OK OK NG NG NG NG NG TCL LA560A-1 Page 30 of 47 No picture (LED orange) No picture The button if under t l X601 oscillate waveform is normal Replace U601 Check Correspondent component. Measure U202 PIN2=3.3V U201 PIN2=2.5V Check Correspondent component Replace U401 X401 oscillate waveform is normal Check Correspondent component OK OK OK OK NG NG NG NG TCL LA560A-1 Page 31 of 47 White screen White screen Measure Q204 base is high level? Measure U202 PIN2=3.3V U201 PIN2=2.5V X401 oscillate waveform is normal Check Q203 is broken or CN503 solder? Check Correspondent component Replace PANEL Check Correspondent component Replace U401 OK OK OK Check Correspondent component OK NG NG NG NG TCL LA560A-1 Page 32 of 47 7.2.2 KEYPAD BOARD OSD is unstable or not working Is Key Pad Board connecting normally? Connect Key Pad B d Is Button Switch normally? Replace Button Switch Y N N Is Key Pad Board Normally? Replace Key Pad Board Y N Y Check Main Board TCL LA560A-1 Page 33 of 47 7.2.3 POWER/INVERTER BOARD 1.) No power Check bridge rectified circuit and F901 circut 1) Check IC901 2) Check ZD901,Q902, Q903…OVP circuit Check CN902 pin2, 4 = 12V NG Check AC line volt 110V or 220V Check AC input Check the voltage of C905(+) Check start voltage for the pin3 of IC901 Check R906,R907 and Change IC901 NG Check the auxiliary voltage is bigger than 10V and smaller than 20V OK OK OK NG NG NG Check Q901, R914,T901,D910,D911,ZD902 OK Check IC901 pin8 PWM wave OK Check IC901 NG TCL LA560A-1 Page 34 of 47 2.) No Backlight Check C201 (+) =12V NG OK Change F902 Check ON/OFF signal Check main board NG OK Check U201 pin9=12V NG OK Change Q201 or Q202 Check the pin1 of U201 have sawtooth wave NG Change U201 Check D201/D202 have the output of square wave at short time Check Q205/Q207/Q203/D201 Check Q206/Q208/Q204/D202 Check the resonant wave of pin2 & pin5 for PT201/PT202 Check the output of PT201 Check Q209/Q210/C213 Ch k Q211/Q212/C214 Check connecter & lamp Change PT201 OK NG NG OK OK TCL LA560A-1 Page 35 of 47 9 white-Balance, Luminance adjustment Approximately 30 minutes should be allowed for warm up before proceeding White-Balance adjustment. 1. How to do the Chroma-7120 MEM. Channel setting A. Reference to chroma 7120 user guide B. Use “ SC” key and “ NEXT” key to modify XyY value and use “ID” key to modify the TEXT description Following is the procedure to do white-balance adjust 2. Setting the color temp. you want A. MEM.CHANNEL 3 (7800 color): 7800 color temp. parameter is x = 296 ±25, y = 311 ±25 , B. MEM.CHANNEL 4 (6500 color): 6500 color temp. parameter is x = 313±25, y = 329 ±25. 3. Into factory mode of LA560A-1 Press MENU button during 2 seconds along with press Power button will activate the factory mode, then MCU will do AUTO LEVEL automatically. Meanwhile press MENU the OSD screen will be located at LEFT TOP OF PANEL. 4. Bias adjustment: Set the Contrast to 50; Adjust the Brightness to 80. 5. Gain adjustment: Move cursor to “-F-” and press MENU key A. Adjust C2 (7800) color-temperature 1. Switch the Chroma-7120 to RGB-Mode (with press “MODE” button) 2. Switch the MEM. Channel to Channel 3 (with up or down arrow on chroma 7120) 3. The LCD-indicator on chroma 7120 will show x = 296 ±25, y = 311 ±25, Y = 200 ±10 cd/m2 4. Adjust the RED of color1 on factory window until chroma 7120 indicator reached the value R=100 5. Adjust the GREEN of color1 on factory window until chroma 7120 indicator reached the value G=100 6. Adjust the BLUE of color1 on factory window until chroma 7120 indicator reached the value B=100 7. Repeat above procedure (item 4,5,6) until chroma 7120 RGB value meet the tolerance =100±2 B. Adjust C1 (6500) color-temperature 1. Switch the chroma-7120 to RGB-Mode (with press “MODE” button) 2. Switch the MEM.channel to Channel 4(with up or down arrow on chroma 7120) 3. The LCD-indicator on chroma 7120 will show x = 313 ±25, y = 329 ±25, Y = 200 ±10 cd/m2 4. Adjust the RED of color3 on factory window until chroma 7120 indicator reached the value R=100 5. Adjust the GREEN of color3 on factory window until chroma 7120 indicator reachedthe value G=100 6. Adjust the BLUE of color3 on factory window until chroma 7120 indicator reached the value B=100 7. Repeat above procedure (item 4,5,6) until chroma 7120 RGB value meet the tolerance =100±2 C. Turn the Power-button off to quit from factory mode. TCL LA560A-1 Page 36 of 47 10. EDID CONTENT ANALOG (D-SUB) INPUTS 00 01 02 03 04 05 06 07 08 09 10 11 12 13 14 15 0 00 FF FF FF FF FF FF 00 50 6C 62 C5 34 35 36 33 16 10 0F 01 03 68 1E 17 82 2A 36 4D 9F 57 4C 95 25 32 1C 4D 54 AF CE 00 61 40 61 4F 45 40 45 4F 31 40 48 31 4F 01 01 01 01 64 19 00 40 41 00 26 30 18 88 64 36 00 30 E4 10 00 00 18 00 00 00 FF 00 31 33 32 80 36 35 34 38 37 39 30 31 32 0A 00 00 00 FD 00 37 96 4B 1E 3F 08 00 0A 20 20 20 20 20 20 00 00 00 FC 112 00 54 46 54 31 35 36 30 50 53 0A 20 20 20 00 7D TCL LA560A-1 Page 37 of 47 11. BOM LIST T562KVXMDTTEN Location Part Numver Description Quantity Unit CBPC562KVXTN CONVERSION BOARD 1 PCS KEPC562KT2 KEY BOARD 1 PCS PWPC5215A1E9C POWER BOARD 1 PCS S95G801820536 LCDS ASS'Y 1 PCS 15G5908 2 BRACKET 1 PCS 15G6075 N 2 MAIN FRAME 1 PCS 33G4362 1 LENS 1 PCS 33G6081 Y L KEY PAD 1 PCS 33G6082 Y L POWER KEY 1 PCS 34G6063 Y L BEZEL 1 PCS 40G 150654 1 ID LABEL 1 PCS 40G 457654 4A TCL LABEL 1 PCS 40G 58160213A S/N LABEL 4 PCS 40G 58162435A LABEL 1 PCS 40G 581654 3A CARTON LABEL 2 PCS 44G3231 12500 EVA WASHER 1 PCS 44G3231 15528 EVA WASHER 1 PCS 44G3562624 1A CARTON 1 PCS 44G3565 1 EPS 1 PCS 44G3565 2 EPS 1 PCS 45G 76 28 RN PE BAG FO MANUAL/BASE 2 PCS 45G 88607 PE BAG FOR MONITOR 1 PCS 45G 88618 20 OUT PE BAG 1 PCS 50G 600 2 HANDLE1 1 PCS 50G 600 3 HANDLE2 1 PCS 52G 1185 MIDDLE TAPE FOR CARTON 12 CM 52G 1186 SMALL TAPE 8 CM 52G 1207 A ALUMINIUM TAPE 2 PCS 52G 1208 A ALUMINIUM TAPE 1 PCS 52G6025 11523 INSULATE SHEET 1 PCS 52G6025 11739 MYLAR 1 PCS 85G 634 14 SHIELD 1 PCS 89G1735GAA D1 SIGNAL CABLE 1 PCS 89G414A15N IS POWER CORD 1 PCS TCL LA560A-1 Page 38 of 47 M1G 325 4120 SCREW M2.5X4 4 PCS M1G 330 4128 SCREW M3X4 1 PCS M1G 340 6128 SCREW 1 PCS M1G1130 6128 SCREW 7 PCS Q1G 330 8120 SCREW 3X8mm 16 PCS 705L562KB34375 LCD BACK COVER ASS'Y 1 PCS 750LLD502TB SVA NEC PANEL 1 PCS CBPC562KVXTN AIC562KVXTN MAIN BOARD 1 PCS 40G 45762412B CBPC LABEL 1 PCS C202 67L215B221 4H LOW ESR 220UF 25V 8*11 1 PCS C204 67L215B221 4H LOW ESR 220UF 25V 8*11 1 PCS C208 67L305V100 3 10UF +-20% 16V 105 1 PCS C211 67L305V470 3 47UF +-20% 16V 1 PCS C215 67L305V470 3 47UF +-20% 16V 1 PCS C405 67L305V100 3 10UF +-20% 16V 105 1 PCS C414 67L305V100 3 10UF +-20% 16V 105 1 PCS C419 67L305V100 3 10UF +-20% 16V 105 1 PCS C422 67L305V100 3 10UF +-20% 16V 105 1 PCS C424 67L305V100 3 10UF +-20% 16V 105 1 PCS C427 67L305V100 3 10UF +-20% 16V 105 1 PCS C509 67L305V220 3 22UF 16V 1 PCS CN201 33G8027 12 WAFER 2*6P 2.0MM R/A 1 PCS CN301 88G 35315F HS D-SUB 15P 1 PCS CN503 33L8027 14 H WAFER 14P 2.0MM DIP DUA 1 PCS CN602 33G8027 16 WAFER 16PIN 2.0mm DIP 1 PCS X401 93G 22 53 J 14.31818MHZ/32PF/49US 1 PCS X601 93G 22 55 J 20MHz/20PF/49US 1 PCS 40G 457624 1B LABEL-CPU 1 PCS 715L1237 1 3 MAIN BOARD 1 PCS C201 65G0603104 32 CHIP 0.1UF 50V X7R 1 PCS C203 65G0603104 32 CHIP 0.1UF 50V X7R 1 PCS C205 65G0603104 32 CHIP 0.1UF 50V X7R 1 PCS C206 65G0805105 22 CHIP 1UF 25V X7R 0805 1 PCS C207 65G0603104 32 CHIP 0.1UF 50V X7R 1 PCS C210 65G0603104 32 CHIP 0.1UF 50V X7R 1 PCS C212 65G0603104 32 CHIP 0.1UF 50V X7R 1 PCS C214 65G0603104 32 CHIP 0.1UF 50V X7R 1 PCS TCL LA560A-1 Page 39 of 47 C216 65G0603104 32 CHIP 0.1UF 50V X7R 1 PCS C217 65G0603683 32 CHIP 0.068UF 50L X7R 1 PCS C304 65G0603473 32 CHIP 0.047UF 50V X7R 1 PCS C305 65G0603473 32 CHIP 0.047UF 50V X7R 1 PCS C306 65G0603473 32 CHIP 0.047UF 50V X7R 1 PCS C307 65G0603102 32 1000PF +-10% 50V X7R 1 PCS C308 65G0603473 32 CHIP 0.047UF 50V X7R 1 PCS C309 65G0603473 32 CHIP 0.047UF 50V X7R 1 PCS C310 65G0603473 32 CHIP 0.047UF 50V X7R 1 PCS C311 65G0603330 31 CER1 0603 NP0 50V 33P P 1 PCS C312 65G0603221 31 CER1 0603 NP0 50V 220P 1 PCS C313 65G0603104 32 CHIP 0.1UF 50V X7R 1 PCS C401 65G0603104 32 CHIP 0.1UF 50V X7R 1 PCS C402 65G0603220 31 CER1 0603 NP0 50V 22P P 1 PCS C403 65G0603220 31 CER1 0603 NP0 50V 22P P 1 PCS C404 65G0603104 32 CHIP 0.1UF 50V X7R 1 PCS C406 65G0603104 32 CHIP 0.1UF 50V X7R 1 PCS C407 65G0603104 32 CHIP 0.1UF 50V X7R 1 PCS C408 65G0603104 32 CHIP 0.1UF 50V X7R 1 PCS C409 65G0603104 32 CHIP 0.1UF 50V X7R 1 PCS C410 65G0603104 32 CHIP 0.1UF 50V X7R 1 PCS C411 65G0603104 32 CHIP 0.1UF 50V X7R 1 PCS C412 65G0603104 32 CHIP 0.1UF 50V X7R 1 PCS C413 65G0603104 32 CHIP 0.1UF 50V X7R 1 PCS C415 65G0603104 32 CHIP 0.1UF 50V X7R 1 PCS C416 65G0603104 32 CHIP 0.1UF 50V X7R 1 PCS C417 65G0603104 32 CHIP 0.1UF 50V X7R 1 PCS C418 65G0603104 32 CHIP 0.1UF 50V X7R 1 PCS C420 65G0603104 32 CHIP 0.1UF 50V X7R 1 PCS C421 65G0603104 32 CHIP 0.1UF 50V X7R 1 PCS C423 65G0603104 32 CHIP 0.1UF 50V X7R 1 PCS C425 65G0603104 32 CHIP 0.1UF 50V X7R 1 PCS C426 65G0603104 32 CHIP 0.1UF 50V X7R 1 PCS C428 65G0603104 32 CHIP 0.1UF 50V X7R 1 PCS C510 65G0603104 32 CHIP 0.1UF 50V X7R 1 PCS C511 65G0603104 32 CHIP 0.1UF 50V X7R 1 PCS C601 65G0603104 32 CHIP 0.1UF 50V X7R 1 PCS C602 65G0603220 31 CER1 0603 NP0 50V 22P P 1 PCS TCL LA560A-1 Page 40 of 47 C604 65G0603220 31 CER1 0603 NP0 50V 22P P 1 PCS C605 65G0603224 32 CHIP 0.22UF 50V X7R 1 PCS C606 65G0603102 32 1000PF +-10% 50V X7R 1 PCS C607 65G0603102 32 1000PF +-10% 50V X7R 1 PCS C608 65G0603102 32 1000PF +-10% 50V X7R 1 PCS C609 65G0603102 32 1000PF +-10% 50V X7R 1 PCS C610 65G0603102 32 1000PF +-10% 50V X7R 1 PCS C618 65G0603104 32 CHIP 0.1UF 50V X7R 1 PCS D201 93G1004 3 SS14 1 PCS D202 93G1020 1 S GS1D 1 PCS D301 93G 6433P BAV99 1 PCS D302 93G 6433P BAV99 1 PCS D303 93G 6433P BAV99 1 PCS D304 93G 64 42 P BAV70 SOT-23 1 PCS D317 93G 39147 TZMC5V6 1 PCS D318 93G 39147 TZMC5V6 1 PCS D319 93G 39147 TZMC5V6 1 PCS D320 93G 39147 TZMC5V6 1 PCS D321 93G 39147 TZMC5V6 1 PCS D322 93G 39147 TZMC5V6 1 PCS D323 93G 39147 TZMC5V6 1 PCS FB201 71G 56Z601 CHIP BEAD 600 OHM 0805 1 PCS FB301 61L0603000 RST SM 0603 JUMP MAX 0R 1 PCS FB302 61L0603000 RST SM 0603 JUMP MAX 0R 1 PCS FB303 61L0603000 RST SM 0603 JUMP MAX 0R 1 PCS FB304 71G 56G151 A TB160808G151 1 PCS FB401 71G 56Z601 CHIP BEAD 600 OHM 0805 1 PCS FB402 71G 56Z601 CHIP BEAD 600 OHM 0805 1 PCS FB403 71G 56Z601 CHIP BEAD 600 OHM 0805 1 PCS FB404 71G 56Z601 CHIP BEAD 600 OHM 0805 1 PCS FB405 71G 56Z601 CHIP BEAD 600 OHM 0805 1 PCS FB406 71G 56Z601 CHIP BEAD 600 OHM 0805 1 PCS Q201 57G 417 4 PMBS3904/PHILIPS-SMT(04 1 PCS Q202 57G 417 4 PMBS3904/PHILIPS-SMT(04 1 PCS Q203 57G 763 1 A03401 SOT23 BY AOS(A1) 1 PCS Q204 57G 417 4 PMBS3904/PHILIPS-SMT(04 1 PCS Q601 57G 417 6 PMBS3906/PHILIPS-SMT(06 1 PCS Q602 57G 417 6 PMBS3906/PHILIPS-SMT(06 1 PCS TCL LA560A-1 Page 41 of 47 Q603 57G 417 6 PMBS3906/PHILIPS-SMT(06 1 PCS R201 61L0603472 RST SM 0603 RC0603 4K7 1 PCS R202 61L0603103 RST SM 0603 RC0603 10K 1 PCS R203 61L0603102 RST SM 0603 RC0603 1K P 1 PCS R204 61L0603103 RST SM 0603 RC0603 10K 1 PCS R205 61L0603472 RST SM 0603 RC0603 4K7 1 PCS R206 61L0603103 RST SM 0603 RC0603 10K 1 PCS R207 61L0603472 RST SM 0603 RC0603 4K7 1 PCS R208 61L0603103 RST SM 0603 RC0603 10K 1 PCS R210 61L0603000 RST SM 0603 JUMP MAX 0R 1 PCS R211 61L0603103 RST SM 0603 RC0603 10K 1 PCS R212 61L0603472 RST SM 0603 RC0603 4K7 1 PCS R215 61L0603104 RST SM 0603 RC0603 100K 1 PCS R301 61L0603101 RST SM 0603 RC0603 100R 1 PCS R302 61L0603101 RST SM 0603 RC0603 100R 1 PCS R303 61L0603101 RST SM 0603 RC0603 100R 1 PCS R304 61L0603471 CHIPR 470 OHM+-5% 1/10W 1 PCS R305 61L0603101 RST SM 0603 RC0603 100R 1 PCS R306 61L0603101 RST SM 0603 RC0603 100R 1 PCS R307 61L0603101 RST SM 0603 RC0603 100R 1 PCS R308 61L0603103 RST SM 0603 RC0603 10K 1 PCS R309 61L0603101 RST SM 0603 RC0603 100R 1 PCS R310 61L0603102 RST SM 0603 RC0603 1K P 1 PCS R311 61L0603102 RST SM 0603 RC0603 1K P 1 PCS R312 61L0603101 RST SM 0603 RC0603 100R 1 PCS R313 61L0603222 RST SM 0603 RC0603 2K2 1 PCS R314 61L0603103 RST SM 0603 RC0603 10K 1 PCS R315 61L0603101 RST SM 0603 RC0603 100R 1 PCS R316 61L0603101 RST SM 0603 RC0603 100R 1 PCS R317 61L0603103 RST SM 0603 RC0603 10K 1 PCS R318 61L0603103 RST SM 0603 RC0603 10K 1 PCS R321 61L0603103 RST SM 0603 RC0603 10K 1 PCS R322 61L0603101 RST SM 0603 RC0603 100R 1 PCS R325 61L0603750 RST SM 0603 RC22H 75R P 1 PCS R326 61L0603750 RST SM 0603 RC22H 75R P 1 PCS R327 61L0603750 RST SM 0603 RC22H 75R P 1 PCS R402 61L0603101 RST SM 0603 RC0603 100R 1 PCS R403 61L0603390 0F CHIP 390 OHM 1/10W 1% 1 PCS TCL LA560A-1 Page 42 of 47 R404 61L0603103 RST SM 0603 RC0603 10K 1 PCS R405 61L0603103 RST SM 0603 RC0603 10K 1 PCS R406 61L0603103 RST SM 0603 RC0603 10K 1 PCS R407 61L0603103 RST SM 0603 RC0603 10K 1 PCS R502 61L0603000 RST SM 0603 JUMP MAX 0R 1 PCS R601 61L0603103 RST SM 0603 RC0603 10K 1 PCS R602 61L0603103 RST SM 0603 RC0603 10K 1 PCS R604 61L0603103 RST SM 0603 RC0603 10K 1 PCS R605 61L0603103 RST SM 0603 RC0603 10K 1 PCS R606 61L0603103 RST SM 0603 RC0603 10K 1 PCS R607 61L0603103 RST SM 0603 RC0603 10K 1 PCS R608 61L0603101 RST SM 0603 RC0603 100R 1 PCS R609 61L0603101 RST SM 0603 RC0603 100R 1 PCS R613 61L0603103 RST SM 0603 RC0603 10K 1 PCS R616 61L0603472 RST SM 0603 RC0603 4K7 1 PCS R617 61L0603121 CHIPR 120 OHM 1/10W 1 PCS R618 61L0603121 CHIPR 120 OHM 1/10W 1 PCS R619 61L0603472 RST SM 0603 RC0603 4K7 1 PCS R620 61L0603471 CHIPR 470 OHM+-5% 1/10W 1 PCS R621 61L0603471 CHIPR 470 OHM+-5% 1/10W 1 PCS R622 61L0603471 CHIPR 470 OHM+-5% 1/10W 1 PCS R623 61L0603471 CHIPR 470 OHM+-5% 1/10W 1 PCS R624 61L0603102 RST SM 0603 RC0603 1K P 1 PCS R634 61L0603101 RST SM 0603 RC0603 100R 1 PCS R635 61L0603101 RST SM 0603 RC0603 100R 1 PCS R636 61L0603000 RST SM 0603 JUMP MAX 0R 1 PCS R639 61L0603101 RST SM 0603 RC0603 100R 1 PCS RN601 61L 125472 8 CHIP AR 8P4R 4.7K OHM+- 1 PCS RN602 61L 125472 8 CHIP AR 8P4R 4.7K OHM+- 1 PCS U201 56G 585 7 RT9164-25PL 1 PCS U202 56G 563 7 AIC1084-33PM 1 PCS U301 56G1133 34 M24C02-WMN6TP 1 PCS U401 56L 562 57 MST8011B PQFP-128 1 PCS U601 56L1125137EA4 W78E65 1 PCS U602 56L1133516 M24C16-WMN6T 1 PCS U603 56L 643 5A MAX810STR SOT-23 1 PCS KEPC562KT2 AIK562KT2SMT KEY BOARD FOR SMT 1 PCS TCL LA560A-1 Page 43 of 47 DP103 81G 12 1 GP GP32032ME 1 PCS JP101 95G8014 16526 WIRE HARNESS 1 PCS JP102 33G3802 5H WAFER 5P RIGHT ANELE PI 1 PCS JP103 95G8014 5506 HARNESS 1 PCS SW101 77G 600 1GCJ TACT SWITCH TSPB-2 1 PCS SW102 77G 600 1GCJ TACT SWITCH TSPB-2 1 PCS SW103 77G 600 1GCJ TACT SWITCH TSPB-2 1 PCS SW104 77G 600 1GCJ TACT SWITCH TSPB-2 1 PCS SW105 77G 600 1GCJ TACT SWITCH TSPB-2 1 PCS AIK562KT2 KEY BOARD 1 PCS Q101 57G 417 4 PMBS3904/PHILIPS-SMT(04 1 PCS Q102 57G 417 4 PMBS3904/PHILIPS-SMT(04 1 PCS 715L1235 1 PCB 1 PCS R108 61G 60222152T CFR 220OHM +-5% 1/6W 1 PCS PWPC5215A1E9C PW5215A1E9SMT POWER BOARD 1 PCS 40G 45762412B CBPC LABEL 1.03 PCS 705L 560 57 24 Q903 ASS'Y 1 PCS 705L 780 57 02 CN901 ASS'Y 1 PCS BD901 93G 50460502 KBP206G 1 PCS C215 65L 3J2206ET 22PF 5% 3KV TDK 1 PCS C216 65L 3J2206ET 22PF 5% 3KV TDK 1 PCS C901 65L305M1022E3 1000PF +-20% 400VAC BY 1 PCS C902 65L305M1022E3 1000PF +-20% 400VAC BY 1 PCS C904 63L107K474 US 0.47UF +-10% 275VAC 1 PCS C905 67L305S10115K 100UF +-20% 450V 1 PCS C906 65G 2K152 5E6921 1500 PF 10% 2KV Y5P 1 PCS C913 65G306M4722B2 Y1 4700PF +-20% 250VAC 1 PCS C922 67L215C102 3H EC LESR 1000UF16V HERME 1 PCS C925 67L215C102 3H EC LESR 1000UF16V HERME 1 PCS CN102 95G8021 12512 WIRE HARNESS 1 PCS CN201 33G8020 2D AC CONN.2P R/A DIP BY ACES 1 PCS CN202 33G8020 2D AC CONN.2P R/A DIP BY ACES 1 PCS D910 93G3010 1 31DQ10FC 1 PCS D912 93G3006 1 31DQ06FC 1 PCS F901 84G 7H200 SL 250V/2A LIHEL FUSE 1 PCS IC901 56G 379 32 SG6841DZ DIP-8 1 PCS IC902 56G 139 3A PC123Y22 1 PCS TCL LA560A-1 Page 44 of 47 L201 73G 253139 HA CHOKE COIL 1 PCS L202 73G 174 30YSA FILTER 1 PCS L903 73G 253 91 L CHOKE BY LI TA 1 PCS L904 73G 253 91 L CHOKE BY LI TA 1 PCS NR901 61G 58080 WT 8 OHM NCT 1 PCS Q209 57G 761 6 2SC5706-P-E 1 PCS Q210 57G 761 6 2SC5706-P-E 1 PCS R903 61G152M104 64 100KOHM 5% 2W 1 PCS R919 61G 2J398 64 0.39 OHM 5% 2W 1 PCS T901 80LL17T 2 NG TRANSFORMER 1 PCS PWPC5215A1E9AI POWER BOARD 1 PCS C202 65G0805104 22 0.1UF +-10% 25V X7R 080 1 PCS C203 65G0805105 27 CHIP 1UF Y5V 0805 1 PCS C205 65G0805104 22 0.1UF +-10% 25V X7R 080 1 PCS C208 65G0805331 31 CHIP 330pF 50V NPO 1 PCS C209 65G0805105 27 CHIP 1UF Y5V 0805 1 PCS C211 65G0805105 27 CHIP 1UF Y5V 0805 1 PCS C219 65G0805105 27 CHIP 1UF Y5V 0805 1 PCS C221 65G0805474 27 CHIP 0.47UF 25V Y5V 1 PCS C225 65G0805105 27 CHIP 1UF Y5V 0805 1 PCS C910 65G0603104 37 CHIP 0.1UF 50V/Y5V 1 PCS C927 65G0603104 37 CHIP 0.1UF 50V/Y5V 1 PCS C928 65G0603104 37 CHIP 0.1UF 50V/Y5V 1 PCS D201 93G2004 2A SM240A DO-214AC 1 PCS D203 93G 39S 3 T BZT52-C11 1 PCS Q201 57G 760 5B PDTC144WK SOT346 1 PCS Q202 57G 760 4B PDTA144WK SOT346 1 PCS Q203 57G 763 3B AM9435P.T1-PF SO-8 1 PCS R204 61L0603103 RST SM 0603 RC0603 10K 1 PCS R208 61L0603000 RST SM 0603 JUMP MAX 0R 1 PCS R210 61L0603183 CHIP 18K OHM 1/10W 1 PCS R212 61L0603392 CHIP 3.9K OHM 1/10W 1 PCS R214 61L0603222 RST SM 0603 RC0603 2K2 1 PCS R216 61L0603221 RST SM 0603 RC0603 220R 1 PCS R218 61L0603101 RST SM 0603 RC0603 100R 1 PCS R219 61L1206102 CHIP 1K OHM 5% 1/4W 1 PCS R222 61L0603123 CHIP 12K OHM 1/10W 1 PCS R224 61L1206152 CHIPR 1.5K OHM+-5%1/4W 1 PCS TCL LA560A-1 Page 45 of 47 R225 61L1206152 CHIPR 1.5K OHM+-5%1/4W 1 PCS R226 61L1206152 CHIPR 1.5K OHM+-5%1/4W 1 PCS R227 61L1206152 CHIPR 1.5K OHM+-5%1/4W 1 PCS R232 61L1206102 CHIP 1K OHM 5% 1/4W 1 PCS R234 61L0603681 CHIP 680 OHM 1/10W 1 PCS R236 61L0603471 CHIPR 470 OHM+-5% 1/10W 1 PCS R238 61L0603123 CHIP 12K OHM 1/10W 1 PCS R240 61L0603513 CHIP 51K OHM 1/10W 1 PCS R901 61L1206105 CHIP 1MOHM 5% 1/4W 1 PCS R902 61L1206105 CHIP 1MOHM 5% 1/4W 1 PCS R904 61L1206105 CHIP 1MOHM 5% 1/4W 1 PCS R905 61L1206105 CHIP 1MOHM 5% 1/4W 1 PCS R906 61L1206684 CHIPR 680K OHM+-5% 1/4W 1 PCS R907 61L1206684 CHIPR 680K OHM+-5% 1/4W 1 PCS R909 61L1206472 CHIP 4.7KOHM 5% 1/4W 1 PCS R910 61L1206472 CHIP 4.7KOHM 5% 1/4W 1 PCS R911 61L1206472 CHIP 4.7KOHM 5% 1/4W 1 PCS R912 61L1206101 CHIP 100 OHM 5% 1/4W 1 PCS R915 61L1206103 CHIP 10KOHM 5% 1/4W 1 PCS R916 61L0805240 2F CHIP 24KOHM 1% 1/8W 1 PCS R925 61L0805261 1F CHIP 2.61KOHM 1/8W 1% 1 PCS R926 61L0805240 1F CHIPR 2.4KOHM +-1% 1/8W 1 PCS R928 61L0805102 CHIPR 1K OHM +-5% 1/8W 1 PCS R929 61L0603000 RST SM 0603 JUMP MAX 0R 1 PCS R931 61L0603102 RST SM 0603 RC0603 1K P 1 PCS U201 56L 608 1 TL1451ACD 1 PCS ZD901 93G 39S 23 T GLZ22B 1 PCS ZD904 93G 39S 19 T PTZ7.5B 1 PCS 715L1034 3 PCB VER:C 1 PCS C201 67L215C1514HT LOW ESR 150UF 25V 8*7MM 1 PCS C204 64L700J1040AT 0.1UF 50V PEN 1 PCS C905 6G 31502 1.5MM RIVET 2 PCS C908 65G 450104 7T 0.1UF +80-20% 50V Y5V 1 PCS C909 64L700J1040AT 0.1UF 50V PEN 1 PCS C911 64L700J1020AT 1000PF 50V PEN 1 PCS C920 65L517K102 5T6213 1000PF 10% Y5P 500V 1 PCS C921 65L517K102 5T6213 1000PF 10% Y5P 500V 1 PCS C924 67L215B4713HT 470UF 16V LTR471M1CF11V 1 PCS TCL LA560A-1 Page 46 of 47 C926 67L215B4713HT 470UF 16V LTR471M1CF11V 1 PCS C936 64L700J1040AT 0.1UF 50V PEN 1 PCS D205 93G 64 1152T 1N4148 1 PCS D207 93G 64 1152T 1N4148 1 PCS D209 93G 64 1152T 1N4148 1 PCS D901 93G 6026W52T FR107 1 PCS D902 93G 6038T52T FR103 1 PCS D903 93G 64 1152T 1N4148 1 PCS FB901 71G 55 29 FERRITE BEAD 1 PCS FB903 71G 55 19 T FERRITE BEAD D9X3. 5X0. 1 PCS IC903 56G 158 4 T A H431BA 1 PCS L902 6G 31502 1.5MM RIVET 4 PCS PT201 6G 31502 1.5MM RIVET 2 PCS Q205 57G 417 3 T MPS3904 1 PCS Q207 57G 414 2 MPS3906 1 PCS Q901 57G 420 PP T 2PA733P 1 PCS Q902 57G 419 PP T 2PC945P 1 PCS R201 61G 60275352T 75KOHM 5%1/6W 1 PCS R205 61G 60247352T 47KOHM 5% 1/6W 1 PCS R220 61G 60215352T 15KOHM 5% 1/6W 1 PCS R908 61G 17268952T 6.8OHM 5% 1/4W 1 PCS R917 61G 17210052T 100HM 5% 1/4W 1 PCS R918 61G 17210352T CFR 10KOHM +-5% 1/4W 1 PCS R920 61G 20747052T 47 OHM 1/2W 1 PCS R922 61G 20747052T 47 OHM 1/2W 1 PCS R930 61G 17210152T 100 OHM 5% 1/4W 1 PCS T901 6G 31502 1.5MM RIVET 4 PCS 90G 411501 HEAT SINK 1 PCS M1G17306.5128 SCREW 1 PCS Q903 57G 724 4A STP9NK60ZEP 1 PCS 95G205S354022 HARNESS 1 PCS 96G 29 6 SHRINK TUBE UL/CSA 20 MM CN901 87G 501 12 CJ AC SOCKET 1 PCS 33F 206 14 DF11-14DS-2C 1 PCS 33F206T 24 DF11-2428SCF 14 PCS 33F303SM24H20 P240420 1 PCS 33F303STM24T2 2404PS-2 14 PCS 15G5786 1 VRSA BRACKET 1 PCS TCL LA560A-1 Page 47 of 47 33G4339 Y 1L HINGE COVER (L) 1 PCS 33G4339 Y 2L HINGE COVER (R) 1 PCS 34G 911 Y L STAND COVER F 1 PCS 34G 912 Y L STAND COVER B 1 PCS 34G 913 Y L BASE 1 PCS 34G1100 YA8L BACK COVER 1 PCS 37G 446 1 LCD HINGE (L501-C) 1 PCS M1G 340 8128 SCREW 2 PCS Q1G 330 8120 SCREW 3X8mm 2 PCS Q1G 340 8128 SCREW 4X8mm 1 PCS AM1G1740 12128 SCREW 4 PCS

标签:

版权声明

1. 本站所有素材,仅限学习交流,仅展示部分内容,如需查看完整内容,请下载原文件。
2. 会员在本站下载的所有素材,只拥有使用权,著作权归原作者所有。
3. 所有素材,未经合法授权,请勿用于商业用途,会员不得以任何形式发布、传播、复制、转售该素材,否则一律封号处理。
4. 如果素材损害你的权益请联系客服QQ:77594475 处理。