飞利浦DVD708整机图 ES4428芯片

分类:电子电工 日期: 点击:0
飞利浦DVD708整机图  ES4428芯片-0 飞利浦DVD708整机图  ES4428芯片-1 飞利浦DVD708整机图  ES4428芯片-2 飞利浦DVD708整机图  ES4428芯片-3 飞利浦DVD708整机图  ES4428芯片-4 飞利浦DVD708整机图  ES4428芯片-5 飞利浦DVD708整机图  ES4428芯片-6 飞利浦DVD708整机图  ES4428芯片-7 飞利浦DVD708整机图  ES4428芯片-8 飞利浦DVD708整机图  ES4428芯片-9

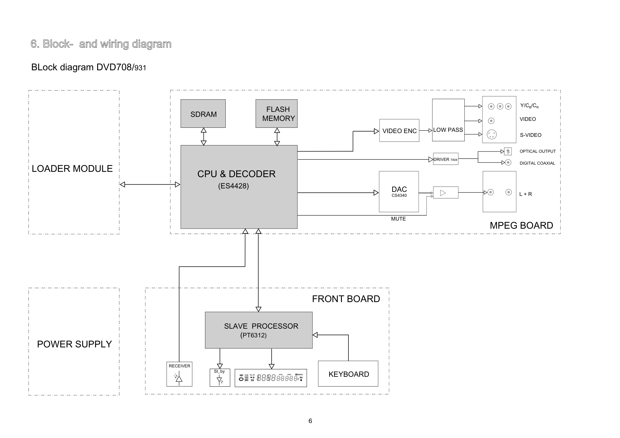
� 6. Block- and wiring diagram BLock diagram DVD708/931 RECEIVER SLAVE PROCESSOR (PT6312) CPU & DECODER (ES4428) SDRAM FLASH MEMORY DAC CS4340 VIDEO ENC LOW PASS DRIVER 7404 MUTE Y/CB/CR VIDEO S-VIDEO OPTICAL OUTPUT DIGITAL COAXIAL L + R MPEG BOARD POWER SUPPLY LOADER MODULE FRONT BOARD KEYBOARD St_by 6. Block- and wiring diagram Wiring diagram DVD708/931 POWER SUPPLY BOARD FRONT BOARD MPEG BOARD LOADER 1401 1 5 1403 1 2 1 3 2 4 3 5 4 5 GND DATA 1 CLK 5 CE IR 1 +5V 4 GND -24V F2 1 F1 2 3 4 +12V +5V GND GND 1 40 1 40 1 8 1 5 1608 1 2 3 4 5 6 7 8 STDBY -12V GND GND GND +12V D5V D5V 1609 1601 1 2 3 4 5 GND DATA CLK CE IR 8004/260 8002/500 8402/170 8401/180 8001/260 1 8 1 4 1 2 3 4 5 6 7 8 1 2 3 4 STDBY -12V GND GND GND +12V +5V +5V +12V +5V GND GND 1007 1006 1005 1 5 1 2 3 4 5 +5V GND -24V F2 F1 � � 7. Electrical diagrams and Print-layouts Power supply board DVD708/931 2001 B1 2030 A5 2002 C1 2029 B5 2003 C1 2028 B5 2004 C2 2027 B5 2005 C2 2026 B5 2006 C2 2025 B5 2007 C2 2024 C5 2008 A4 2023 C5 2009 B4 2022 C5 2010 A2 2021 C5 2011 B3 2020 C5 2012 B3 2019 C5 2013 B4 2018 D5 2014 C4 2017 C4 2015 C4 2016 C3 2031 A5 3040 B6 3001 A1 3002 B1 3003 A4 3004 A4 3005 A3 3006 A3 3007 A2 3008 B2 3009 B2 3010 B4 3011 B2 3012 B2 3013 B3 3014 B3 3015 B3 3016 B4 3017 C3 3018 C3 3019 C3 3020 C4 3021 C3 3022 D5 3023 D6 3024 D6 3025 C5 3026 D6 3027 D6 3028 D6 3029 C5 3030 C6 3031 C6 3032 B6 3033 B6 3034 A7 3035 A6 3036 A6 3037 A5 3038 A5 3039 A6 1001 A1 1002 A1 1004 B1 1005 A7 1006 B7 1007 C7 5006 B5 5005 B5 5001 B1 5004 C5 5002 B1 5003 A4 6001 C1 6002 C2 6003 C2 6004 C1 6005 B4 6006 B3 6007 B3 6008 C3 6009 C4 6010 C4 6011 D3 6012 C5 6013 B5 6014 B5 6015 B5 6016 A5 6017 A5 7001 A3 7002 B2 7003 B3 7004 B4 7005 B3 7006 C3 7007 C3 7008 D5 7009 D5 1 2 3 4 1007 1 2 3 4 5 6 7 8 1006 1 2 3 4 5 1005 F2 F1 -30V +5V +5V +5V -12V +12V +12V +5V STDBY 1002 2001 100nF 2002 220nF 6002 1001 2005 68uF/400V 6005 2008 10nF/1KV 3004 51K/1W 7004 IR FBC40A 3016 0.75R/1W 2007 1nF 5003 3002 8R 7002 7005 7006 3007 100K 3008 100K 2010 220pF 7003 7007 3009 7K5 3011 1K 3012 100K 3017 510R 3014 15R 2016 680pF 3021 1K 2013 22uF/50V 7008 Q817B 7009 WL431 6012 SR560 3025 510R 3023 1K8 3027 3K 2018 100nF 3026 7K5 3006 96K 3022 1K 6010 3003 300K/1W 2020 1000uF/10V 5004 12uH 2021 470uF/10V 6013 FR302 6016 FR104 6014 HER108 2023 470uF/16V 2024 470uF/16V 6001 6003 6004 3030 100R/1W 3031 180R/1W 5006 12uH 2026 220uF/16V 2027 470uF/16V 2029 100uF/50V 3036 1K 5005 12uH 3029 10R/1W 2019 1nF 2022 220pF 3032 510R/1W 7001 2011 4u7F/35V 6007 24V 3018 1K2 6017 FR104 3038 1R5 3035 1K AC3.5V -30V -12V +12V +5V 2003 470pF 2004 470pF 2015 470pF 3001 470V 2025 220pF 2028 220pF 2031 470uF/10V 2030 220pF 3028 56K 2009 220pF/1KV 3010 10R/1W 1004 6015 9V1 3033 12K 3034 0R 3024 2006 1nF 6009 1N4148 3020 1K/1W 2014 1uF/50V 2017 1uF/50V 3013 130R 3019 10K 3037 3R 3039 2R 6008 1N4148 2012 10nF 3015 2K4 6011 20V 6006 27V 3005 91K 3040 6K8 ! ! ! ! ! ! ! ! ! ! ! ! ! ! 5002 350uH 5001 28mH A B C D 1 2 3 4 5 6 7 1 2 3 4 5 6 7 A B C D (4//1005 (5//1005 (7//1006 (3//1005 (4//1007 (5//1006 (4//1006 (2//1006 (3//1007 (1//1005 (1//1007 (1//1006 (2//1007 (3//1006 (2//1005 (6//1006 for adjust output voltage �� A A B B C C D D E E 4 4 3 3 2 2 1 1 Clock Circuit PAGE LCEx# FUNCTION 0 1 2 3 IO EXPAND ROM/FLASH IO EXPAND AUXx FUNCTION 0 1 2 3 4 5 6 7 INTERRUPT I2C CLOCK I2C DATA VFD CS# VFD CLK SWAN ES4428 SRAM VFD DATA 6 1 4 5 3 2 MEMORY - SDRAM, ROM & SRAM SWAN ES4428 CHIP DVD DRIVE INTERFACE INDEX MPEG board DVD708/931 VCC VCC3 DIGITAL 5V DIGITAL 3.4V GNDV VIDEO GROUND GND DIGITAL GROUND POWER GROUND ES4428, SDRAM NAME TYPE DEVICE NAME TYPE SUPPLY VIDEO ENCODER THE INFORMATION HAS BEEN CHECKED AND IS BELIEVED TO BE RELIABLE. HOWEVER, NO RESPONSIBILITY IS ASSUMED FOR INNACCURACIES. CIRCUIT DIAGRAMS ARE PROVIDED AS A MEANS OF ILLUSTRATING TYPICAL APPLICATIONS; CONSEQUENTLY COMPLETE INFORMATION FOR CONSTRUCTION PURPOSES IS NOT NECESSARILY GIVEN. ESS RESERVES THE RIGHT TO MAKE CHANGES AT ANY TIME IN ORDER TO IMPROVE THE DESIGN. CLOCK CIRCUIT 7 6-CHANNEL AUDIODAC AUDIO DEM0 MUTE Clock Circuit Package: SOT-23 5L TO 4428(105 116 117) TO 4428(49) TO 4955 RST# VCC VCC 2651 0.1U 2610 22pF(CRYSTAL) 2657 10UF 5708 27MHz 2 1 3 4 G N Q V 5707 27.000MHz XTAL 3760 33 OHM 3759 47 OHM 2661 0.1U 3678 0 OHM 7607 V6300 1 2 3 4 5 NC GND NC RES VDD 3618 10 OHM 3682 33 OHM 3675 1M(OPEN) 2663 100P 2688 22P 7603A OPEN 1 2 7603B OPEN 3 4 2748 22pF(CRYSTAL) �� A A B B C C D D E E 4 4 3 3 2 2 1 1 SWAN ES4428 +5V IR GND VFD-CLK VFD-CS VFD-DATA VFD I2C ADDR = 0XA0 2642 C4 2741 D4 3601 D4 3604 E3 3606 E3 3607 A3 3610 A3 3608 E3 3609 E2 3611 E2 3613 E2 2742 D1 3683 E1 3680 E2 3684 E1 3612 E2 1608 E1 2638 B4 3605 E3 2633 B4 3603 D4 3679 E2 2658 D4 7627 D4 3614 E1 ES4428 DVD Processor LA0 LA1 LA2 LA3 LA4 LA5 LA6 LA7 LA8 LA9 LA10 LA11 LA12 LA13 LA14 LA15 LA16 LA17 LA18 LA19 LA20 LA21 LD0 LD1 LD2 LD3 LD4 LD5 LD6 LD7 HA0 HA1 HA2 HD0 HD1 HD2 HD3 HD4 HD5 HD6 HD7 HD8 HD9 HD10 HD11 HD12 HD13 HD14 HD15 TWS TSD0 TSD1 TSD2 YUV0 YUV1 YUV2 YUV3 YUV4 YUV5 YUV7 YUV6 DMA0 DMA1 DMA2 DMA3 DMA4 DMA5 DMA6 DMA7 DMA11 DMA9 DMA10 DMA8 DB0 DB1 DB2 DB3 DB4 DB5 DB7 DB6 DB8 DB9 DB11 DB10 DB12 DB13 DB15 DB14 TDMDX TWS TDMDX SPDIF_IN TSD0 TSD1 AUX0 AUX1 +12V DCLK RST# LCS3# WRLL# LOE# LA[0..21] LD[0..7] HRST# HRD# HWR# HIORDY HCS1# HIOCS16# HCS3# HIRQ HA[0..2] HD[0..15] MCLK TBCK TWS TSD0 TSD1 TSD2 SPDIF PCLK2X HSYNC VSYNC YUV[0..7] DCS0# DRAS0# DCAS# DWE# DQM DSCK DMA[0..11] DB[0..15] AUX0 AUX1 AUX2 AUX3 AUX4 AUX6 AUX7 XIN AUX4 AUX7 AUX6 AUX2 AUX5 RBCK RWS RSD SPDIF1 LCS2# DBANK0 DBANK1 DCKE TBCK TWS TBCK- TWS- TSD1 TSD1- TSD2 TSD2- SPDIF RST# VCC3 VCC VCC VCC VCC25 VCC VCC VCC VCC 2742 470PF (NPO) 3601 4.7K 3603 4.7K TP1 3610 4.7K TP2 2741 22PF 3613 33 OHM 3615 33 OHM 1608 HEADER-5(2.0mm) 1 2 3 4 5 6 3614 33K 3766 2.2R 0.1U 2642 3679 33 OHM 3680 33 OHM 3683 33 OHM 3684 33 OHM 2633 10UF 6630 HER203 1 7601 ES4428Q VCC33 183 HD0/DCI[0] 122 HD1/DCI[1] 123 HD2/DCI[2] 124 HD3/DCI[3] 125 HD4/DCI[4] 126 HD5/DCI[5] 127 HD6/DCI[6] 128 VSS 129 DMA0 53 LA4 2 DMA1 54 VCC33 1 DMA2 55 LA5 3 DMA3 56 LA6 4 DMA4 57 LA7 5 DMA5 58 LA8 6 LA9 7 VSS 8 VCC33 18 LA10 10 LA11 11 LA12 12 LA13 13 LA14 14 LA15 15 LA16 16 VSS 17 VCC33 27 LA17 19 LA18 20 LA19 21 LA20 22 LA21 23 RESET 24 TDMDX/RSEL 25 VSS 26 VCC-AD 51 TDMDR 28 TDMCLK 29 TDMFS 30 TDMTSC 31 TWS/SEL_PLL1 32 TSD0/SEL_PLL0 33 VSS 34 VCC33 59 TSD1/SEL_PLL2 36 TSD2 37 TSD3 38 MCLK 39 TBCK 40 SPDIF_DOBM 41 SPDIF_DIBM 42 VSS 43 VCC33 68 RSD 45 RWS 46 RBCK 47 APLLCAP 48 XIN 49 XOUT 50 VCC33 75 VSS 52 VCC33 92 VSS 60 DMA6 61 DMA7 62 DMA8 63 DMA9 64 DMA10 65 DMA11 66 VSS 67 VCC33 99 DCAS 69 DOE/DSCK_EN 70 DWE 71 DRAS0 72 DRAS1 73 DRAS2 74 VCC33 104 VSS 76 DB0 77 DB1 78 DB2 79 DB3 80 DB4 81 DB5 82 VCC33 111 VSS 84 DB6 85 DB7 86 DB8 87 DB9 88 DB10 89 DB11 90 VSS 91 VCC33 130 DB12 93 DB13 94 DB14 95 DB15 96 DCS1 97 VSS 98 VCC33 148 DCS0 100 DQM 101 DSCK 102 VSS 103 VCC33 157 CLK 105 YUV0 106 YUV1 107 YUV2 108 YUV3 109 YUV4 110 VCC33 164 VSS 112 YUV5 113 YUV6 114 YUV7 115 PCLK2XSCN 116 PCLKQSCN 117 VSSCN 118 HSSCN 119 VSS 120 VCC33 193 HD7/DCI[7] 131 HD8/DCI_FDS 132 HD9 133 HD10 134 HD11 135 HD12 136 HD13 137 VSS 138 VCC33 201 HD14 140 HD15 141 HWRQ/DCI_REQ 142 HRDQ 143 HIRQ/DCI_ERR 144 HRST 145 HIORDY 146 VSS 147 VCC25 9 HWR/DCI_CLK 149 HRD/DCI_ACK 150 HIOCS16 151 HCS1FX 152 HCS3FX 153 HA0 154 HA1 155 VSS 156 VCC25 35 HA2 158 VPP 159 AUX0 160 AUX1 161 AUX2 162 VSS 163 VCC25 44 AUX3 165 AUX4 166 AUX5 167 AUX6 168 AUX7 169 LOE 170 VSS 171 VCC25 83 LCS0 173 LCS1 174 LCS2 175 LCS3 176 VSS 177 LD0 178 LD1 179 LD2 180 LD3 181 LD4 182 VCC25 121 VSS 184 LD5 185 LD6 186 LD7 187 LD8 188 LD9 189 LD10 190 LD11 191 VSS 192 VCC25 139 LD12 194 LD13 195 LD14 196 LD15 197 LWRLL 198 LWRHL 199 VSS 200 VCC25 172 NC 202 NC 203 LA0 204 LA1 205 LA2 206 LA3 207 VSS 208 3607 4.7K 2638 0.1U 3604 1K 3611 0 OHM 7602 CAT24C01(OPEN) DC/NC 1 RST_/NC 2 WP/RST_ 3 VSS 4 SDA 5 SCL 6 RST/WP 7 VCC 8 3609 0 OHM 3606 0 OHM 3612 0 OHM 3605 1K 3608 OPEN 7627 78L05 IN 1 OUT 3 GND 2 2658 10UF MPEG board DVD708/931 DVD Processor �� A A B B C C D D E E 4 4 3 3 2 2 1 1 MOST LEAST CLOCKS ADDRESS CAS RAS WE CSx DQM CRITICAL TRACES 32Mbit SDRAM BA0=0 32Mbit SDRAM BA0=1 32Mbit SDRAM BA1=0 32Mbit SDRAM BA1=1 3781 OPEN OPEN CLOSE CLOSE CLOSE CLOSE CLOSE CLOSE CLOSE CLOSE 64Mbit SDRAM CLOSE CLOSE OPEN OPEN OPEN OPEN OPEN OPEN OPEN OPEN OPEN OPEN OPEN OPEN OPEN OPEN OPEN OPEN OPEN OPEN OPEN OPEN OPEN OPEN OPEN 3782 3783 3784 3785 3787 3786 ES4318/4428 Rev-Q 32Mbit SDRAM BA0=0 32Mbit SDRAM BA0=1 32Mbit SDRAM BA1=0 32Mbit SDRAM BA1=1 3788 3791 3789 ES4318/4428 Rev-S 3790 CLOSE CLOSE CLOSE CLOSE 3792 CLOSE CLOSE CLOSE CLOSE CLOSE CLOSE 3784 3785 3786 3787 3793 CLOSE CLOSE CLOSE CLOSE OPEN OPEN OPEN OPEN OPEN OPEN OPEN OPEN OPEN OPEN OPEN OPEN OPEN CLOSE CLOSE CLOSE CLOSE CLOSE CLOSE CLOSE CLOSE CLOSE OPEN OPEN OPEN CLOSE CLOSE CLOSE 3795 CLOSE CLOSE CLOSE CLOSE CLOSE 3794 CLOSE CLOSE CLOSE CLOSE Leave 3788,3789,3791,3793,3794 open Leave 3781,3782,3783,3790,3792,3795 open current configure is Rev-S BA1=0 FOR FLASH: R37,R39 CLOSE; R36,R38 OPEN 3796 A4 3797 A4 3798 A3 3636 A2 3637 A1 3638 A1 7605 B2 3768 C1 3771 C1 3770 D1 7625 C2 3769 D1 3799 B4 3635 C4 3784 C4 3781 B4 3786 C4 3788 C4 3791 B3 3787 C3 3785 C3 3783 B4 3789 C3 3792 B3 2768 D4 3794 C3 3795 B3 3793 C3 7626 D4 2738 D4 ROM, SDRAM, SRAM & ROM Emulator LD5 LD4 LD2 LD0 LD1 LD3 LD7 LD6 LOE# LA11 LA8 LA4 LA10 LA3 LA15 LA19 LA18 LA0 LA14 LA2 LA17 LA16 LA12 LA1 LA7 LA13 LA9 LA6 LA20 LA5 LA18 WRLL# LA19 FLASHVCC LD3 RST# LD1 LD0 LD2 WRLL# LOE# LD7 LD4 LD6 LD5 LA16 LA6 LA2 LA9 LA11 LA17 LA18 LA5 LA4 LA3 LA13 LA14 LA7 LA10 LA12 LA15 LA1 LA8 LA0 LA19 FLASHCE MA0 MA1 MA2 MA3 MA6 MA4 MA7 MA5 MA11 MA9 MA10 MA8 CKE CS0# RAS0# WE# CAS# DQMX DB0 DB1 DB2 DB3 DB4 DB5 DB7 DB6 DB8 DB9 DB11 DB10 DB12 DB13 DB15 DB14 RAS0# CAS# WE# DQMX CKE BANK0 BANK1 DMA11 MA11 CS0# DMA0 DMA1 DMA2 DMA3 DMA4 DMA5 DMA6 DMA7 DMA8 DMA9 DMA10 MA0 MA1 MA2 MA3 MA4 MA5 MA6 MA7 MA8 MA9 MA10 DMA11 LA[0..21] LOE# LCS3# LD[0..7] LCS2# LCS3# DSCK DB[0..15] DRAS0# DCAS# DWE# DQM DCS0# DBANK0 DBANK1 DCKE DMA[0..11] VCC VCC3 VCC VCC33 VCC3 VCC3 VCC3 TP3 7605 27C040 (90ns)(OPEN) A0 12 A1 11 A2 10 A3 9 A4 8 A5 7 A6 6 A7 5 A8 27 A9 26 A10 23 A11 25 A12 4 A13 28 A14 29 A15 3 D0 13 D1 14 D2 15 D3 17 D4 18 D5 19 D6 20 D7 21 A16 2 CE 22 OE 24 A18 31 A17 30 A19 1 VCC 32 GND 16 3636 3637 0 OHM (0 OHM) 3638 3770 0 OHM 3769 OPEN 7625 29W800AT TSOP-48 DQ0 29 A0 25 DQ1 31 A1 24 DQ2 33 A2 23 DQ3 35 A3 22 DQ4 38 A4 21 DQ5 40 A5 20 DQ6 42 A6 19 DQ7 44 A7 18 DQ8 30 A8 8 DQ9 32 A9 7 DQ10 34 A10 6 DQ11 36 A11 5 DQ12 39 A12 4 DQ13 41 A13 3 DQ14 43 A14 2 DQ15/A-1 45 A15 1 A16 48 A17 17 CE 26 OE 28 RST 12 BYTE 47 A18 16 VCC 37 GND 27 GND 46 WE 11 3771 0R 3768 OPEN 2738 15P 7626 64MB /-7 VCC 1 DQ0 2 DQ1 4 VSSQ 6 DQ2 5 DQ3 7 VCCQ 3 DQ4 8 DQ5 10 VSSQ 12 DQ6 11 DQ7 13 VCCQ 9 DQML 15 WE 16 CAS 17 RAS 18 CS 19 A11 35 A10 22 A0 23 A1 24 A2 25 A3 26 VCC 14 VSS 28 A4 29 A5 30 A6 31 A7 32 A8 33 A9 34 NC 36 CKE 37 CLK 38 DQMH 39 NC 40 VCCQ 43 DQ8 42 DQ9 44 VSSQ 46 DQ10 45 DQ11 47 VCCQ 49 DQ12 48 DQ13 50 VSSQ 52 DQ14 51 DQ15 53 VSS 41 BA0 20 BA1 21 VCC 27 VSS 54 3635 33 OHM 3792 OPEN 3781 OPEN 3782 OPEN 3795 OPEN 3783 OPEN 3787 33 OHM 3786 OPEN 3784 OPEN 3785 OPEN 3789 OPEN 3788 33 OHM 3790 OPEN 3791 33 OHM 3793 33 OHM 3794 4.7k 3796-1 10 OHM 1 8 3796-2 10 OHM 2 7 3796-3 10 OHM 3 6 3797-1 10 OHM 1 8 3797-3 10 OHM 3 6 3798-1 10 OHM 1 8 3798-2 10 OHM 2 7 3798-4 10 OHM 4 5 3796-4 10 OHM 4 5 3797-2 10 OHM 2 7 3797-4 10 OHM 4 5 3798-3 10 OHM 3 6 3799-1 10 OHM 1 8 3799-2 10 OHM 2 7 3799-3 10 OHM 3 6 3799-4 10 OHM 4 5 2768 150P ROM, SDRAM, SRAM & ROM Emulator MPEG board DVD708/931 �� A A B B C C D D E E 4 4 3 3 2 2 1 1 FRONT ADJ OUT INP EZ1086 3645 A4 3642 A4 3641 A4 3640 A4 3651 A3 3648 A4 3647 A4 3646 A4 3655 A2 3654 A3 3653 A3 3652 A3 3661 A2 3659 A2 3658 A2 3656 A2 3665 A2 3664 A2 3663 A2 3662 A2 3669 A1 3668 A1 3667 A1 3666 A1 3643 B4 3672 A1 3671 A1 3670 A1 3650 D3 3649 E3 1609 C4 3644 C4 3657 E2 1601 E3 3660 E2 7702 D2 2629 E2 2611 D3 2624 D2 2630 E2 2612 D3 2614 E3 2615 D3 2613 D3 2745 B3 2608 C3 2746 C3 2747 C3 2618 C3 2617 C3 2616 B3 2609 C3 2622 C3 2620 C3 2621 C3 2619 C3 2626 C2 2627 C2 2632 C2 2625 C2 2634 C2 2637 C2 2639 C2 2636 B2 2640 C2 2653 C1 2649 C1 2693 D1 2641 E1 2655 C1 2652 B1 2643 E1 DVD Loader ATAPI Interface HD7 HD0 HD2 HD3 HD4 HD5 HD6 HD1 HD12 HD14 HD10 HD8 HD9 HD11 HD13 HD15 DD1 DD0 DD3 DD2 DD5 DD4 DD7 DD6 DD9 DD8 DD11 DD10 DD13 DD12 DD15 DD14 DRST# DIOCS16# DWR# DRD# DIORDY DACS1# DACS3# DA0 DA1 DA2 DIRQ DRST# DWR# DRD# DIOCS16# DACS1# DACS3# DA0 DA1 DA2 DIRQ HA0 HA1 HA2 DD8 DD9 DD10 DD11 DD12 DD13 DD14 DD15 DD7 DD6 DD5 DD4 DD3 DD2 DD1 DD0 DIORDY NC HD[0..15] HWR# HRD# HRST# HIORDY HIOCS16# HCS1# HCS3# HIRQ HA[0..2] VCC VCC VCC VCC3 VCC3 VCC VCCA VCC +12V VCC28 -12VA 3662 33 OHM 3661 33 OHM 3659 33 OHM 3658 33 OHM 3655 33 OHM 3664 33 OHM 3656 33 OHM 3665 33 OHM 3666 33 OHM 3667 33 OHM 3668 33 OHM 3669 33 OHM 3670 33 OHM 3671 33 OHM 3672 33 OHM 3663 33 OHM 3640 47 OHM 3641 47 OHM 3642 47 OHM 3645 47 OHM 3646 47 OHM 3647 47 OHM 3648 47 OHM 3652 33 OHM 3654 33 OHM 3651 47 OHM 3653 33 OHM 3643 4.7K 1609 HEADER-2X20 (2.54mm) RESET 1 GND 2 D7 3 D8 4 D6 5 D9 6 D5 7 D10 8 D4 9 D11 10 D3 11 D12 12 D2 13 D13 14 D1 15 D14 16 D0 17 D15 18 GND 19 KEY 20 DRQ 21 GND 22 IOW 23 GND 24 IOR 25 GND 26 IOCHRDY 27 BALE 28 DACK 29 GND 30 IRQ14 31 IOCS16 32 A1 33 RESERVED 34 A0 35 A2 36 CS0 37 CS1 38 ACTIVITY 39 GND 40 3644 4.7K 2745 0.1UF 2746 0.1UF 2747 0.1UF 2608 0.1UF 2609 0.1UF 2617 0.1UF 2616 0.1UF 2619 0.1UF 2618 0.1UF 2620 0.1UF 2622 0.1UF 2621 0.1UF 2632 10UF 2634 100UF 2643 0.1UF 2641 0.1UF 2625 0.1UF 2626 0.1UF 2627 0.1UF 2653 0.1UF 2652 0.1UF 2629 0.1UF 2630 100UF 2655 10UF 7702 AMS2910/EZ1086 IN 3 OUT 2 ADJ 1 2624 OPEN (10UF) 3657 390 OHM(1%) 1% (390 OHM) 3660 680 OHM(1%) 2611 220UF 2613 0.1UF 2615 100UF/25V 2636 0.1UF 2637 0.1UF 2639 0.1UF 2640 0.1UF 1601 HEADER 8 1 2 3 4 5 6 7 8 2614 100UF/25V 3649 150 OHM 3650 150 OHM 2612 100UF 2693 10UF 3780 15K 2649 0.1UF DVD Loader ATAPI Interface MPEG board DVD708/931 �� A A B B C C D D E E 4 4 3 3 2 2 1 1 Two ground plane connected throught a single trace. 2692 C4 2635 A1 2695 B1 2696 B1 2697 B1 2698 B1 2699 B1 3617 B2 3708 B2 3632 B1 3701 C4 3700 C4 3705 C3 3633 D3 3707 D3 3711 C2 3709 D2 3710 D2 7613 B4 CS4954 TV Encoder YUV4 AUX0 YUV7 YUV2 YUV5 YUV0 AUX1 YUV6 YUV3 YUV1 CB VCONTROL AUX0 AUX1 YUV[0..7] RST# ADCLK HSYNC VSYNC CVBS1 LUMA Y/G Cb/B Cr/R CHROMA VCC3 VCCV VCCV VCCV VCC 2692 0.1UF 3708 3.9K (1%) 3700 10 OHM 3701 10 OHM 2635 100UF 3705 75 3633 75 3707 75 7613 CS4955 CLOCK 29 RESET 34 V0 1 V1 2 V2 3 V3 4 V4 5 V5 6 V6 7 V7 8 PDAT0 26 PDAT1 25 PDAT2 24 PDAT3 23 PDAT4 22 PDAT5 21 PDAT6 20 PDAT7 19 RD 27 WR 28 TTXDAT 30 TTXRQ 31 SDA 32 SCL 33 TEST 13 VDD 17 VAA 36 VAA 41 VAA 46 VREF 38 FIELD/CB 9 HSYNC/CB 10 VSYNC 11 CVBS 44 Y 48 C 47 RED 39 GREEN 40 BLUE 43 ISET 37 GNDD 18 GNDA 35 GNDA 42 GNDA 45 INT 12 XTALOUT 14 XTALIN 15 PADDR 16 3710 75 5610 OPEN 2697 0.1UF 2699 0.1UF 2698 0.1UF 2696 0.1UF 2695 220UF 3711 75 3709 75 3632 0 OHM 3617 4.7 OHM(1/4W) 3741 OPEN CS4954 TV Encoder MPEG board DVD708/931 �� A A B B C C D D E E 4 4 3 3 2 2 1 1 6612 B4 6613 B4 6614 B3 6615 B3 6616 B3 6617 B3 6601 B2 6602 B2 6603 B1 6604 B1 6607 B2 6608 B1 2740 C4 5602 C4 5605 C3 5606 B2 5607 B1 5608 C3 5609 B1 2778 C4 2779 C4 2780 C3 2781 C3 2782 C2 2783 C2 2601 B2 2602 B2 2603 B1 2604 B1 2605 B1 2606 B1 1604 D3 1607 D2 Video Output CVBS1 CHROMA LUMA Y CR CB LUMA CHROMA CVBS1 CB CR Y VCC VCC VCC VCC VCC VCC 6612 1N6263 2 1 5608 2.7UH 2780 100PF 1604 6 6 5 5 4 4 3 3 2 2 1 1 7 7 9 9 8 8 6616 1N6263 2 1 6613 1N6263 2 1 2781 270PF 5602 1.8UH 6617 1N6263 2 1 2782 680PF 2783 270PF 2779 270PF 5604 1UH 6615 1N6263 2 1 2778 100PF 5605 2.7UH 6614 1N6263 2 1 6601 1N4148 2 1 5607 2.7UH 2605 100PF 6603 1N4148 2 1 2606 100PF 6602 1N4148 2 1 5606 1.8UH 6604 1N4148 2 1 2603 100PF 2602 100PF 2604 100PF 2601 100PF 6608 1N4148 2 1 5609 2.7UH 6607 1N4148 2 1 1607 RCA CONN 3 1 2 3 2740 100PF Video Output MPEG board DVD708/931 �� A A B B C C D D E E 4 4 3 3 2 2 1 1 All capacitors should be placed close to power and ground of the DACs 2667 B4 2668 B4 3687 B4 2672 B3 2673 B3 2675 B3 2674 B3 2665 D4 2666 D4 3688 D4 3689 A3 2683 B2 3690 A3 2684 B2 3691 B2 3616 B1 2743 C2 3698 C2 3696 C2 3699 C1 3673 D2 3677 D1 2685 D1 2690 D1 3697 D1 2776 D2 3692 D2 2656 D2 5704 E1 5702 E2 5705 E2 5703 E2 2645 E2 2646 E2 2671 E1 7609 A4 1602 E1 7610 C4 7611 A2 7612 C1 6-channel AudioDACs ZERO1 L R Ls LFE ZERO0 Ls LFE L R DIF0 AUX5 ZERO0 DIF0 Ls LFE Rs C ZERO2 RST TSD0- TWS- TBCK- AUDCLK AUDCLK TWS- TBCK- TSD1- AUX5 RSD RBCK RWS AUDCLK AOUT0L AOUT0R ZERO0 AOUT1L AOUT1R ZERO1 MUTE +5V -12V AUDCLK TWS- TBCK- TSD1- AUD_R AOUT2R ZERO2 AUD_L AOUT2L VCCA VCCA VCCA VCCA VCCA 2673 1UF(40) 2674 1UF(40) 2672 0.1UF(40) 2675 0.1UF(40) 7609 CS4340 RST 1 SCLK/DEM1 3 SDATA 2 LRCK 4 MCLK 5 DIF1 6 DIF0 7 DEM0 8 VA 14 AOUTL 15 AOUTR 12 MUTEC 16 FILT+ 9 VQ 10 REF_GND 11 AGND 13 2667 10UF 2668 0.1UF 2665 10UF 2666 0.1UF 2684 0.1UF 2683 10UF 2690 68N 2685 68N 3696 1K 3698 1K 3699 1K 7612 CS5331A SDATA 1 SCLK 2 LRCK 3 MCLK 4 AINR 5 GNDA 6 VA+ 7 AINL 8 3687 10 OHM 3691 10 OHM 3688 10 OHM 3697 1K 3689 OPEN 3690 0 OHM 2656 10UF 3673 4.7K 3677 4.7K 5704 BEAD 5705 BEAD 1602 TO MIC BOARD 1 2 3 4 5 6 7 8 2776 100UF 3616 0 OHM 7610 CS4334 SDATA 1 LRCK 3 SCLK 2 MCLK 4 AOUT-R 5 GND 6 VCC 7 AOUT-L 8 7611 CS4334 SDATA 1 LRCK 3 SCLK 2 MCLK 4 AOUT-R 5 GND 6 VCC 7 AOUT-L 8 3692 10 OHM 2645 330P 2646 330P 2671 0.1U 5702 4.7K 5703 4.7K 2743 0.1U AudioDACs MPEG board DVD708/931 Only used for 6 channels Only used for karaoke Only used for 6 channels �� A A B B C C D D E E 4 4 3 3 2 2 1 1 2788 A3 2791 A2 2795 A2 2701 A1 2798 A2 2702 A1 3717 A1 2704 A1 3621 A3 3706 B3 3703 B3 2790 A3 3624 A2 2797 A2 3625 B2 3712 B2 3715 B2 3716 B1 2700 A1 3718 A1 2703 B1 3719 A1 2785 B3 2792 B2 2799 B2 7621 B4 7623 B2 7622 B3 2786 C3 2789 D3 2793 C2 2794 E2 2796 D2 2787 E3 3622 D3 3623 D3 3626 D2 2725 C2 3713 D2 3714 A2 3629 D3 2726 C2 2727 C2 2728 D2 2729 D2 2730 D2 2732 D2 2731 D3 2733 E2 2734 E2 2735 E2 2736 E2 3620 D2 2784 A3 FL , FR , LS , RS , C & LFE FILTERS LFE_OUT RS_OUT AOUT2R AOUT2L C_OUT LS_OUT AOUT1R AOUT1L AOUT0R AUD_R AOUT0L AUD_L -12VA +12VA -12VA +12VA -12VA +12VA -12VA +12VA +12VA +12VA -12VA -12VA +12V -12V 2799 150PF 2785 150PF 2798 10UF 2703 150PF 3714 11K 1 3715 3.3K 1 3716 18K 1 3621 11K 1 3706 18K 1 3703 3.3K 1 3717 11K 1 3718 3.3K 1 3719 18K 1 2700 1000PF 2784 68n +/-10% 2790 1000PF 2788 68n +/-10% 2702 68n +/-10% 2701 68n +/-10% 2792 150PF 3624 11K 1 3625 3.3K 1 3712 18K 1 2797 1000PF 2791 68n +/-10% 2795 68n +/-10% V+ V- 7623-1 4558 3 2 1 8 4 2704 1000PF V+ V- 7621-1 4558 3 2 1 8 4 V+ V- 7623-2 4558 5 6 7 8 4 V+ V- 7622-1 4558 3 2 1 8 4 3626 3.3K 1 V+ V- 7621-2 4558 5 6 7 8 4 2789 1000PF 3622 3.3K 1 2787 150PF 2793 10UF 3713 18K 1 3623 18K 1 3620 10K 1 V+ V- 7622-2 4558 5 6 7 8 4 3629 10K 1 2794 150PF 2796 1000PF 2786 10UF 2733 0.1UF 2732 0.1UF 2730 10UF/25V 2731 0.1UF 2726 0.1UF 2734 10UF/25V 2736 10UF/25V 2727 0.1UF 2735 10UF/25V 2728 10UF/25V 2729 10UF/25V 2725 0.1UF FL , FR , LS , RS , C & LFE FILTERS MPEG board DVD708/931 Only used for 6 channels �� A A B B C C D D E E 4 4 3 3 2 2 1 1 S/PDIF INPUT MUTE CIRCUIT MUTE CIRCUIT 2705 A4 2708 A4 2706 B4 2709 C4 2707 D4 2710 D4 2711 A4 2712 B4 2713 D4 2714 A4 2715 B4 2716 D4 2717 B3 2718 A3 2720 B2 2719 C3 2721 E2 2722 A2 2723 B1 2724 A1 2774 C2 2767 C2 3723 A4 3724 B4 3721 C4 2775 C2 3722 D4 3720 A4 3728 D4 3729 A4 3726 A4 3725 D4 3727 C4 3730 B4 3735 A4 3736 B4 3731 D4 3733 B4 3734 D4 3732 A4 6619 A3 3737 D4 6618 B3 3738 B3 7729 B3 3740 B3 3747 A3 7730 B3 3746 B3 3743 A3 3744 B3 6622 A2 3748 B2 6620 B3 7731 B3 6621 B2 3751 B2 3755 B2 3756 A2 7732 B2 3753 B2 3754 A2 3752 A2 3758 A1 6623 B2 7733 B2 3759 A1 7734 A2 3742 C3 3739 C3 6625 A1 7735 B1 3763 B1 6624 B1 1606 D1 3765 C3 1605 D2 3749 D2 3757 E1 3750 D2 6605 A3 7624 C3 3775 A4 1603 E4 3774 A4 7726 B4 7723 B4 7725 D4 7724 C4 7727 C4 7728 D4 AUDIO CONNECTORS & SPDIF CIRCUITRY FL FR QUIET0 QUIET0 MUTE1 MUTE1 LS RS MUTE1 MUTE1 FL FR LS RS SUB C C SUB QUIET0 RMAIN LMAIN QUIET2 MUTE1 MUTE1 AUD_L AUD_R C_OUT LFE_OUT LS_OUT RS_OUT SPDIF1 ZERO0 MUTE VCC +12V -12VA VCC VCC -12VA -12VA +12V VCCA VCCA +12V VCCA VCCA 2705 10UF 2708 22PF 7723 BC548 2 1 3 2711 10UF 2714 22PF 7726 BC548 2 1 3 2710 22PF 2707 10UF 7725 BC548 2 1 3 2716 22PF 2713 10UF 7728 BC548 2 1 3 2709 22PF 2706 10UF 7724 BC548 2 1 3 2715 22PF 2712 10UF 7727 BC548 2 1 3 1606 TOTX178 GND 1 VCC 2 IN 3 NC 4 NC 5 3723 100K 1 3720 560 OHM 1 3732 100K 1 3729 560 OHM 1 3726 470 1 3735 470 1 3722 560 OHM 1 3725 100K 1 3731 560 OHM 1 3734 100K 1 3728 470 1 3737 470 1 3721 560 OHM 1 3724 100K 1 3730 560 OHM 1 3733 100K 1 3727 470 1 3736 470 1 3757 68 OHM 1 6618 IN4148 1 3738 6.8K 1 3740 2.2K 1 2717 47uF/25V 1 6619 IN4148 1 2718 10uF/25 1 3746 220K 1 3742 330 OHM 1 3739 10M 1 3765 1M 1 2721 0.1UF 3749 330 OHM 1 3750 91 OHM 1 2719 0.1UF 7624B 7404 3 4 7624D 7404 9 8 7624A 7404 1 2 7624E 7404 11 10 7624F 7404 13 12 7624C 7404 5 6 1603 RCA CONN 6 4 2 1 10 6 8 3 5 7 9 11 2767 104 2774 104 2775 10uF 7729 BC558 2 1 3 2722 10uF/25 1 2720 47uF/25V 1 3755 220K 1 7732 BC558 2 1 3 3751 2.2K 1 3759 2.2K 1 6625 IN4148 1 2723 47uF/25V 1 2724 10uF/25 1 6624 IN4148 1 7735 BC558 2 1 3 3763 220K 1 1605 RCA CONN 3 1 2 3 7730 BC558 2 1 3 7731 BC548 2 1 3 6620 IN4148 1 3747 470 OHM 1 3744 1K 1 3743 1K 1 6621 IN4148 1 3748 6.8K 1 6622 IN4148 1 3756 470 1 7734 BC548 2 1 3 3752 1K 1 3753 1K 1 7733 BC558 2 1 3 6623 IN4148 1 3754 10K 1 3758 6.8K 1 3774 470 1 3775 470 1 6605 IN4148 1 AUDIO CONNECTORS & SPDIF CIRCUITRY MPEG board DVD708/931 Only used for 6 channels �� G6 G5 G4 G3 G2 G1 P1 P2 P3 P4 P5 P6 P7 P8 P9 P10 2402 100n 3411 4k7 3406 10k 1414 STOP 1415 PAUSE 1416 PLAY 1411 O/C 1412 PREV 1413 NEXT 3410 4k7 3409 4k7 3408 4k7 1 2 3 4 5 1403 DIPMATE 3403 10k 3404 10k 2401 2n2 3402 10k 3400 470R VCC 6401 1N4148 VCC1 T149 T150 T111 T112 T113 T114 2404 100n GND T148 3407 47R 2403 47u GND VKK VIR VGL+1 VGL-1 T115 T153 7401 IR 1417 3D-SOUND GND 1 6420 LTL-1CHPE 2 3414 4R7 3 2406 47u GND T100 +5V GND F1 -40V F2 GND GND VCC1 GND GND VCC GND 6400 1N4148 GND GND GND GND 3401 56k 2400 1n GND VCC1 6404 6403 BZX79C24V 3413 680R 3405 1k T151 T152 VCC1 3430 100R 3431 100R 3432 100R VEE A B C D 1 2 3 4 5 6 7 8 1 2 3 4 5 A B 1400 1401 1403 1404 1405 1406 1411 1412 1413 1414 1415 1416 1417 1418 2400 2401 2402 2403 2404 2406 3400 3404 3401 3405 3402 3406 3403 3407 3408 3409 3430 3431 3432 6400 3410 6401 3411 6402 3412 6403 3413 6404 3414 6420 7400 7401 9440 9441 9442 9443 DATA CLK CE IR GND SW1 1 SW2 2 SW3 3 SW4 4 DOUT 5 DIN 6 Vss 7 CLK 8 STB 9 KEY1 10 KEY2 11 KEY3 12 KEY4 13 VDD 14 S1/K1 15 S2/K2 16 S3/K3 17 S4/K4 18 S5/K5 19 S6/K6 20 Seg7 21 Seg8 22 Seg9 23 Seg10 24 Seg11 25 Seg12 26 S13/G10 28 S14/G9 29 S15/G8 30 S16/G7 31 VEE 27 G6 32 G5 33 G4 34 G3 35 G2 36 G1 37 VDD 38 LED4 39 LED3 40 LED2 41 LED1 42 Vss 43 OSC 44 LED Driver Segments/Key Scan Output Grids Output Display Memory Command Decoder Timing Generator Input Register Interface Serial Data Key Matrix Output Seg/Key 7400 PT6312 P11 P12 P13 P14 P15 P16 G1 G6 G5 G4 G3 G2 P16 P15 P14 P13 P12 P11 P10 P9 P8 P7 P6 P5 P4 P3 P2 P1 GND 6 7 8 C D VGL-DC * 6402 BZX79-C2V4 3412 47K GND VGL-1 GND T102 VGL-1 VGL+1 T103 T104 T105 VKK 2407 100n 2405 100n GND GND VCC VCC1 2405 2407 2410 2411 2412 2413 2414 2415 3420 3421 3422 3423 3424 3425 3426 7402 7403 7404 7405 A2 A2 A2 A3 A7 B1 B1 B1 B1 B1 B1 B2 B2 B2 B3 B5 B5 B5 B5 B6 B6 B6 B6 B7 B8 B8 B8 B8 C1 C1 C1 C1 C1 C1 C2 C2 C5 C5 C6 C6 C6 C6 C7 C7 C8 D1 D1 D1 D2 D2 D2 D2 D2 D2 D2 D2 D2 D2 D6 D6 D6 D6 D7 D7 D7 D7 D8 D9 C1 1 2 3 4 5 1401 5PINS DATA CLK CS DATA1 CLK1 CS1 TOTAL PROG DIGITAL ALL CD VCD MP3 dts dts 35 34 32 31 30 29 28 27 26 25 24 23 22 21 20 19 18 17 16 15 14 13 12 11 10 9 8 7 6 5 4 2 1 1400 DISPLAYER Front board DVD708/931 BARE WIRE !

标签:

版权声明

1. 本站所有素材,仅限学习交流,仅展示部分内容,如需查看完整内容,请下载原文件。
2. 会员在本站下载的所有素材,只拥有使用权,著作权归原作者所有。
3. 所有素材,未经合法授权,请勿用于商业用途,会员不得以任何形式发布、传播、复制、转售该素材,否则一律封号处理。
4. 如果素材损害你的权益请联系客服QQ:77594475 处理。