飞利浦32PFL340993液晶电视维修手册

分类:电子电工 日期: 点击:0
飞利浦32PFL340993液晶电视维修手册-0 飞利浦32PFL340993液晶电视维修手册-1 飞利浦32PFL340993液晶电视维修手册-2 飞利浦32PFL340993液晶电视维修手册-3 飞利浦32PFL340993液晶电视维修手册-4 飞利浦32PFL340993液晶电视维修手册-5 飞利浦32PFL340993液晶电视维修手册-6 飞利浦32PFL340993液晶电视维修手册-7 飞利浦32PFL340993液晶电视维修手册-8 飞利浦32PFL340993液晶电视维修手册-9

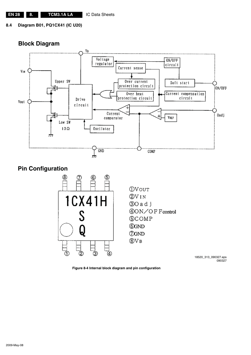
Mechanical Instructions EN 8 TCM3.1A LA 4. 2009-May-08 4. Mechanical Instructions Index of this chapter: 4.1 Service Positions 4.2 Cable Dressing and Taping 4.3 Assy/Panel Removal 4.4 Set Re-assembly Notes: • Figures below can deviate slightly from the actual situation, due to the different set executions. 4.1 Service Positions For easy servicing of this set, there are a few possibilities created: • The buffers from the packaging. • Foam bars (created for Service). 4.1.1 Foam Bars The foam bars (order code 3122 785 90580 for two pieces) can be used for all types and sizes of Flat TVs. See figure Figure 4-1 for details. Sets with a display of 42" and larger, require four foam bars [1]. Ensure that the foam bars are always supporting the cabinet and never only the display. Caution: Failure to follow these guidelines can seriously damage the display! By positioning the TV face down on the (ESD protective) foam bars, a stable situation is created to perform measurements and alignments. By placing a mirror under the TV, the screen can be monitored. Figure 4-1 Foam bars 4.2 Cable Dressing and Taping Figure 4-2 Cable dressing and taping 32" model E_06532_018.eps 171106 1 Required for sets 42" 1 5cm 18520_105_090318.eps 090318 Mechanical Instructions EN 9 TCM3.1A LA 4. 2009-May-08 Figure 4-3 Cable dressing and taping 42" model Figure 4-4 Cable dressing and taping 47" model 18520_100_090309.eps 090309 18520_106_090318.eps 090318 Service Modes, Error Codes, and Fault Finding EN 18 TCM3.1A LA 5. 2009-May-08 5.7 Software Upgrading 5.7.1 Introduction It is possible for the user to upgrade the main software via the USB port. A description on how to upgrade the main software can be found in the DFU and below. 5.7.2 Main Software Upgrade In “normal” conditions, so when there is no major problem with the TV, the main software and the default software upgrade application can be upgraded with the “upgrade.bin”. This can also be done by the consumers themselves via the Software Update Assistant in the user menu (see DFU), but they will have to download their software from the commercial Philips website. How to upgrade (see also figure 5-9 User SW upgrade flowchart): 1. Copy the “upgrade.bin” file to the root of the USB stick. 2. Power “off” the TV and remove all memory devices. 3. Insert the USB stick that contains the downloaded software upgrade. 4. Switch “on” the TV, and activate the Main menu with the “Menu/House” key on the remote control. 5. In the Main menu, go to the “Software update” item. 6. Press “OK” key to go to the submenu. 7. Select “Local updates” in the submenu and press the “OK” key to enter the Software Update application. 8. You will be prompted to cancel or to proceed with the software updating. 9. To proceed, select “Update” and press the “OK” key to enter the next menu. In the next menu select “Start” and press “OK” key to start the software update. 10. Upgrading will now begin and the progress of the updating will be displayed. After the software updating is completed, the TV will automatically restart. 5.7.3 Stand-by Software Upgrade In this chassis it is not possible to upgrade the Stand-by software via a USB stick or ComPair. Please order a pre- programmed device via the Philips Spare Part web portal. 5.7.4 Upgrade HDMI EDID NVM To upgrade the HDMI EDID, pin 7 of the EDID NVM [1] has to be short circuited to ground. See ComPair for further instructions. Figure 5-6 HDMI-1 EDID NVM Figure 5-7 HDMI-side EDID NVM 5.7.5 Upgrade VGA EDID NVM To upgrade the VGA EDID NVM, pin 7 of the EDID NVM [2] has to be short circuited to ground. See ComPair for further instructions. Figure 5-8 VGA EDID NVM 18520_208_090313.eps 090313 1 18520_210_090313.eps 090313 1 18520_209_090313.eps 090313 2 IC Data Sheets EN 25 TCM3.1A LA 8. 2009-May-08 8. IC Data Sheets Index of this chapter: 8.1 Diagram B01, LD1117 (IC U4) 8.2 Diagram B01, RT8110 (IC U13) 8.3 Diagram B01, MP1593 (IC U14) 8.4 Diagram B01, PQ1CX41 (IC U20) 8.5 Diagram B02, MX25L3205 (IC U10) 8.6 Diagram B02, MT8221 (IC U11) 8.7 Diagram B03, RT9199 (IC U1) 8.8 Diagram B04, TDA9885 (IC U2) 8.9 Diagram B07, WM8501 (IC U9) 8.10 Diagram B09, RC4558 (IC U26/U37) 8.11 Diagram B09, LM833D (IC U27) 8.12 Diagram B10, STA333BW (IC U17) This chapter shows the internal block diagrams and pin configurations of ICs that are drawn as “black boxes” in the electrical diagrams (with the exception of “memory” and “logic” ICs). 8.1 Diagram B01, LD1117 (IC U4) Figure 8-1 Internal block diagram and pin configuration Block Diagram Pin Configuration F_15710_166.eps 230905 LD1117DT DPAK IC Data Sheets EN 26 TCM3.1A LA 8. 2009-May-08 8.2 Diagram B01, RT8110 (IC U13) Figure 8-2 Internal block diagram and pin configuration Block Diagram Pin Configuration 18520_312_090326.eps 090326 (TOP VIEW) BOOT FB VCC PHASE GND LGATE DRIVE UGATE 5 3 4 6 8 1 2 7 Soft-Start and Fault Logic Gate Control Logic + - + - VCC ROC IOC 1.5V BOOT FB VCC PHASE GND LGATE DRIVE UGATE VCC Power- On Reset POR + - 0.5V + -+ + - + 0.8VREF UVP PWM Gm VCC Regulator Oscillator S1L OC PH_M SSE EO SS IC Data Sheets EN 27 TCM3.1A LA 8. 2009-May-08 8.3 Diagram B01, MP1593 (IC U14) Figure 8-3 Internal block diagram and pin configuration Block Diagram Pin Configuration 18520_307_090325.eps 090325 BS IN SW GND SS EN COMP FB 1 2 3 4 8 7 6 5 TOP VIEW EXPOSED PAD ON BACKSIDE CONNECT TO PIN 4 LOCKOUT COMPARATOR ERROR AMPLIFIER FREQUENCY FOLDBACK COMPARATOR INTERNAL REGULATORS 1.8V SLOPE COMP CLK CURRENT COMPARATOR CURRENT SENSE AMPLIFIER SHUTDOWN COMPARATOR SS 8 COMP 6 IN 2 EN 7 GND 4 OSCILLATOR 40/385KHz S R Q SW 3 BS M1 M2 1 5V + Q 0.7V + + 2.3V/ 2.6V + 1.22V 0.7V + + FB 5 -- -- -- -- -- -- IC Data Sheets EN 28 TCM3.1A LA 8. 2009-May-08 8.4 Diagram B01, PQ1CX41 (IC U20) Figure 8-4 Internal block diagram and pin configuration Block Diagram Pin Configuration 18520_313_090327.eps 090327 IC Data Sheets EN 29 TCM3.1A LA 8. 2009-May-08 8.5 Diagram B02, MX25L3205 (IC U10) Figure 8-5 Internal block diagram and pin configuration Block Diagram Pin Configuration 18520_308_090325.eps 090325 SYMBOL DESCRIPTION CS# Chip Select SI Serial Data Input SO/PO7(1) Serial Data Output or Parallel Data output/input SCLK Clock Input HOLD#(2) Hold, to pause the serial communication (HOLD# is not for parallel mode) WP#/ACC Write Protection: connect to GND; 12V for program/erase acceleration: connect to 12V VCC + 3.3V Power Supply GND Ground PO0~PO6 Parallel data output/input (PO0~PO6 can be connected to NC in serial mode) NC No Internal Connection PIN DESCRIPTION 16-PIN SOP (300 mil) Note: 1. PO0~PO7 are not provided on 8-LAND SON package. 2. HOLD# is recommended to connect to VCC during parallel mode. 1 2 3 4 5 6 7 8 HOLD# VCC NC PO2 PO1 PO0 CS# SO/PO7 16 15 14 13 12 11 10 9 SCLK SI PO6 PO5 PO4 PO3 GND WP#/ACC Address Generator Memory Array Y-Decoder X-Decoder additional 4Kb Data Register SRAM Buffer SI CS#, ACC, WP#,HOLD# SCLK Clock Generator State Machine Mode Logic Sense Amplifier HV Generator Output Buffer SO IC Data Sheets EN 30 TCM3.1A LA 8. 2009-May-08 8.6 Diagram B02, MT8221 (IC U11) Figure 8-6 Internal block diagram and pin configuration 18520_300_090311.eps 090311 ADC ADC ADC ADC 3D TVD HDTVD VGAD DS MDDi DS Digital Path Analog Front End Main Path PIP Path Color OSD CVBS / SV YPbPr (x2) (Customer) External Switches HDMIx3 VGA (x8) Control Signal (GPIO, …) Gamma Merge Dithering LVDS Tx 8032 DSP MDDi LVDS DRAM MUX US US Color IC Data Sheets EN 31 TCM3.1A LA 8. 2009-May-08 8.7 Diagram B03, RT9199 (IC U1) Figure 8-7 Internal block diagram and pin configuration Block Diagram Pin Configuration 18520_314_090327.eps 090327 GND VCNTL REFEN Current Limit Thermal Protection VOUT EA + - VIN (TOP VIEW) SOP-8 VIN GND REFEN VOUT VCNTL 2 3 4 5 6 7 8 VCNTL VCNTL VCNTL SOP-8 (Exposed Pad) VIN GND REFEN VOUT NC NC NC VCNTL GND 2 3 4 5 6 7 8 IC Data Sheets EN 32 TCM3.1A LA 8. 2009-May-08 8.8 Diagram B04, TDA9885 (IC U2) Figure 8-8 Internal block diagram and pin configuration Block Diagram Pin Configuration G_16510_ TAGC CVAGC pos CBL VIF-PLL 4 MHz external AFC video output 2 V (p-p) [1.1 V (p-p) without trap AUD CAF de-emphasis network FM-PLL filter sound intercarrier output CAGC AGND VP VIF1 VIF-AGC RC VCO DIGITAL VCO CONTROL AFC DETECTOR VIDEO TRAPS 4.5 to 6.5 MHz NARROW-BAND FM-PLL DETECTOR I2C-BUS TRANSCEIVER VIF-PLL SINGLE REFERENCE QSS MIXER/ INTERCARRIER MIXER AND AM-DEMODULATOR SIF-AGC SUPPLY 1 2 14 16 19 15 21 17 8 6 5 4 12 7 11 10 18 20 23 24 OUTPUT PORTS MAD AUDIO PROCESSING AND SWITCHES 9 TUNER AGC CAGC neg 3 22 crystal and MAD select TDA9885 n.c. 13 L L P M F D A M O I S D N G D A D S L C S 2 P O 1 P O CVBS TOP VIF2 SIF1 SIF2 DEEM AFD REF VAGC VPLL filter TDA9886 (1) (1) Not connected for TDA9885. reference or TDA9885 TDA9886 1 2 3 4 5 6 7 8 9 10 11 12 VIF1 VIF2 OP1 FMPLL DEEM AFD DGND AUD TOP SDA SCL SIOMAD SIF2 SIF1 OP2 AFC VP VPLL AGND CVBS VAGC(1) REF TAGC n.c. 24 23 22 21 20 19 18 17 16 15 14 13 IC Data Sheets EN 33 TCM3.1A LA 8. 2009-May-08 8.9 Diagram B07, WM8501 (IC U9) Figure 8-9 Internal block diagram and pin configuration Block Diagram Pin Configuration 18520_311_090325.eps 090325 IC Data Sheets EN 34 TCM3.1A LA 8. 2009-May-08 8.10 Diagram B09, RC4558 (IC U26/U37) Figure 8-10 Internal block diagram and pin configuration Block Diagram Pin Configuration 18520_309_090325.eps 090326 1 2 3 4 8 7 6 5 1OUT 1IN− 1IN+ VCC− VCC+ 2OUT 2IN− 2IN+ (TOP VIEW) OUT IN+ IN− VCC− VCC+ SCHEMATIC (EACH AMPLIFIER) IC Data Sheets EN 35 TCM3.1A LA 8. 2009-May-08 8.11 Diagram B09, LM833D (IC U27) Figure 8-11 Internal block diagram and pin configuration Pin Configuration 18520_306_090325.eps 090225 2 (Top View) 1 3 4 8 7 6 5 Output 1 Inputs 1 Output 2 Inputs 2 VEE VCC 1 2 IC Data Sheets EN 36 TCM3.1A LA 8. 2009-May-08 8.12 Diagram B10, STA333BW (IC U17) Figure 8-12 Internal block diagram and pin configuration Block Diagram Pin Configuration 18520_310_090325.eps 090325 Serial Data Input Channel mapping I2C POWER PLL Processor DDX3A DDX3B DDX4A/TWARNEXT DDX4B/EAPD SCL SDA OUT1A OUT1B OUT2A OUT2B LRCKI BICKI RESET SDI XTI PLL_FILTER CONTROL STATUS INT LINE EQ, Tone, Volumes… SA CONFIG PWDN Serial Data Input Channel mapping I2C POWER PLL Processor DDX3A DDX3B DDX4A/TWARNEXT DDX4B/EAPD SCL SDA OUT1A OUT1B OUT2A OUT2B LRCKI BICKI RESET SDI XTI PLL_FILTER CONTROL STATUS INT LINE EQ, Tone, Volumes… SA CONFIG PWDN GND_SUB SA TEST MODE VSS OUT1A Vdd GND_REG CONFIG B 4 T U O / N R A W T B 3 X D D / B 3 T U O VDD_DIG GND_DIG PLL_Vdd POWRDN SDA SCL GND_DIG Vdd_DIG 18 16 17 15 6 5 4 3 2 21 22 31 32 33 35 34 36 20 1 19 A 4 T U O / D P A E A 3 X D D / A 3 T U O OUT1B GND1 VCC1 PLL_FILTER PLL_GND XTI 9 8 7 28 29 30 I K C I B A 2 T U O 7 2 0 1 VCC_REG VCC2 GND2 LRCKI INT_LINE SDI 14 12 11 23 25 26 OUT2B RESET 4 2 3 1 Block Diagrams EN 37 TCM3.1A LA 9. 2009-May-08 9. Block Diagrams Wiring Diagram 32" (Click) P22 (B01) 11. BP-ADJ 9. GND 7. 3.3/5VSB 5. GND 3. GND 1. +24/12V 12. PB-ON/OFF 10. PW-ON 8. 3.3/5VSB 6. GND 4. +24/12V 2. +24/12V P1 3. N 1. L WIRING DIAGRAM 32" (CLICK) SSB B INLET P3 1. HV2 2. HV2 P4 1. HV1 2. HV1 LCD DISPLAY T3.15A 12. BL_ON 10. P_ON 8. N.C. 6. COM 4. +24V 2. +24V P2 11. DIM 9. COM 7. +3.3VSB 5. COM 3. COM 1 +24V RIGHT SPEAKER LEFT SPEAKER TO BACKLIGHT TO BACKLIGHT P1 1. GPIO_11 2. LED_RED 3. GND 4. IR_IN 5. +3.3V P602 1. ADIN1 2. GPIO_11 3. LED-RED 4. GND 5. IR_IN 6. 3.3V P601 1. 3.3V 2. IR_IN 3. GND 4. LED-RED 5. GPIO_11 6. KEY 7. ADIN1 18520_400_090313.eps 090324 IR LED PANEL J KEYBOARD CONTROL E MAIN POWER SUPPLY IPB A P17 (B10) 1. LVDSVDD 3. LVDSVDD 5. GND 7. GND 9. E4P 11. E3P 13. ECKP 15. E2P 17. E1P 19. EOP 21. DCR 23. NC 25. VBR EX 27. O4P 31. O3P 33. O2P 35. O1P 37. O0P 39. GND 2. LVDSVDD 4. LVDSVDD 6. GND 8. GND 10. E4N 12. E3N 14. ECKN 16. E2N 18. E1N 20. E0N 22. SEL LVDS 24. BIT SEL 27. VBR OUT 29. O4N 33. O3N 35. O3P 21. O1N 38. O0N 40. GND P15 (B11) 7. ADIN1 6. KEY 5. GPIO_11 4. LED_RED 3. GND 2. OIRI_IN 1. 5VSB P25 (B10) 1. OUT_L- 2. OUT_L+ 3. OUT_R+ 4. OUT_R- EN 38 TCM3.1A LA 9. Block Diagrams 2009-May-08 Wiring Diagram 42" (Click) P22 (B01) 11. BP-ADJ 9. GND 7. 3.3/5VSB 5. GND 3. GND 1. +24/12V 12. PB-ON/OFF 10. PW-ON 8. 3.3/5VSB 6. GND 4. +24/12V 2. +24/12V P25 (B10) 1. OUT_L- 2. OUT_L+ 3. OUT_R+ 4. OUT_R- WIRING DIAGRAM 42" (CLICK) SSB B INLET LCD DISPLAY T5.0A 12. BL_ON 10. P_ON 8. N.C. 6. COM 4. +24V 2. +24V P802 11. DIM 9. COM 7. +3.3VSB 5. COM 3. COM 1 +24V RIGHT SPEAKER LEFT SPEAKER TO BACKLIGHT TO BACKLIGHT P1 1. GPIO_11 2. LED_RED 3. GND 4. IR_IN 5. +3.3V P602 1. ADIN1 2. GPIO_11 3. LED-RED 4. GND 5. IR_IN 6. 3.3V P601 1. 3.3V 2. IR_IN 3. GND 4. LED-RED 5. GPIO_11 6. KEY 7. ADIN1 18520_401_090313.eps 090324 IR LED PANEL J KEYBOARD CONTROL E MAIN POWER SUPPLY IPB A P902 1. HV2 2. HV2 P901 1. HV1 2. HV1 P801 3. N 1. L P17 (B10) 1. LVDSVDD 3. LVDSVDD 5. GND 7. GND 9. E4P 11. E3P 13. ECKP 15. E2P 17. E1P 19. EOP 21. DCR 23. NC 25. VBR EX 27. O4P 31. O3P 33. O2P 35. O1P 37. O0P 39. GND 2. LVDSVDD 4. LVDSVDD 6. GND 8. GND 10. E4N 12. E3N 14. ECKN 16. E2N 18. E1N 20. E0N 22. SEL LVDS 24. BIT SEL 27. VBR OUT 29. O4N 33. O3N 35. O3P 21. O1N 38. O0N 40. GND P15 (B11) 7. ADIN1 6. KEY 5. GPIO_11 4. LED_RED 3. GND 2. OIRI_IN 1. 5VSB Block Diagrams EN 39 TCM3.1A LA 9. 2009-May-08 Wiring Diagram 47" (Click) P22 (B01) 11. BP-ADJ 9. GND 7. 3.3/5VSB 5. GND 3. GND 1. +24/12V 12. PB-ON/OFF 10. PW-ON 8. 3.3/5VSB 6. GND 4. +24/12V 2. +24/12V WIRING DIAGRAM 47" (CLICK) SSB B INLET LCD DISPLAY T5.0A 12. BL_ON 10. P_ON 8. N.C. 6. COM 4. +24V 2. +24V P803 11. DIM 9. COM 7. +3V3VSB 5. COM 3. COM 1 +24V RIGHT SPEAKER LEFT SPEAKER TO BACKLIGHT TO BACKLIGHT P1 1. GPIO_11 2. LED_RED 3. GND 4. IR_IN 5. +3.3V P602 1. ADIN1 2. GPIO_11 3. LED-RED 4. GND 5. IR_IN 6. 3.3V P601 1. 3.3V 2. IR_IN 3. GND 4. LED-RED 5. GPIO_11 6. KEY 7. ADIN1 18520_402_090313.eps 090324 IR LED PANEL J KEYBOARD CONTROL E MAIN POWER SUPPLY IPB A P17 (B10) 1. LVDSVDD 3. LVDSVDD 5. GND 7. GND 9. E4P 11. E3P 13. ECKP 15. E2P 17. E1P 19. EOP 21. DCR 23. NC 25. VBR EX 27. O4P 31. O3P 33. O2P 35. O1P 37. O0P 39. GND 2. LVDSVDD 4. LVDSVDD 6. GND 8. GND 10. E4N 12. E3N 14. ECKN 16. E2N 18. E1N 20. E0N 22. SEL LVDS 24. BIT SEL 27. VBR OUT 29. O4N 33. O3N 35. O3P 21. O1N 38. O0N 40. GND P15 (B11) 7. ADIN1 6. KEY 5. GPIO_11 4. LED_RED 3. GND 2. OIRI_IN 1. 5VSB P25 (B10) 1. OUT_L- 2. OUT_L+ 3. OUT_R+ 4. OUT_R- P901 1. HV2 2. HV2 P902 1. HV1 2. HV1 P801 3. N 1. L EN 40 TCM3.1A LA 9. Block Diagrams 2009-May-08 Block Diagram MT8222/21 STA335BW RC4558 DDR EN25B32 12V-52"6A SDRAM ADDRESS DATA I2S inductance edid edid edid YPBPR1 YPBPR2 HDMI1 HDMI2 HDMI3 USB1USB2 RC4558 ESD I2C EDID GAME PORT CVBSOUT 24C32 RESET RT9199 SCART2-OPTION Y/C BASS SPEAKER 12V/5VPANEL-1~2A switch HEADPHONE AVOUT RT916 6 AV3 CPU AC~220V AV4 VGA RF IN SCART1 DC-DC RT8110+ MOS 5.2VM- 4A LD1117 5VRF-200mA CONFINE 5VUSB-2A LD1117 LD1117 PQ1CX41 1.1V-500mA LD1117 1.2V-200mA 3.3V-500mA 2.6VDDR-500mA DELAY SHORT_PROTECK 5VRF 12VM 2.6VDDR 1.2V 1.1V 3.3V 5.2VM LCD PANEL 12V R8C/11 CEC RESET MUTE POWER/ON SERVICE LED VGA H/V KEY IR MODE SHORT_PROTECK POWER_PROTECK HV AC2KV 3.3VSB 18520_403_090313.eps 090324 Circuit Diagrams and PWB Layouts EN 45 TCM3.1A LA 10. 2009-May-08 PSU: Power Supply Unit (42") A 3 2 1 F E D C B 8 7 6 5 5 4 3 2 1 F E D C B A 4 6 7 8 A2 Power Supply Unit (42") I I I I I I I I I I I I I I I I I I I I I I I I I I I I I I I I I I I I I I I I I I I I I I I ! ! ADIM BST1 BST2 CT ENA GNDA HDR1 HDR2 ISEN LCT LDR1 LDR2 LX1 LX2 OVPT PDIM RPT SSTCMP SYNC TIMER UVLS VIN VREF VSEN_POL VCC GND1 DRAIN VC+ GND ND NP NS VCC GND1 DRAIN VC+ GND ND NP NS ! ! I I I I HOT COLD (39K For AUO) (2k4 For AUO) (56K For AUO) R978 1K8 R958 1K8 R957 75K R977 75K 2 1 Y3 1 3 2 RW977 2K 10K R928 33K R934 NC R930 C931 0.022U C930 0.022U Z83 2 3 1 470R RW978 R969 47K C917A 47P AGND AGND 220P C917 AGND 3 2 1 BAV70L D913 AGND Z84 R948 10R 4148WS D903 D904 4148WS 10K R967 Z68 Z64 1U C911 C910 1U R906 100R 100R R905 100R R909 R925 100R BL_ON 56R R901 +24V/2A R924 100K 56K R932 C915 1U C915A 0.47U 0.022U C906 B C E Q923 BT3904 C905 0.022U 1K R953 AGND C907 1U AGND C914 1U 4148WS D909 C920 0.022U 2K2 R915 0.047U C916 C927 4700P R968 47K R927 4K7 R941 0R R912 100R 10K R911 R949 1K 10R R947 1K R946 R910 10K 100R R923 R913 100R 10K R914 R950 1K 10R R951 100R R922 R917 10K R952 10R C922 0.01U C923 0.1U 0.47U C903 0.01U C924 4K7 R976 C902 33P 470P C913 C921 1000P 2K2 R964 R944 10K 10K R945 100R R954 R931 10K C918 4700P 750K R962 4148WS D902 VREF D905 4148WS R961 200R 200R R963 200R R972 R970 200R 220R R919 200R R959 R960 200R R974 200R 200R R971 R921 220R R920 200R 200R R916 R936 200R 200R R940 R937 200R 200R R939 200R R935 R938 200R R973 200R 200R R975 R902 4R7 C909 0.47U R966 4K7 4K7 R903 R918 4K7 SK3561 Q902 D901 4148WS R942 100R AGND R882 1K 2 4 1 3 T904 2 4 1 3 T903 B C E Q906 BT3904 10 2 6 7 8 4 5 3 1 9 T902 9 1 3 5 4 8 7 6 2 10 T901 AGND AGND B C E Q924 BT3906 E C B BT3904 Q922 1 2 3 D916 BAV70L C901 33P AGND AGND 12 11 23 4 3 2 1 10 9 8 7 6 5 13 14 15 17 18 19 20 21 16 22 24 U901 OZ9926A 47K R956 PGND AGND +24V/2A DIM 1 2 P902 AGND AGND AGND AGND AGND E C B BT3906 Q909 AGND E C B BT3904 Q907 AGND AGND 4148WS D908 D907 4148WS AGND AGND AGND AGND AGND AGND AGND AGND PGND R908 2K2 R904 2K2 R907 2K2 R926 2K2 C912 0.47U Q903 SK3561 SK3561 Q904 Q901 SK3561 2N7002 Q913 C908 1U Q914 2N7002 E C B BT3906 Q916 B C E Q919 BT3906 E C B BT3906 Q917 B C E Q918 BT3906 E C B BT3906 Q910 LDR1 HDR1 LDR2 HDR2 E C B BT3904 Q905 B C E Q911 BT3906 B C E Q908 BT3904 B C E Q912 BT3906 Q920 2N7002 2 1 P901 2N7002 Q915 VBUS AGND AGND AGND AGND AGND AGND AGND AGND Z54 Z55 Z56 Z57 Z58 Z59 Z60 Z61 Z62 Z63 HDR2 Z65 LDR1 Z66 LDR2 Z69 Z70 Z71 Z72 HDR1 Z74 Z75 Z76 Z77 Z78 Z79 Z80 Z81 Z82 Z85 Z86 Z87 Z88 Z89 Z90 Z91 Z92 Z93 Z94 Z95 Z96 Z97 Z98 Z99 Z100 Z101 Z102 Z103 Z104 Z24 Z23 VREF 18520_543_090313.eps 090313 Circuit Diagrams and PWB Layouts EN 49 TCM3.1A LA 10. 2009-May-08 PSU: Power Supply Unit (47") A 3 2 1 F E D C B 8 7 6 5 5 4 3 2 1 F E D C B A 4 6 7 8 A2 Power Supply Unit (47") 18520_545_090313.eps 090313 EN 52 TCM3.1A LA 10. Circuit Diagrams and PWB Layouts 2009-May-08 SSB: DC/DC GND GND GND GND GND T GND GND GND GND GND GND T GND GND GND GND GND GND T GND T GND GND GND GND GND GND GND GND GND GND T GND GND GND GND GND GND T GND/ADJ OUT VIN 4 GND D1B D1A G2 G1 S2 D2B D2A S1 GND T T GND GND GND T GND GND T GND T GND T GND T A 3 2 1 F E D C B 8 7 6 5 5 4 3 2 1 F E D C B A 4 6 7 8 GND GND GND GND GND GND GND GND GND GND GND GND GND/ADJ OUT VIN 4 COMP GND1 GND2 VB CONTROL OADJ VIN VOUT BS IN SW COMP FB SS GND EN GND/ADJ OUT VIN 4 BOOT DRIVE FB GND LGATE PHASE VCC UGATE D2B D2A G1 G2 S1 D1B D1A S2 PB-ADJ GND GND PW-ON PB-ON/OFF about 1mm GND GND +24/12V +24/12V +24/12V 3.3/5VSB 3.3/5VSB 10K R143 10V 470U C104 1U C163 R144 10K NC 0R R752 22K R120 47K R731 R2 0R NC R7 0R NC 7 8 4 2 3 5 6 1 A04803 Q2 NC C170 1U NC 0.1U C128 NC 0.1U C126 NC 1U C127 NC 1 2 3 6 5 8 4 7 RT8110 U13 R6 0R R708 0R 910R R107 S-200 1 2 3 4 LD1117S U3 2R7 R4 S-NC 2R7 R5 S-NC 2R7 R10 S-0 R11 0R NC D34 LL4148 NC 22K R139 NC R698 470K NC C129 0.1U NC R3 0R NC 1 2 3 6 5 8 4 7 U14 MP1593DN C555 47U 6V3 4K7 R114 R103 0R LL4148 D8 1U C143 R111 0R 470P C4 22K R109 B C E BT3904 Q8 R249 100R 1K R110 10K R8 NC 1K R453 4K7 R451 NC 4K7 R452 4K7 R138 NC 16V 100U C106 16V 100U C103 16V 100U C102 220R L21 220R L14 5 6 7 8 4 3 2 1 PQ1CX41H2ZPQ U20 13-PQ1CX4-1HB 10U C524 NC 10R R126 L16 33UH L1 15UH 15UH L15 1 2 3 4 LD1117S33 U4 100R R106 5V_M1 5V_M1 5V_M1 DV10 DV10 L24 200R 200R L25 1 2 4 6 8 12 10 3 5 7 9 11 P22 C269 33P PWM0 120R L60 1K R128 UP34 SW POWERON/OFF 16V 1000U C100 16V 1000U C101 R121 110K 4U7 C7 820R R108 S-120 L138 200R 200R L137 1K2 R124 5VSB 12_M R123 12K4 B C E BT3904 Q4 4U7 C556 12_M 12_M1 12_M1 C541 0.1U G D S A03401A Q57 1U C159 +3V3 +3V3 4U7 C6 B C E BT3904 Q3 SHORT_PROTECT 100P C162 8200P C160 0.1U C156 5VSB 5VSB 220R R129 0.1U C157 C472 470U 35V 16V 470U C87 SR34 D4 5K6 R122 0.01U C161 0.1U C158 10K R710 12K R116 10K R117 100P C147 0.01U C148 0.1U C167 0.1U C165 12/24V_AUDIO AV12 AV12 L58 120R 4K7 R119 1000P C543 SW 5VSB 12_M Z244 5V_DDR DDRV Z9 0.1U C155 VBR_OUT B C E Q9 BT3904 100R R115 Z4 12/24V_AUDIO B C E BT3904 Q10 0.1U C140 BL-ADJUST VBR_EXT B C E Q6 BT3904 LL4148 D12 R132 1K8 R137 3K9 5V_DDR 12_IF R131 1K R105 4K7 3K9 R136 +3V3 5V_M 12_M 1000P C132 Z243 Z8 16V 100U C105 12_M 0.1U C139 Z143 Z7 1000P C135 12_M1 100P C152 5V_OUTSIDE R697 470K D33 LL4148 7 8 4 2 3 5 6 1 D13N03LT Q1 6V3 47U C93 5VSB 1 2 3 4 LD1117S12 U5 Z15 LL4148 D13 R135 2K7 R134 100K 4K7 R133 D11 LL4148 D10 LL4148 R130 2K2 6V3 47U C94 200R L23 L22 200R 0.1U C164 1000P C5 LL4148 D9 0.1U C154 Z14 0.1U C151 0.1U C150 10K R118 3900P C149 0.1U C146 Z13 SR23 D5 220P C145 Z12 0.1U C142 10U C3 0.1U C141 L59 120R 1000P C137 0.1U C345 Z5 5V_M 0.1U C134 0.22U C133 120R R9 22K R104 R102 47K B C E Q7 BT3904 D7 LL4148 10K R101 8K2 R100 680R R99 R98 10K R97 10K R96 10K 0.1U C131 5V_M +3V3 +3V3 5V_OUTSIDE 5V_M +3V3 +3V3 12_M SW 5V_M Z159 12_M 0.1U C168 0.1U C144 BL-ON/OFF C268 1000P C166 0.01U 5V_M B01 DC - DC 18520_500_090312.eps 090312 Circuit Diagrams and PWB Layouts EN 53 TCM3.1A LA 10. 2009-May-08 SSB: MT822x Processor GND GND T GND GND T GND GND GND GND GND GND GND GND GND GND GND GND GND GND GND GND GND GND GND GND GND GND GND GND GND GND GND GND GND GND GND T T T GND GND GND A 3 2 1 F E D C B 8 7 6 5 5 4 3 2 1 F E D C B A 4 6 7 8 GND GND GND GND T SDA SCL WC VCC VSS E2/NC E1/NC E0/NC GND GND GND GND GND GND GND T T T T T GND GND CVBS_SC1 CVBS_SY1 CVBS_SC0 CVBS_SY0 CVBS3P CVBS2P CVBS1P CVBS0P CVBS0N CVBS_BYPASS0 CVBS_BYPASS1 AVDD33_CVBS AVDD33_SIF MPX2_P MPX2_N MPX1 AVDD33_DIG ADIN0 ADIN1 ADIN2 ADIN3 ADIN4 ADIN5 AVDD33_XTAL XTALO XTALI AVDD12_DMPLL AVDD12_PSPLL AVDD12_ADCPLL AVDD12_SYSPLL AVDD12_APLL AVDD33_AADC VMID AIN_L AIN_R AVDD33_REFP_AADC AVDD33_ADAC AL3 AR3 AL2 AR2 AVICM2 AL1 AR1 DVDD10_3 VDD33_1 I2S_AOMCLK I2S_AOLRCK I2S_AOBCLK I2S_AOSDATA0 I2S_ADIN GPIO20 GPIO21 GPIO22 GPIO23 GPIO24 GPIO25 HW_SDA HW_SCL RXD1 TXD1 SPDIF_OUT PWM0 PWM1 VGA_SCL VGA_SDA VDD33_2 DVDD10_2 RVREF0 VCC2IO_1 RA3 RA2 DVDD10 RA1 RA0 RA10 RBA1 RBA0 RCS# RRAS# RCAS# RWE# RA4 RA5 RA6 RA7 RA8 RA9 VCC2IO_2 RA11 RA12 RCKE VCC2IO_2_1 RCLK0 RCLK0# VCC2IO_1_1 AVDD12_MEMPLL_1 RDQ15 RDQ14 RDQ13 VCC2IO_2_2 RDQ12 RDQ11 RDQ10 VCC2IO_2_3 RDQ9 RDQ8 VCC2IO_2_4 RDQS1 VCC2IO_2_5 RDQM1 DVDD10_2_1 RDQM0 VCC2IO_2_6 RDQS0 VCC2IO_3 RDQ7 RDQ6 RDQ5 VCC2IO_2_7 RDQ4 RDQ3 RDQ2 VCC2IO_2_8 RDQ1 RDQ0 DVDD10_2_2 DVDD10_2_3 AVDD12_RGB AVDD12_DIG_RGB PR0P PB0P COM0 Y0P SOY0 PR1P PB1P COM1 Y1P SOY1 AVDD33_VGA RP COM GP SOG BP HSYNC VSYNC AVDD12_HDMI_3 RX0_2 RX0_1 RX0_2B RX0_1B RX0_0 RX0_C RX0_0B RX0_CB HDMI_SCL0 HDMI_SDA0 PWR5V_0 RX1_2 RX1_1 RX1_2B RX1_1B RX1_0 RX1_C RX1_0B RX1_CB AVDD33_HDMI HDMI_SCL1 HDMI_SDA1 PWR5V_1 RX2_2 RX2_1 RX2_2B RX2_1B RX2_0 RX2_C RX2_0B RX2_CB HDMI_SCL2 HDMI_SDA2 PWR5V_2 HDMI_CEC DVDD10_1 USB_DP1 USB_DM1 AVDD12_USB USB_VRT AVDD33_USB USB_DP0 USB_DM0 PWM2 PWM3 ICE PRST# SPI_CS0 SPI_SO SPI_SI SPI_SCK SPI_CS1 INT0_ IR_ RXD0 TXD0 UP30 UP31 UP33 UP34 UP35 VDD33_1_1 DVDD10_4 AVDD12_VPLL TP E4P E4N E3P E3N ECKP ECKN AVDD33_LVDSB E2P E2N E1P E1N E0P E0N AVDD12_LVDS O4P O4N O3P O3N OCKP OCKN AVDD33_LVDSA O2P O2N O1P O1N O0P O0N DVDD10_3_1 DVDD10_3_2 VDD33_2_1 GPIO0 GPIO1 GPIO2 GPIO3 GPIO4 GPIO5 GPIO6 GPIO7 GPIO8 GPIO9 GPIO10 GPIO11 EPAD_GND PO2 VCC NC CS# PO1 PO0 WP#/ACC PO3 GND PO4 PO6 PO5 SO HOLD# SCLK SI T GND RESET IIC ADRESS "A0" C124 470U 10V C88 470U 10V XTALI XTALO C125 220U 6V3 Z102 R286 100R R311 100R C566 10P C565 10P R472 10K R145 820K C174 33P C173 33P X4 27M C110 100U 16V C109 100U 16V 16V 100U C108 16V 100U C107 4 2 3 7 5 6 9 11 10 12 14 13 8 1 16 15 U10 MX25L3205 R463 5K1 1% L141 120R 1 2 3 4 5 6 7 8 9 10 11 12 13 14 15 16 17 18 19 20 21 22 23 24 25 26 27 28 29 30 31 32 33 34 35 36 37 38 39 40 41 42 43 44 45 46 47 48 49 50 51 52 53 54 55 56 57 58 59 60 61 62 63 64 192 191 190 189 188 187 186 185 184 183 182 181 180 179 178 177 176 175 174 173 172 171 170 169 168 167 166 165 164 163 162 161 160 159 158 157 156 155 154 153 152 151 150 149 148 147 146 145 144 143 142 141 140 139 138 137 136 135 134 133 132 131 130 129 256 255 254 253 252 251 250 249 248 247 246 245 244 243 242 241 240 239 238 237 236 235 233 234 232 231 229 230 228 227 226 225 224 222 223 221 220 218 219 217 216 215 214 213 212 210 211 209 208 206 207 205 204 203 202 201 200 199 198 197 196 195 194 193 65 66 67 68 69 70 71 72 73 74 75 76 77 78 79 80 81 82 83 84 85 86 87 88 89 90 91 92 93 94 95 96 97 98 99 100 101 102 103 104 105 106 107 108 109 110 111 112 113 114 115 116 117 118 119 120 121 122 123 124 125 126 127 128 257 U11 MT8222 13-MT8222-ARB;13-MT8221-AMB 22R R747 NC 22R R746 NC USB_DP1_1 1U C348NC C403 1U NC USB_DP1_2 USB_DM1_2 USB_DP0_1 USB_DM0_1 USB_DM0 USB_DP0 USB_DM1_1 22R R745 22R R744 1K R733 C405 33P NC PWM2 3V3_F +3V3 Z27 CVBS0N Z136 R397 10K 1U C171 C346 0.047U NC C347 0.047U CVBS0P_1 CVBS0P VSDA_R SPI_SCK_1 SPI_SCK_1 3V3_F L40 220R C37 10U SPI_SO 47R R739 SPI_SCK 1K R734 R470 10K VGAHSYNC# VGAVSYNC# VGAVSYNC#_1 VGAHSYNC#_1 1K R480 Z101 Z100 Z16 C398 1000P U0RX +3V3 R465 1K NC R466 1K U0TX R481 10K NC R482 10K NC +3V3 C297 1000P C397 0.1U R457 1K 220R L26 220R L29 R456 0R NC 5 6 7 8 4 3 2 1 U21 M24C32MN Z25 C399 0.1U 0.1U C358 C507 0.1U C372 3300P R473 10K R464 10K C406 0.1U +3V3 R474 10K +3V3 C404 0.1U B C E Q11 BT3904 R469 100R R468 100R R467 100R Z24 Z23 Z22 AV33_DAC DDRV R462 100R NC C402 0.1U MEM_VREF 0.1U C401 0.1U C400 C42 4U7 R459 0R DDRV R458 1K C396 0.1U C395 0.1U C394 0.1U C393 0.1U C392 4700P C391 0.1U C390 0.1U C389 4700P C388 0.1U C387 0.1U C386 3300P C385 0.1U C384 0.1U +3V3 L47 220R AV33_LVDS AV33_VGA 4U7 C41 C40 4U7 4U7 C39 DDRV C38 4U7 AV33_DAC 220R L46 AV12 +3V3 C383 0.1U C382 0.1U C381 0.1U AV33_ADCREF AV33_ADC AV33_XTL +3V3 AV33_SIFDIG +3V3 AV33_SIF +3V3 +3V3 AV33_HDMI AV33_USB AV33_CVBS AV12A_RGBB AV12 AV12_USB +3V3 AV12_HDMI AV12 AV12_MEMPLL AV12_PLLSYS AV12_PLLADC AV12 AV12D_RGB AV12 AV12_LVDSPLL AV12 AV12_LVDS AV12_PLL AV12 +3V3 C529 10U 16V DV33 DV10 L45 220R 10U C36 C528 10U 16V 16V 10U C527 L44 220R C35 4U7 C380 4700P C379 3300P C378 0.1U C377 0.1U C376 3300P C375 3300P C34 4U7 C374 3300P C373 0.1U C33 4U7 C32 10U L43 220R C31 4U7 L42 220R L41 220R C371 3300P C370 0.1U C369 0.1U C30 4U7 C368 3300P C29 4U7 C28 10U C367 0.1U C27 4U7 C366 3300P C26 4U7 C526 10U 16V L39 220R L38 220R C25 10U C24 10U L37 220R L36 220R C23 10U C365 0.1U C364 0.1U C363 0.1U C362 0.1U C361 0.1U C360 0.1U C359 0.1U 4U7 C22 4U7 C21 4U7 C20 4U7 C19 10U C18 10U C17 10U C16 10U C15 4U7 C14 0.1U C357 0.1U C356 0.1U C355 0.1U C354 220R L35 220R L34 220R L33 220R L32 220R L31 220R L30 10U C13 4U7 C12 0.1U C353 0.1U C352 220R L28 10U C11 0.1U C351 4U7 C10 4U7 C9 4U7 C8 0.1U C350 0.1U C349 220R L27 +3V3 +3V3 +3V3 AV12 AV12 AV12 +3V3 AV12 +3V3 +3V3 Z18 Z17 FRESET# SPI_SI SPI_CS# OSDA0 OSCL0 MEM_VREF_1 16V 10U C525 ORESET# 1 2 3 4 P10 VSCL_T CVBS0N_1 GPIO_11 GPIO_10 GPIO_9 GPIO_8 GPIO_7 GPIO_6 GPIO_5 GPIO_4 GPIO_3 GPIO_2 GPIO_1 GPIO_0 DV33 DV10 O0N O0P O1N O1P O2N O2P AV33_LVDS OCKN OCKP O3N O3P O4N O4P AV12_LVDS E0N E0P E1N E1P E2N E2P AV33_LVDS ECKN ECKP E3N E3P E4N E4P AV12_LVDSPLL DV10 DV33 UP35 UP34 UP33 UP31 UP30 U0TX U0RX OIRI INT SPI_CS1# SPI_SCK SPI_SI SPI_SO SPI_CS# ORESET# PWM3 PWM2 USB_DM0_1 USB_DP0_1 AV33_USB AV12_USB USB_DM1_2 USB_DP1_2 DV10 CEC OPWR2_5V HDMIDDCSDA_2 HDMIDDCSCL_2 RX2_CB RX2_0B RX2_C RX2_0 RX2_1B RX2_2B RX2_1 RX2_2 OPWR1_5V HDMIDDCSDA_1 HDMIDDCSCL_1 AV33_HDMI RX1_CB RX1_0B RX1_C RX1_0 RX1_1B RX1_2B RX1_1 RX1_2 OPWR0_5V HDMIDDCSDA_0 HDMIDDCSCL_0 RX0_CB RX0_0B RX0_C RX0_0 RX0_1B RX0_2B RX0_1 RX0_2 AV12_HDMI VGAVSYNC#_1 VGAHSYNC#_1 BLUP VGASOG GRNP VGAGND REDP AV33_VGA SOY1 Y1P YPBPR1_GND PB1P PR1P SOY0 Y0P YPBPR0_GND PB0P PR0P AV12D_RGB AV12A_RGBB DV10 RDQ0 RDQ1 RDQ2 RDQ3 RDQ4 RDQ5 RDQ6 RDQ7 RDQS0 RDQM0 DV10 RDQM1 RDQS1 RDQ8 RDQ9 RDQ10 RDQ11 RDQ12 RDQ13 RDQ14 RDQ15 AV12_MEMPLL RCLK0# RCLK0 RCKE RA12 RA11 RA9 RA8 RA7 RA6 RA5 RA4 RWE# RCAS# RRAS# RCS# RBA0 RBA1 RA10 RA0 RA1 DV10 RA2 RA3 DV10 DV33 VGASDA VGASCL PWM1 PWM0 SPDIFOUT OSCL0 OSDA0 GPIO_25 GPIO_24 GPIO_23 GPIO_22 GPIO_21 GPIO_20 AOBCK AOLRCK AOMCLK DV33 DV10 AR2 AL2 AR3 AL3 AV33_DAC AV33_ADCREF AUD_R AUD_L AUD_VMID AV33_ADC AV12_PLL AV12_PLLSYS AV12_PLLADC XTALI XTALO AV33_XTL ADIN5 ADIN4_1 ADIN3_1 ADIN2 ADIN1 ADIN0 AV33_SIFDIG MPX1 MPX2_N MPX2_P AV33_SIF AV33_CVBS CVBS_BYPASS CVBS0P_1 CVBS0N_1 CVBS1 CVBS2 CVBS3 CVBS4 CVBS5 CVBS6 CVBS7 U1TX U1RX AOSDATA0 AR0 AL0 CVBS_TP MEM_VREF_1 DDRV USBVRT ICE LVDS_TPPIN B02 MT822x Processor 18520_501_090312.eps 090312 EN 54 TCM3.1A LA 10. Circuit Diagrams and PWB Layouts 2009-May-08 SSB: DDR SD-RAM GND GND GND GND GND GND GND GND GND GND GND GND GND A 3 2 1 F E D C B 8 7 6 5 5 4 3 2 1 F E D C B A 4 6 7 8 GND GND GND GND GND GND REFEN VCNTL NC1 NC3 VOUT NC2 VIN GND A12 A0 A10/AP A1 DQ9 DQ10 DQ14 A4 A5 A6 A7 A11 NC1 CKE CLK UDQM NC2 DQ0 DQ1 DQ2 DQ3 DQ4 DQ5 DQ6 DQ7 VSS A9 DQ12 VDD1 A3 RAS A8 VDDQ VDDQ1 LDQM CAS CS A2 DQ8 DQ13 DQ15 WE DQ11 A13 VSSQ2 VDD2 VDD VDDQ2 VDDQ3 VSSQ1 VSSQ VSS1 VSS2 VSSQ3 WE RAS CAS CS CKE CK CK UDQS A0 A1 A2 A3 A4 A5 A6 A7 A8 A9 A10/AP A11 DQ0 DQ1 DQ2 DQ3 DQ4 DQ5 DQ6 DQ7 DQ8 DQ9 DQ10 DQ11 DQ12 DQ13 DQ14 DQ15 VSSQ VSS VSS1 VSS2 NC BA0 BA1 VDD VDD1 VDD2 VDDQ VDDQ1 VDDQ2 VDDQ3 NC1 NC2 NC3 NC7 NC4 VDDQ4 NC5 NC6 LDQS UDM LDM VSSQ1 VSSQ2 VSSQ3 VSSQ4 VREF (DDR SD-RAM with termination) C89 470U 10V C112 100U 16V 21 23 22 24 44 45 46 51 29 30 31 32 35 36 37 38 39 40 28 41 2 4 5 7 8 10 11 13 54 56 57 59 60 62 63 65 52 34 66 48 14 26 27 1 18 33 3 9 15 55 17 19 25 42 43 61 50 53 16 47 20 6 12 58 64 49 U33 HY5DU281622FT C113 100U 16V C111 47U 6V3 5 4 7 2 1 3 6 8 R671 150R 5 4 7 2 1 3 6 8 R669 150R 5 4 7 2 1 3 6 8 R662 150R 5 4 7 2 1 3 6 8 R665 150R 5 4 7 2 1 3 6 8 R661 150R 5 4 7 2 1 3 6 8 R660 150R 5 4 7 2 1 3 6 8 R664 150R 5 4 7 2 1 3 6 8 150R R663 5 4 7 2 1 3 6 8 R670 150R 21 23 22 24 44 45 51 29 30 31 32 35 36 37 38 39 40 2 4 5 7 8 10 11 13 54 34 48 14 26 18 33 3 9 15 17 19 25 42 50 53 16 47 20 12 27 1 43 49 6 52 28 41 46 U18 M12L64164A SDRAM ADD R499 1K SDRAM 75R R487 1K SDRAM 75R VTT C575 10U NC C43 4U7 C413 0.1U 220R L80 SDRAM ADD 2 3 6 5 8 4 7 1 U1 RT9199 SDRAM NC C80 47U 6V3 VTT VTT R485 22R SDRAM NC R483 100R SDEAM NC MEM_VREF R497 150R R496 150R R491 150R R495 150R R498 150R R492 150R MEM_DQ8 MEM_DQ0 DDRV 6V3 47U C114 R719 0R NC R721 0R NC R720 0R NC R484 22R R493 22R 5 4 7 2 1 3 6 8 R668 22R 5 4 7 2 1 3 6 8 R667 22R 5 4 7 2 1 3 6 8 R666 22R C429 0.1U R490 22R R489 22R R488 22R C45 4U7 C44 4U7 C428 3300P C427 3300P C426 0.1U C425 0.1U C424 3300P C423 3300P C422 0.1U C421 3300P C420 0.1U C419 3300P C418 0.1U C417 0.1U C416 0.1U 5 4 7 2 1 3 6 8 R659 22R 5 4 7 2 1 3 6 8 R658 22R 5 4 7 2 1 3 6 8 R657 22R 5 4 7 2 1 3 6 8 R656 22R 5 4 7 2 1 3 6 8 R655 22R 5 4 7 2 1 3 6 8 R654 22R DDRV C414 0.1U MEM_VREF C412 1000P C411 0.1U DDRV R486 22R C410 3300P C409 3300P C408 3300P DDRV C46 4U7 DDRV MEM_DQ3 MEM_DQM0 MEM_DQM1 MEM_CLKEN MEM_CLK0 MEM_CLK0 MEM_CLK0 MEM_BA1 MEM_BA0 MEM_DQ10 MEM_DQ11 MEM_DQ12 MEM_DQ0 MEM_DQ1 MEM_DQ2 MEM_DQ4 MEM_DQ9 RDQ8 MEM_DQ13 MEM_DQ14 MEM_DQ15 MEM_RAS# MEM_DQ6 MEM_DQ5 MEM_VREF MEM_DQ2 MEM_DQ3 MEM_DQ6 MEM_DQ7 MEM_DQ0 MEM_DQ1 RWE# MEM_ADDR10 RDQS1 RDQM1 RDQS0 RDQM0 MEM_DQS1 MEM_DQM1 MEM_DQM0 MEM_DQS0 RCLK0 RCKE MEM_CLK0# RA5 RA6 RA7 MEM_ADDR5 MEM_ADDR6 MEM_ADDR7 MEM_CLKEN MEM_DQS1 MEM_CLK0# MEM_ADDR5 MEM_ADDR4 MEM_ADDR6 MEM_ADDR7 MEM_ADDR8 MEM_ADDR9 MEM_ADDR11 MEM_ADDR12 MEM_WE# MEM_CAS# MEM_RAS# MEM_CS# MEM_ADDR10 MEM_DQ15 MEM_DQ14 MEM_DQ13 MEM_DQ12 MEM_DQ11 MEM_DQ10 MEM_DQ9 MEM_DQ8 MEM_DQ5 MEM_DQ4 MEM_ADDR3 MEM_ADDR1 MEM_ADDR2 MEM_ADDR0 MEM_DQS0 RCLK0# RDQ15 RDQ14 RDQ13 RDQ12 RRAS# RCAS# MEM_WE# MEM_CAS# RDQ9 RDQ10 RDQ11 RA8 RA9 RA11 RA12 RA3 RA2 RA1 RA0 MEM_ADDR3 MEM_ADDR2 MEM_ADDR1 MEM_ADDR0 RCS# RBA0 RA10 MEM_BA1 MEM_BA0 MEM_CS# RA4 MEM_ADDR4 RBA1 MEM_DQ7 RDQ4 RDQ5 RDQ6 RDQ7 RDQ0 RDQ1 RDQ2 RDQ3 MEM_ADDR12 MEM_ADDR11 MEM_ADDR9 MEM_ADDR8 MEM_ADDR5 MEM_ADDR4 MEM_ADDR6 MEM_ADDR7 MEM_ADDR8 MEM_ADDR9 MEM_ADDR11 MEM_ADDR10 MEM_ADDR3 MEM_ADDR1 MEM_ADDR2 MEM_ADDR0 MEM_DQ2 MEM_DQ3 MEM_DQ6 MEM_DQ7 MEM_DQ0 MEM_DQ1 MEM_DQ15 MEM_DQ14 MEM_DQ13 MEM_DQ12 MEM_DQ11 MEM_DQ10 MEM_DQ9 MEM_DQ8 MEM_DQ5 MEM_DQ4 MEM_BA1 MEM_BA0 MEM_CLKEN MEM_WE# MEM_CAS# MEM_RAS# MEM_CS# MEM_DQM0 MEM_DQM1 +3V3 C430 0.1U C47 4U7 C415 0.1U MEM_VREF B03 DDR SD-RAM 18520_502_090312.eps 090312 Circuit Diagrams and PWB Layouts EN 55 TCM3.1A LA 10. 2009-May-08 SSB: Tuner GND GND GND GND GND GND GND GND GND GND GND GND GND GND T T GND GND GND GND GND GND GND GND GND GND GND GND A 3 2 1 F E D C B 8 7 6 5 5 4 3 2 1 F E D C B A 4 6 7 8 GND T GND GND/ADJ OUT VIN 4 GND GND T T GND GND GND GND GND GND GND GND T T T T T GND AGC AS SCL SDA NC BP BT IF AGC NC1 AS SCL SDA MB1 MB2 NC3 BT NC4 IF-OUT OUT2 OUT1 GND IN/GND IN OUT2 OUT1 GND IN/GND IN GND GND NC TAGC REF VAGC VIF1 VIF2 OP1 FMPLL DEEM AFD DGND AUD CVBS AGND VPLL VP AFC SIF1 SIF2 OP2 TOP SDA SCL SIOMAD 2 Far from signal SAW-3953D/K7270M SAW-D9453D APLS EU TCL AP CVBS0N TV_AUDIO SDA_TV C119 47U 6V3 C205 0.01U D6 BA277 D15 BA277 B C E Q12 BT3904 NC R755 0R NC R756 0R NC 6V3 47U C120 C188 0.47U 9885 NC 13 14 15 16 1 2 3 4 5 6 7 8 17 18 19 20 21 23 24 22 9 10 11 12 U2 TDA9885T R727 0R NC MPX1 R196 0R L-ADD B C E Q18 BC846B L-NC R192 150R L-ADD 3 1 2 4 5 X7 L-45-SAW937-0M0 5 4 3 2 1 X2 L-45-SAWM39-530 3 1 2 X1 4M5 L-ADD L63 12UH L-ADD R516 10K L-ADD R501 0R L-ADD(NC) R514 100R L-ADD C201 0.01U NC L61 0.56UH C431 1000P R169 10K NC R168 10K NC L51 1UH NC 0R R182 NC R174 4K7 R190 75R LATAM NC AP-ADD 1 2 3 4 5 6 7 8 9 10 11 Z1 1 3 4 5 6 7 9 11 Z2 NC B C E Q17 BC846B L-ADD C199 0.01U R513 39K R512 39K X3 4M C204 20P C117 100U 16V C116 100U 16V R500 4K7 L-ADD L55 1000UH L54 1000UH R383 0R NC R158 330R R515 220R L-ADD D16 BA277 D17 BA277 CVBS0P 10R R503 5VOUT 5VOUT 5V-IF 82R R171 L49 2.2UH 220R R162 TV-CVBS 470R R165 B C E Q15 BC846B TV1-V C195 220P Z35 Z37 Z34 Z33 RF-AGC Z39 L52 1000UR J1 0R NC R507 330R R518 22K 12_IF C189 0.01U B C E Q13 BC857C TV1-V R509 22K Z38 Z36 C191 1000P NC C190 1000P NC R151 0R NC C215 0.1U L-ADD R193 150R L-ADD R195 1K L-ADD L62 0R R189 0R NC R170 0R NC 2 6 3 5 4 1 U30 UM6K1N 12-UM6K1N-0BX R185 1K B C E Q14 BC846B C206 0.01U R184 22K C202 0.1U D2 33V SCL_TV MPX2_P MPX2_N SDA_TV SCL_TV OSDA0 OSCL0 TV_AUDIO TV1-V CVBS TV-RF-AGC 4 1 2 3 U6 LD1117S50 0.47U C185 C209 0.01U 5VOUT C61 0.01U C62 0.01U C203 0.1U R48 22R 2W Z160 TV-CVBS 5VOUT C115 47U 6V3 C118 47U 6V3 5VOUT R191 100R 5V-IF 5V-IF 5VOUT 5V-IF C214 3300P 0.1U C213 C212 1U C49 10U C211 0.1U C210 390P R188 5K6 R187 5K6 R186 2K2 C440 1000P C439 22P 33V C208 0.01U C207 0.1U C438 0.01U R181 2K2 R180 33R R179 100K R511 100R R510 100R R178 47K R177 4K7 R176 4K7 Z32 Z31 +3V3 R175 4K7 5V-IF R173 12K R172 10K L50 1000UR 5VOUT 5VOUT C198 0.1U C197 200P R167 4K7 R166 4K7 C196 220P 5VOUT C194 47P C193 0.1U C192 0.1U R163 2K2 R161 12K R160 22K C187 1500P R159 22K C186 0.1U C184 270P C183 4700P L48 1000UR R157 100R R156 100K C182 0.01U C181 47P R155 100R R154 100R C180 47P C179 47P C178 0.01U 1 3 2 D28 0BAV99 C177 0.22U R153 4K7 C435 22P C434 33P 33P C433 R152 2K2 C432 1000P 12_M 0.1U C176 GND 12K R150 LL4148 D14 0.1U C175 OP2 MPX2 SDA_TV SCL_TV TV-RF-AGC RF-AGC OP2 B C E C124ET Q16 MPX2 J2 0R NC J3 0R NC J4 0R NC B04 TUNER 18520_503_090312.eps 090312 EN 56 TCM3.1A LA 10. Circuit Diagrams and PWB Layouts 2009-May-08 SSB: HDMI T T T GND GND GND GND GND GND GND GND GND GND T GND GND GND GND GND T T T T T GND GND GND GND T T T T T SDA SCL WP VCC GND A2 A1 A0 GND GND GND GND GND GND GND GND GND GND T T T SDA SCL WP VCC GND A2 A1 A0 GND GND A 3 2 1 F E D C B 8 7 6 5 5 4 3 2 1 F E D C B A 4 6 7 8 GND GND GND GND GND GND GND GND VCC-1 DNEG-1 DPOS-1 GND-1 MNT-HOLE1 MNT-HOLE2 GND GND GND GND T T T GND OUT FAULT ILIM EN GND IN NC21 GND1 RX2- RX1+ GND2 RX1- RX0+ GND3 RX0- RXC+ GND4 RXC- NC1 NC2 DDCCLK DDCDA GND5 VCC RX2+ HPD NC20 SDA SCL WP VCC GND A2 A1 A0 NC21 GND1 RX2- RX1+ GND2 RX1- RX0+ GND3 RX0- RXC+ GND4 RXC- NC1 NC2 DDCCLK DDCDA GND5 VCC RX2+ HPD NC20 T RX2+ GND1 RX2- RX1+ GND2 RX1- RX0+ GND3 RX0- RXC+ GND4 RXC- NC1 NC2 DDCCLK DDCDA GND5 VCC HPD HDMISCL_2 HDMISDA_2 UP35 UP30 HDMISDA_1 HDMISCL_1 UP33 HDMISCL_0 HDMISDA_0 1 2 3 4 5 6 7 8 9 10 11 12 13 14 15 16 17 18 19 P16 Z40 21 2 3 4 5 6 7 8 9 10 11 12 13 14 15 16 17 18 1 19 20 P13 1 2 4 6 8 12 14 16 18 20 10 3 5 7 9 11 13 15 17 19 P11 NC 5 6 7 8 4 3 2 1 U22 AT24C02 HDMIDDCSCL_0 HDMIDDCSDA_0 R529 100R 2 1 R56 21 2 3 4 5 6 7 8 9 10 11 12 13 14 15 16 17 18 1 19 20 P14 2 1 R26 2 1 R23 2 1 R27 2 1 R24 2 1 R44 2 1 R29 2 1 R28 2 1 R25 B C E Q19 BT3904 HDMISCL_1 HDMIDDCSCL_1 HDMIDDCSDA_1 R565 33K R113 33K C90 47U 6V3 C91 100U 16V L65 120R L64 120R NC 6 4 5 3 2 1 U12 TPS2550 13-TPS255-0DB R202 24K R540 100R CEC1 CEC USB_DP0 Z105 Z106 Z104 R112 100R Q5 2N7002 C218 0.1U R199 100R R198 100R C469 1000P 1K R254 C452 1000P C337 1000P C298 1000P 1K R149 HDMISDA_0 B C E Q20 BT3904 1K R148 1 2 3 4 5 6 P5 RX0_1B 2 1 R32 2 1 R30 2 1 R33 2 1 R31 2 1 R34 2 1 R36 2 1 R35 2 1 R45 1 2 R22 2 1 R47 2 1 R39 2 1 R37 2 1 R40 2 1 R38 2 1 R41 2 1 R43 2 1 R42 2 1 R46 2 1 R52 PWM3 HDMISCL_0 R713 10K B C E Q21 BT3904 HDMIDDCSCL_2 USB_DM0 HDMI_CEC_3V3 R556 100R HDMISCL_0 HDMISDA_0 R566 100R OPWR0_5V HDMICAB0 GND RX0_2 RX0_2B RX0_1 RX0_1B GND RX0_0 RX0_0B GND RX0_C RX0_CB +3V3 OPWR0_5V 1K R561 HDMI_CEC_3V3 HDMI_CEC_3V3 OSCL0 +3V3 5V_M +3V3SB HDMISCL_2 OPWR1_5V 2 1 R53 1K R532 R201 10K +3V3 5V_M R197 0R NC PWM1 HDMISDA_2 2 1 R54 2 1 R50 2 1 R55 2 1 R59 RX1_1 RX1_2 RX1_0B RX1_C R558 100K 2 1 R58 5 6 7 8 4 3 2 1 U24 AT24C02 Z54 Z53 Z52 2 1 R51 100R R564 R563 100R R562 10K C449 10P 1K R559 10K R557 5 6 7 8 4 3 2 1 U23 AT24C02 R552 47K R551 47K Z51 100R R550 10P C448 C447 10P R549 100R 100R R548 Z50 Z49 R545 100R R544 10K C446 0.1U Z48 Z47 R542 100K 10K R541 R539 47K R538 47K Z46 10P C445 C444 10P R537 100R 100R R536 Z45 Z44 C443 0.1U Z43 Z42 R531 100K 10K R530 R528 47K R527 47K 100R R526 10P C442 R525 100R 100R R524 Z41 R521 100R R520 10K C441 0.1U C219 0.1U R200 100K 0.1U C217 RX2_2 RX0_2 RX0_0 RX0_1 RX0_0B RX0_CB RX1_2B RX1_1B RX1_0 RX1_CB RX1_2B RX1_2 RX1_1 RX1_0 RX1_0B RX1_C RX1_CB HDMI_CEC_3V3 HDMISDA_1 RX1_1B RX0_2B RX0_C HDMI_CEC_3V3 RX2_CB RX2_C RX2_0B RX2_0 RX2_1 RX2_2 RX2_2B RX2_CB RX2_C RX2_0B RX2_1 RX2_0 RX2_1B RX2_2B RX2_1B HDMIDDCSDA_2 RX0_CB RX0_C RX0_0B RX0_0 RX0_1B RX0_1 RX0_2B RX0_2 +3V3 2 1 R57 2 1 R87 2 1 R94 OPWR2_5V F1 F2 GND OSDA0 Z103 HDMICAB0 Z107 Z108 B05 HDMI 18520_504_090312.eps 090312 Circuit Diagrams and PWB Layouts EN 57 TCM3.1A LA 10. 2009-May-08 SSB: I/O - VGA, USB, S-Video GND GNDGND GND GND GND GND GND GND GND GND GND GND T GND T GND GND GND GND GND GND GND GND GND GND GND T T T T T GND SDA SCL WP VCC GND A2 A1 A0 GND T T T T T T T T T T GND GND GND GND GND GND A 3 2 1 F E D C B 8 7 6 5 5 4 3 2 1 F E D C B A 4 6 7 8 T T T GND GND GND GND VOUT2 CE VIN GND VOUT1 GND GND GND T GND T T T T T T T T VOUT2 CE VIN GND VOUT1 1 2 3 4 P39 NC 4 3 1 7 5 2 6 P9 3 1 2 P7 47-MIC012-XX0 6 4 11 14 15 7 12 8 5 13 3 10 9 1 2 16 17 P6 47-VGA019-XX0 L72 120R L71 120R 0 L70 120R 0 L69 120R 0 L68 120R L67 120R L66 120R 120R L133 L131 120R L124 120R L123 120R 16V C2 47U NC NC 0R R307 C329 220U 16V NC 0.1U C200 NC C279 0.1U NC 5 4 3 2 1 U35 RT9701 NC-13-RT9701-PBB VCC_1 0.1U C291 NC 2 1 R65 NC 2 1 R66 NC 2 1 R61 NC 2 1 R68 NC 2 1 R67 NC 2 1 R64 NC 2 1 R62 NC 2 1 R63 NC R305 0RNC 1 2 3 4 5 6 7 8 P36 NC R505 100R NC R326 100R NC Z3 Z6 Z10 Z11 Z26 Z21 Z19 Z20 HPOUTR1 TXD0_EXT TXD0_EXT RXD0_EXT RXD0_EXT VSYNC0 VGASCL0_IN F9 VGAROMWP0 R312 100R R319 100R VSDA_R VSCL_T R569 22K Z57 VCC_1 SC1_IN R224 8K2 5V_M 5V_M USB_DM1 USB_DP1 USB_DP1 VGASOG R206 8K2 R205 8K2 VGA_L R210 8K2 R209 8K2 R222 8K2 R221 8K2 R223 8K2 R213 8K2 R214 8K2 GRNP VGA_R VGASDA0 C234 10P R568 100R R572 100R R570 10K R204 22K VGASCL0 VGASDA0_IN VGASDA R203 22K 2 1 R49 NC 1 2 R304 NC F13 F14 8 7 5 4 3 1 6 2 9 11 10 12 P12 NC 47U C50 16V NC R321 10K NC 5 4 3 2 1 U34 RT9701 NC-13-RT9701-PBB VGAHSYNC# C222 10P VGAVSYNC# C228 10P C227 10P C221 10P USB_DM1 R726 100R NC R725 100R NC BLUE HPOUTL1 VCC_1 VCC_0 USB_DM1 USB_DM0 USB_DP1 USB_DP0 GND GND USB_DP0 USB_DM0 R226 68R C229 0.01U R225 0R C223 4700P R227 68R C226 0.01U C71 2U2 C70 2U2 C224 0.01U C225 0.01U C231 0.047U C220 0.047U R216 100R F10 R577 560R F5 F6 RED0 C56 2U2 C58 2U2 C55 2U2 C57 2U2 AV2R_IN C68 2U2 AV2L_IN C69 2U2 C66 2U2 YPBPR1_R YPBPR1_L 2U2 C63 R211 22K R212 22K R220 22K R219 22K R218 22K R217 22K AV1L_IN AV1R_IN 1 2 3 D32 BAV70 Z55 Z56 1 2 R60 Z60 USB_DP1_1 1 2 R69 USB_DM1_1 R578 560R R233 75R C233 47P C232 47P R232 100R R576 10K Z75 Z74 Z73 Z72 Z71 Z70 Z69 Z68 Z67 Z66 1 2 3 4 6 5 8 7 U25 AT24C02 R575 100R R574 100R R571 2K2 R567 2K2 R231 75R R230 75R R229 75R C230 0.1U Z65 Z64 Z63 Z62 Z61 5V_M 5V_M R228 68R Z59 Z58 R215 75R VGAVSYNC# VGAHSYNC# RED CVBS7 Y1_R RED GREEN VGA_PLUGPWR0 VGASCL REDP VGAGND GREEN BLUE BLUP AV1_R AV1_L AV2_R AV2_L CVBS6 Y1_L C551 470P C544 470P R207 22K R208 22K F3 F4 BLUE0 GREEN0 VGA5V_EXT0 F7 F8 HSYNC0 F11 F12 USB_DP1 USB_DM1 SY1_IN Y2_L Y2_R YPBPR2_L YPBPR2_R 470P C550 470P C548 2 1 R147 F38 2 1 R194 F39 VCC_0 B06 I/O - VGA, USB, S-video 18520_505_090312.eps 090312 EN 58 TCM3.1A LA 10. Circuit Diagrams and PWB Layouts 2009-May-08 SSB: Digital Analog Converter, DAC GND T GND GND GND GND GND T GND T T T T GND GND GND GREEN BLUE RED WHITE RED GND GND GND GND GND GND T T T T T T T T T T T T GND GND GND GND GND GND GND LRCLK DIN BCLK ENABLE VMID ROUT AGND DGND DVDD DEEMPH FORMAT MCLK LOUT AVDD GND GND AOR AIR AOL AGND BGND AIL B SWITCH GGND CLKOUT G DATA RGND DATAGND R BLNK VGND BLNKGND VOUT VIN SHIELD RED GREEN BLUE WHITE RED A 3 2 1 F E D C B 8 7 6 5 5 4 3 2 1 F E D C B A 4 6 7 8 T T Z188 Z163 120R L136 B C E Q26 BT3904 NC C436 47U 6V3 NC 7 1 5 9 8 6 3 2 4 P28 21 10 20 9 19 8 18 7 17 6 16 5 15 4 14 3 13 2 12 1 11 P1 NC 47-SCA014-XX0G R376 15KNC L83 120R L82 120R NC L81 120R NC L78 120R L77 120R L76 120R NC L75 120R L74 120R L73 120R L134 120R C248 0.047U NC R257 100R NC C249 47P NC R258 75R NC R255 10R NC C247 22P NC 2 1 R71 NC 2 1 R76 NC 2 1 R77 NC 2 1 R78 NC 2 1 R74 NC 2 1 R72 NC 2 1 R73 NC R280 75R NC R282 220R NC C470 1000P NC R279 1K NC R743 1K NC R740 1K NC 0.1U C242 NC C52 1U NC R241 33R NC TV-CVBS C265 1U NC SCT1_AV_OUT 10K R375 NC UP31 DA_AUL C239 1U NC ADCVA C240 0.1U NC R260 0R R247 10K NC C238 0.1U NC 10K R243 NC R235 10K NC R242 10K NC C241 1U NC C153 33P NC 1 2 3 4 5 6 7 10 11 12 13 14 9 8 U9 WM8501 NC C235 0.1U NC C237 1U NC C236 0.1U NC R236 10K NC C138 33P NC C136 33P NC C130 33P NC R238 47K NC R234 33R NC R240 33R NC R239 33R NC C245 1U NC C244 0.1U NC C243 1U NC 2 1 R70 NC R252 75R NC R253 0R NC 2 1 R75 NC R506 0R NC R259 10K NC R278 33K NC R714 0R YPBPR0_GND PR1P R275 68R R269 0R R273 68R R272 68R C259 0.01U C260 0.01U C262 0.01U C263 0.01U C261 4700P R274 100R R265 100R R263 68R R264 68R R266 68R C255 0.01U F19 F21 F23 SCT1_FB_IN F22 SCT1_FS_IN F17 F16 F15 PR1/R_IN PB1/B_IN B C E Q27 BT3904 YPBPR1_GND YPBPR2_L YPBPR2_R Z148 Z150 Z147 Z145 Z146 Z144 Z151 Z153 Z152 Z154 Z155 Z156 YPBPR1_L YPBPR1_R PR1/R_IN GPIO_6 GPIO_5 GPIO_3 +3V3 GPIO_2 ADIN3_1 1 2 3 4 5 6 7 8 9 10 11 12 P19 C266 0.01U 5V_M 5V_M +3V3 Z82 Z81 Z80 Z79 Z76 C264 15P R277 75R R276 0R C258 15P C257 15P R271 75R R270 75R C256 15P R268 75R R267 0R C254 4700P C253 0.01U C252 0.01U C251 15P C250 15P R262 75R R261 75R ADCVA DACVL +3V3 +3V3 DACVL PB0P SCT1_FS_IN PB1/B_IN SOY1 SCT1_FB_IN Y1/G_IN YPBPR2_L PR0P ADIN3 CVBS3 ADCVA PB1P SOY1 Y1P SCT1_AV_IN SCT1_AV_OUT SCT1_AUR_OUT SCT1_AUL_OUT C553 470P C546 470P YPBPR2_R Z149 Y0P SOY0 SCT1_FS_IN Y1/G_IN F18 SCT1_AV_IN F20 R350 0R NC DA_AUR B07 Digital Analog Converter, DAC 18520_506_090312.eps 090312 Circuit Diagrams and PWB Layouts EN 59 TCM3.1A LA 10. 2009-May-08 SSB: I/O - Connectivity YPbPr GND T T T T T T GND GND GND GND GND GND GND GND GND GND T T T T T GND T GND T T GND GND GND GND T T T T T GND GND GND T GND T GND GND T GND GND GND T T GND GND GND A 3 2 1 F E D C B 8 7 6 5 5 4 3 2 1 F E D C B A 4 6 7 8 GND RED WHITE YELLOW WHITE RED YELLOW BLACK GND AOR AIR AOL AGND BGND AIL B SWITCH GGND CLKOUT G DATA RGND DATAGND R BLNK VGND BLNKGND VOUT VIN SHIELD GND GND T T T GND GND RED WHITE YELLOW T GND GND AV2L_IN_1 AV2R_IN_1 R759 1K NC R758 1K NC SCT1_AUL_OUT C583 2200P NC R742 100R NC 2200P C584 NC Z245 B C E Q28 BT3904 NC R291 1K NC R292 1K NC B C E Q29 BT3904 NC 1 4 2 5 3 6 P38 R753 1K R754 1K AUL_OUT0 AUR_OUT0 AUL_OUT0_1 AUR_OUT0_1 L143 2.2UH NC L142 2.2UH NC C588 2200P NC C587 2200P NC C586 2200P NC C585 2200P NC R741 100R NC 2200P C450 NC C451 2200P NC Z92 Z246 SCT2_FS_IN Z196 C288 2200P L89 2.2UH SCT1_AUR_OUT R325 75R 21 10 20 9 19 8 18 7 17 6 16 5 15 4 14 3 13 2 12 1 11 P2 NC R316 100R NC R297 75R NC C273 0.047U NC C287 47P NC 1 2 P18 NC 47-RCA276-XX0G 1 4 2 5 3 P31 R1 0R SCT2_R/C_IN 47P C267 C272 0.047U 120R L85 75R R287 R296 100R 1 4 2 5 3 6 P30 R738 100R NC R737 100R NC R736 100R NC R735 100R NC C275 4700P NC C276 4700P NC C277 4700P NC C274 4700P NC R299 4K7 NC R300 4K7 NC R301 4K7 NC R298 4K7 NC 16V 100U C1 NC C278 0.1U NC L92 120R NC L93 120R NC L94 120R NC L95 120R NC 2 1 R82 NC 2 1 R81 NC 2 1 R80 NC 2 1 R79 NC 6 1 7 2 3 8 9 5 4 10 11 P4 NC L88 120R NC 2 1 R83 NC R295 10K NC R294 33K NC R519 0R NC R289 470R NC R288 470R NC R293 47K NC R290 47K NC C530 10U 16V NC C531 10U 16V NC C286 0.1U NC R313 100R NC R314 100R NC C285 33P NC 2 1 R85 NC SPDIFOUT 1 2 3 4 5 6 7 8 P35 NC R317 15K C437 47U 6V3 L91 120R 120R L87 L135 120R L132 120R 2 1 R86 NC 2 1 R84 NC AV1L_IN R310 10K GPIO_23 GPIO_25 GPIO_24 GPIO_22 ADIN4_1 C552 470P C549 470P AV1R_IN Z170 CVBS_BYPASS R318 220R Z164 7 6 5 4 8 9 3 1 2 P27 HPOUTL1 HPOUTR1 R315 100R C290 0.1U GAME_LOAD HPDET# C289 2200P AR0 AL0 C283 0.047U R309 100R F31 F30 F25 SCT2_R/C_IN A_MUTE F28 Z165 F26 A_MUTE Z177 Z173 AV2R_IN AV2R_IN_1 AV2L_IN AV2L_IN_1 AV2R_IN_1 AV2L_IN_1 SCT2_R/C_IN 5V_M SCT2_AV_OUT ADIN4 C545 470P C547 470P Z178 Z175 Z191 Z186 Z182 AV2_IN C281 22P 10R R302 L90 2.2UH 5V_M 1K R579 +3V3 Z91 Z90 Z89 Z88 Z87 Z86 Z85 Z84 0.1U C284 C54 1U B C E Q30 BT3904 R308 75R C282 47P C271 2200P C270 2200P GPIO_10 CVBS5 CVBS4 AV2_IN Z169 Z166 Z172 Z181 Z171 Z176 F24 F27 SCT2_FS_IN F29 GAME_CLK GAME_DA1 GAME_DA2 HPDET# HPOUTR1 HPOUTL1 AV1_IN AV1R_IN AV1L_IN AV1_IN CVBS1 SCT2_AV_OUT AUR_OUT0_1 AUL_OUT0_1 DA_AUR DA_AUL B08 I/O - Connectivity YPbPr 18520_507_090312.eps 090312 EN 60 TCM3.1A LA 10. Circuit Diagrams and PWB Layouts 2009-May-08 SSB: MUX and DEMUX GND GND GND GND GND 2IN+ 2IN- 2OUT VCC+ 1IN+ 1IN- 1OUT VCC- GND GND GND GND GND GND GND GND GND GND GND GND GND GND GND GND GND GND GND GND GND GND GND GND 2IN+ 2IN- 2OUT VCC+ 1IN+ 1IN- 1OUT VCC- GND GND GND GND GND GND GND GND GND GND GND GND GND GND GND GND GND GND GND GND GND GND GND GND GND Y0B Y2B ZB Y3B Y1B E VEE VSS A1 A0 Y3A Y0A ZA Y1A Y2A VDD GND GND A 3 2 1 F E D C B 8 7 6 5 5 4 3 2 1 F E D C B A 4 6 7 8 Y0B Y2B ZB Y3B Y1B E VEE VSS A1 A0 Y3A Y0A ZA Y1A Y2A VDD VCC 2OUT 2IN- GND 2IN+ 1IN+ 1IN- 1OUT AUL_OUT0 AUR_OUT0 B C E Q100 BT3904 R604 10R C92 330U 16V C492 220U 16V R729 0R R728 0R NC B C E Q24 BT3904 NC C574 1000P NC R748 0R R426 100R NC R435 10K NC R432 10K NC R346 1K C576 4U7 AV1R_IN C562 0.1U C572 120P R366 33K R386 33K R373 33K R345 5K1 R418 22K R417 22K R404 1K C580 4U7 R396 1K C581 4U7 R387 100R R339 15K R340 15K R600 33K 8 7 6 4 5 3 2 1 U27 13-LM833D-00B LM358 C535 10U 16V C537 10U 16V C532 10U 16V C534 10U 16V C539 100U 16V +12V C577 4U7 R95 820R R140 820R C564 1000P C123 0.1U 1 2 3 4 5 6 7 8 9 10 11 12 13 14 15 16 U16 HEF4052B C454 0.1U 12_M R246 1K8 5V-IF +12V R749 10R MICOUT_L MUX1-L C95 22U 16V C96 22U 16V C540 10U 16V AV1_L AV1_R MICOUT_R MUX1-R Y1_R Y1_L AV2_L AV2_R C67 10U R341 1K2 R332 1K2 Y2_L VGA_L MUX1-L VGA_R 12_M PWDN R629 33K 1 2 3 4 5 6 7 8 9 10 11 12 13 14 15 16 U15 HEF4052B +12V 10U C216 A_MUTE MUX_CTL3 MUX_CTL2 AV1L_IN R348 1K R347 33K C53 10U MUX_CTL2 R633 100R B C E Q32 BT3904 +12V R146 22K R141 22K +12V GPIO_21 R624 22K 12_MA C502 0.1U R244 0R NC 12_MA MCU_M +12V AR21 AL21 C293 0.022U R617 100R B C E Q101 BT3904 R127 4K7 MCU_M AUD_LOUT R620 22K 12_M C461 0.1U 10U C59 R385 10K R365 10K B C E Q43 BT3904 1 2 3 D21 BAV70 D20 LL4148 R349 100R R389 100R C494 1000P R580 10K C471 1000P R637 10K R638 10K R142 100K 12_M 12/24V_AUDIO R715 100R R583 22K R584 22K R585 22K R586 22K Y2_R C466 0.1U C122 100U 16V C538 10U 16V R306 100K B E C Q53 BT3906 D19 LL4148 R303 47K R594 1K D25 LL4148 R593 1K R595 100K R390 10K R582 10K B C E Q38 BT3904 R635 10K B C E Q39 BT3904 MUX_CTLC1 GPIO_7 GPIO_1 R632 100R R631 100R HPOUTR1 HPOUTL1 AL2 C294 0.022U C533 100U 16V R336 4K7 R612 100R A_MUTE A_MUTE R602 10R R597 10R R335 4K7 R590 22K R589 22K R588 22K R587 22K AUD_ROUT OFF_MUTE C121 10U 16V MUX_CTLC0 +3V3SB R598 100R C295 0.022U C296 0.022U +12V +12V +12V +12V +12V C76 10U C75 10U C468 0.1U C467 0.1U R630 33K R628 33K R627 33K 5 6 7 8 3 2 1 4 U26 RC4558 B C E Q36 BT3904 C465 100P C464 100P C463 100P C462 100P R616 33K C460 0.1U R611 33K C536 10U 16V R610 10K R609 10K C459 1000P R608 100R R338 13K C458 1000P R607 100R R337 13K R606 33K R603 1K C457 0.1U B C E Q33 BT3904 R599 1K C456 1000P R334 13K C455 1000P R333 13K C453 0.1U R581 10K MUX_CTLC1 MUX1-R AR2 MUX_CTLC0 C493 1000P +3V3 C495 1000P D100 LL4148 A_MUTE AR3 AL3 12_M R384 5K1 C568 1000P C563 120P C330 0.1U 5 6 7 8 3 2 1 4 U37 RC4558 C60 10U AUD_LOUT AUD_R AUD_L AUD_ROUT MUX_CTL3 MICOUT_R MICOUT_L GPIO_20 GPIO_8 B09 MUX and DEMUX 18520_508_090312.eps 090312 Circuit Diagrams and PWB Layouts EN 61 TCM3.1A LA 10. 2009-May-08 SSB: Audio Amplifier GND T T T T T GND GND GND GND GND GND GND T T T GND GND T GND GND GND GND GND GND GND GND GND T T GND GND GND GND A 3 2 1 F E D C B 8 7 6 5 5 4 3 2 1 F E D C B A 4 6 7 8 GND GND T T T T T GND GND GND GND GND D2B D2A G1 G2 S1 D1B D1A S2 GND GND GND T GND T GND VDD_DIG2 GND_DIG SCL SDA INT_LINE RESET SDI LRCKL BICKL XT1 PLLGND PLL_FILTER PLL_VDD POWERDN VSS_DIG VDD_DIG OUT4B OUT3A OUT3B CONFIG VDD GND_REG OUT1A GND1 VCC1 OUT1B OUT2A VCC2 GND2 OUT2B VCC_REG VSS TESTMODE SA GND_SUB OUT4A GND LVDS CONNECTOR FOR 2.1 CONFIG: R13 --- 22R ,R354 --- 0R , C312 --- 330P; C81 --- 0.47U ,R355 --- 0R; C518/C519/C520/C521 --- 330U/16; R356/R357/R358/R359 --- 3K3; C317/C318/C319/C299/R16/R17 --- NC Audio VMID control 3 4 1 2 L6 33R 3 4 1 2 L7 33R 3 4 1 2 L5 33R 3 4 1 2 L8 33R 3 4 1 2 L9 33R 3 4 1 2 L10 33R 3 4 1 2 L11 33R 3 4 1 2 L12 33R 3 4 1 2 L13 33R 100R R757 NC 100R R644 C520 220U 35V C519 220U 35V C518 220U 35V C521 220U 35V C523 220U 35V LVDSVDD B C E Q45 BT3904 R732 1K R382 10K R391 4K7 E0N_1 NC/OUT_R- C522 220U 35V 1000P C315 NC C504 0.1U R653 200R NC R639 10K NC B C E Q40 BT3904 NC 36 35 34 33 32 31 30 29 28 27 26 25 24 23 22 21 20 18 17 16 15 14 13 12 11 10 9 8 7 6 5 4 3 2 1 19 U17 STA333BW STA335 R20 0R R21 0R NC R12 0R NC R696 1K NC 1 10 11 12 13 14 15 16 17 18 19 2 20 21 22 23 24 25 26 27 28 29 3 30 31 32 33 34 35 36 37 38 39 4 40 5 6 7 8 9 P17 C480 10P C481 10P C482 10P C483 10P C484 10P C485 10P C486 10P C487 10P C488 10P C489 10P C490 10P C491 10P L20 22UH CLICK NC C299 0.1U CLICK NC C317 0.1U CLICK NC R17 6R8 CLICK NC R15 22R CLICK NC C316 330P CLICK NC L17 22UH CLICK NC 0.1U C319 CLICK NC R16 6R8 CLICK NC C318 0.1U CLICK NC 1000P C321 CLICK NC C82 0.47U CLICK NC C320 1000P CLICK NC 1000P C306 CLICK NC 1 2 3 P23 CLICK&32"PS NC R712 0R NC R723 100R D101 LL4148 PWDN B C E Q42 BT3904 NC C323 0.1U R652 100R R647 10K R377 1K2 C573 0.1U R370 3K3 ROT/DCR Z130 1U C569 NC 3K3 R358 R357 3K3 3K3 R356 R359 3K3 NC/OUT_L- C570 0.1U R164 0.22R NC 120R L103 L140 200R 200R L139 OUTR-/SUBW- OUTR+/SUBW+ OUTL+/OUT_L+ OUTL-/OUT_R+ 1 2 3 4 P25 ODSEL R381 4K7 C86 0.22U LVDSVDD C301 1000P C302 0.1U AMP_12/24V AMP_12/24V Z117 12/24V_AUDIO AMP_12/24V C308 4700P D27 LL4148 R367 100K C473 4U7 16V INT R250 100R C505 1000P GPIO_9 OSCL0 330P C312 0R R354 R13 22R C81 0.47U R355 0R R378 0R NC 7 8 4 2 3 5 6 1 A04803 U28 0R R360 NC 22R R14 +3V3 ADIN5 R380 22K C85 1U C84 1U 12_M 5V_M L19 22UH L18 22UH 0R R379 R371 100R OCKP ECKP O1N_1 O1P_1 E0N_1 C475 10P C328 10P C479 10P C478 10P E1N_1 C407 10P E2P_1 R19 6R8 R352 10K LVDSVDD VBR_OUT VBR_EXT +3V3 C309 0.1U OSDA0 C169 10P C246 10P C327 10P C280 10P C83 0.47U OUT2A OUT2A OUT1B OUT2B Z115 Z112 Z114 Z113 Z118 C500 33P R374 470K C325 0.1U C324 0.1U L105 120R +3V3 AMP_3V3 33P C501 C499 33P 33P C498 C497 33P 33P C496 AMP_3V3 C326 0.1U R372 100R AMP_3V3 33R R369 33R R368 R643 100R R642 100R R641 100R Z128 Z116 R18 6R8 33R R364 33R R363 C322 0.1U C314 1000P C313 330P C311 0.1U C310 0.1U R353 2K2 1000P C307 C305 680P C304 0.1U 0.1U C303 C79 10U 10U C78 R351 0R L104 120R C300 0.1U Z109 Z93 D26 LL4148 AMP_SA E4P_1 E3P_1 ECKP_1 O0P_1 O0N_1 O1N_1 O2N_1 OCKN_1 O3N_1 O4N_1 O1P_1 O2P_1 OCKP_1 O3P_1 O4P_1 E0N_1 E1N_1 E2N_1 ECKN_1 E3N_1 E4N_1 E0P_1 E1P_1 E2P_1 AOSDATA0 AOMCLK AOLRCK AOBCK OUT1A OUT1A OUT2B OUT1B OUT2A AMP_CF AMP_SDA AMP_SCL Z111 Z110 E4P E3P_1 E3P E3N E4N E4N_1 E3N_1 O0N_1 O0N O0P_1 O0P O1N O1P O1P_1 O1N_1 O2N O2P ECKN E2P E2N E1P E1N E0P E0N ECKN_1 E2P_1 E1P_1 E1N_1 OCKN O2N_1 O2P_1 OCKN_1 OCKP_1 O4N_1 O4P_1 O3P_1 O3N_1 O3N O3P O4N O4P ECKP_1 E2N_1 E0P_1 E4P_1 O4P_1 O3P_1 OCKP_1 O2P_1 O0P_1 E4N_1 E3N_1 ECKN_1 E2N_1 E4P_1 ECKP_1 E1P_1 E0P_1 O0N_1 O3N_1 O4N_1 OCKN_1 O2N_1 E3P_1 C336 10P C477 10P C476 10P C77 10U 0.1U C503 AUD_VMID OFF_MUTE C571 1000P Z187 BIT_SEL SEL_LVDS Z131 Z132 Z133 Z135 AMP_3V3 3R3 R361 3R3 R362 3 4 1 2 L4 33R 3 4 1 2 L2 33R 3 4 1 2 L3 33R B10 Audio Amplifier 18520_509_090312.eps 090312 EN 62 TCM3.1A LA 10. Circuit Diagrams and PWB Layouts 2009-May-08 SSB: MCU Stand-by GND GND GND T GND GND GND GND GND GND GND GND GND GND T GND T T GND T T GND T GND GND GND GND T GND SDA SCL WP VCC GND A2 A1 A0 T T T T T T T T T T T T T T T T T T GND RESET VCC GND GND T T T GND GND GND GND T GND T IN OUT GND P00/AN7/TXD11 P01/AN6 P02/AN5 P03/AN4 MODE P04/AN3 P05/AN2 P06/AN1 P07/AN0 IVCC P30/CNTR0#/CMP10 AVSS P31/TZOUT/CMP11 AVCC/VREF P32/INT2/CNTR1/CMP12 P33/INT3#/TCIN P45/INT0# P10/KI0#/AN8/CMPO0 P11/KI1#/AN9/CMPO1 P12/KI2#/AN10/CMPO2 P13/KI3#/AN11 P14/TXD0 P16/CLK0 P17/INT1#/CNTR0 VCC XIN/P46 VSS XOUT/P47 RESET CWSS P37/RXD10/RXD1 P15/RXD0 A 3 2 1 F E D C B 8 7 6 5 5 4 3 2 1 F E D C B A 4 6 7 8 IR PASSTHROUGH IR LINK 1 2 3 4 5 6 7 P21 1 2 3 P3 MCU_M D3 8V2 R183 33K R400 10K C582 1000P C560 1000P 100R R281 100R R283 1 3 5 2 4 P29 R284 1K NC R751 0R RXD_PBS R423 6K8 R421 4K7 32 31 30 29 28 27 26 25 24 23 22 21 20 19 18 17 16 15 14 13 12 11 9 8 7 6 5 4 3 2 1 10 U8 R8C11 10K R433 MODE SHORT_PROTECT 5VSB 1 2 3 4 5 P32 C510 10P C509 10P C512 0.1U L114 120R L113 120R L112 120R 3 1 2 P8 47-MIC012-XX0 C514 10P C516 10P 1 2 R93 1 2 R92 R394 0R NC 2 1 R89 NC 2 1 R88 NC C506 10P 2 1 R90 NC L108 120R OIRI_IS OIRI_IN F37 R428 10KNC R444 1K R403 10K NC R419 10K NC R399 22K 100R R251 C341 10P C340 10P X5 16M R427 5K1 C98 47U 6V3 NC C338 22P NC C339 22P NC L121 120R L118 120R L117 120R L116 120R L115 120R C99 47U 6V3 L111 120R L110 120R 16V 4U7 C474 3 2 1 U32 RT9166-33 NC Z219 R706 10K NC C554 1000P NC R707 10K NC B C E Q59 BT3904 NC 1 2 3 4 P34 NC B E C Q58 BT3906 NC R704 100R NC R705 5K6 NC C561 1000P R430 100R +3V3SB TXD_PBS 1 2 3 4 5 6 7 P15 RXD_PBS 5VSB Z202 R402 100R R405 1K R285 47K R443 47K KEY ADIN1 F34 2 1 R91 LED Z209 Z210 Z211 C542 1000P C557 1000P KEY C335 100P C559 1000P R446 100R C558 1000P IR_MCU R724 100R NC R711 100R OIRI R392 1K NC GPIO_11 LED_RED OIRI_IN R429 10K NC R694 10K 0R R450 +3V3SB +3V3SB C72 0.1U 2 3 1 U36 NC MAX809 C344 1U C331 0.1U NC B C E Q47 BT3904 NC 4K7 R393 NC B C E Q49 BT3904 4K7 R445 R398 1K ORESET# R434 10K MCU_RESET D1 LL4148 MCU_RESET F33 Z203 L122 120R C332 0.1U C511 0.1U C513 0.1U R424 100R R431 100R R425 100R R695 10K R449 10K R448 10K R420 5K1 R406 100R R412 100R R414 100R R413 100R R447 100R R440 1M C517 0.1U R416 10K R401 10K C508 0.1U R415 10K R422 10K R716 100R R411 4K7 R407 100R R408 100R R409 100R R410 100R R717 100R C334 100P C333 100P C342 100P C343 100P Z204 Z205 Z206 Z207 Z200 Z199 Z198 Z197 Z221 Z224 Z223 Z222 Z227 Z226 Z225 C515 0.1U Z218 Z217 5 6 7 8 4 3 2 1 U29 AT24C02 NC VGAVSYNC# PWR_DETECT TXD_PBS F32 PWR_DETECT U1TX PBS_SCL +3V3SB VGAHSYNC# 5VSB +3V3SB PBS_SDA ADIN2 LED_RED GPIO_4 PBS_SDA +3V3SB Z215 IR_MCU CWSS CEC_OUT CEC1 ADIN3 KEY F35 +3V3SB U1RX R718 0R NC 5V_M CEC1 Z214 +3V3SB B E C Q54 BT3906 +3V3SB 12/24V_AUDIO 12_M 4K7 R438 Z230 Z229 OIRI_IS TXD_PBS +3V3SB MODE PBS_SDA PBS_SCL Z234 Z231 +3V3SB Z220 +3V3SB +3V3SB +3V3SB +3V3SB POWERON/OFF CEC_IN ADIN4 PBS_SCL Z216 MCU_RESET CWSS RXD_PBS F36 PC_H PC_V TO_STB OIRI_IS F100 2 1 R125 B11 MCU Stand-by 18520_510_090312.eps 090312

标签:

版权声明

1. 本站所有素材,仅限学习交流,仅展示部分内容,如需查看完整内容,请下载原文件。
2. 会员在本站下载的所有素材,只拥有使用权,著作权归原作者所有。
3. 所有素材,未经合法授权,请勿用于商业用途,会员不得以任何形式发布、传播、复制、转售该素材,否则一律封号处理。
4. 如果素材损害你的权益请联系客服QQ:77594475 处理。